Основным свойством декстранового геля, как хроматографического материала, является способность разделять вещества согласно размерам молекул. Крупные молекулы при хроматографии не проникают в частицы геля и элюируются в свободном объеме, т.е. в свободном пространстве между частицами геля. Применяя сефадексы (молселекты) разных типов с разными размерами частиц и изменяя условия хроматографии; гель-фильтрацию на сефадексах (молселектах) можно использовать для разделения смесей в зависимости от молекулярной массы, для определения чистоты веществ, а также в целях обессоливания и концентрирования растворов высокомолекулярных соединений и др.
Расчеты показывают, что на сефадексе Г-25 (молселекте Г-25) молекулы массой 5600 уже будут элюировать в свободном объеме, а соли и органические вещества с молекулярной массой в пределах 1000 проникают в частицы декстранового геля, обладая коэффициентом распределения 0,7-1,0. Это позволяет сравнительно легко отделить с помощью сефадекса Г-25 (молселекта Г-25) соли и низкомолекулярные органические примеси из растворов белков и других молекул.
![]() |
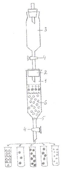
Рисунок 3. Схема устройства для гель-фильтрации.
1-колонка; 2-пробирка со стеклянной трубкой; 3-капельница, содержащая элюирующий раствор; 4-зажим; 5-кружок фильтровальной бумаги; 6-поверхность суспензии геля; 7-изотонический раствор NaCl; 8-смесь фракционируемых веществ.
⌂-вода; •-Hb; +-изотонический раствор NaCl; о-молселект.
Ход работы. Предварительно производят подготовку сефадекса (молселекта) и наполняют колонку. Для этого около 50 г сефадекса Г-25 (молселекта Г-25), достаточного для заполнения 7-8 колонок, необходимо суспендировать в стакане 0,1% растворе хлористого натрия (около 400 мл) и оставить для набухания на двое суток. Затем раствор соли из стакана слить, залить дистиллированной водой, суспензию сефадекса (молселекта) взболтать, дать осесть основной массе геля, а воду с неосевшими частицами слить. Отделение мелких частиц сефадекса повторить 4-5 раз.
Колонку размеров 2x10 см закрепить в штативе в строго вертикальном положении, на дно колонки поместить диск из плексигласа с отверстием и сверху на него опустить кружок фильтровальной бумаги. Колонку на 2/3 объема заполнить водой и в остальную часть постепенно вливать суспензию сефадекса высотой 2-3 см, начать медленно профильтровывать воду, продолжая добавление сефадекса. После образования слоя геля 5-6 см наполнение колонки прекратить, колонку закрыть и над слоем сефадекса поместить кружок фильтровальной бумаги. При наполнении колонки следить, чтобы в колонке не оставалось пузырьков воздуха, и над гелем был слой жидкости.
Для проведения работы открыть подготовленную колонку, дать профильтроваться воде над слоем геля и наслоить пипеткой 1-1,5 мл 2% раствора гемоглобина или другого окрашенного белка с равным объемом 3% раствора хлористого натрия. Как только раствор профильтруется (войдет в гель), ополоснуть стенки колонки небольшим количеством дистиллированной воды и начать элюирование дистиллированной водой со скоростью тока примерно 0,5 мл в минуту. Элюаты объемом 2,5-3 мл собирать в отдельные пробирки. Через 12-15 минут элюирование прекратить, в исходном растворе белка и в отдельных фракциях элюата проверить наличие белка по окраске содержимого пробирок и наличие хлоридов реакцией с азотнокислым серебром (см. выполнение предыдущей работы).







