При эксплуатации стационарных, поршневых и разборных компрессоров должны выполняться требования «Правил устройства и безопасной эксплуатации стационарных компрессорных установок, воздухопроводов и газопроводов».
В основу работы компрессорных установок, где рабочим телом является сжатый воздух, положен политропный процесс. При сжатии газов в компрессоре растет температура при сохранении P•Vm= const.
Температура возрастает согласно выражению:
(3.3.11),
где Т1 и Т2 - абсолютная температура газа соответственно до сжатия и после, К;
Р1иР2 – давление газа соответственно до и после сжатия, Па;
m – показатель политропности.
Из табл3.3.3 видно, что с увеличением давления более 0,5 МПа в компрессорной установке температура повышается до 230˚С, что создает пожаро- и взрывоопасность при попадании в компрессор горючей пыли, волокон или смазок.
Таблица. 3.3.3
Изменения температуры в компрессоре в зависимости от давления.
| Давление, МПа | 0,1 | 0,2 | 0,3 | 0,5 | 0,6 | 1,0 | 2,0 | 5,0 | |
| Температура, ˚С |
Взрывы при работе компрессоров могут возникать вследствие:
|
|
|
превышения давления сжатия нормативного;
превышения температуры нагревания и образования взрывоопасных смесей продуктов разложения масел смазки с кислородом воздуха;
нарушения требований эксплуатации профилактического ремонта;
нарушения графика очистки от нагара;
засасывания в компрессор взрывоопасных газов, пыли, волокон, масел и т.д.
Так, при попадании в компрессор низкотемпературных масел при концентрации в воздухе 6-11%, взрыв возможен под давлением 0.05 МПа и при температуре 200˚С.
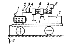
Для достижения безопасной эксплуатации компрессорных установок они должны быть оснащены (рис.3.3.10):
- манометрами (один рабочий, второй контрольный), термометрами и термопарами на каждой ступени компрессора;
манометрами и термометрами для контроля давления и температуры масел смазки при автоматической смазке;
предохранительными клапанами на каждой ступени компрессора;
аварийной сигнализацией и автоматикой отключения компрессора при превышении температуры и давления выше допустимых значений, запорной арматурой, системой дистанционного управления и контроля за компрессорной установкой.
В качестве профилактических мер необходимо:
своевременное удаление нагара и отложений цилиндров и рабочих камер компрессора (нагар и отложения удаляют каждые 6 месяцев). Нагар и отложения удаляются путем пропарки нанесения 2-3% раствора сульфатного или метилового раствора и затем очисткой;
применение специальных термостойких, очищенных смазочных материалов с температурой воспламенения на 75% выше температуры рабочих газов компрессора (масла должны быть окислительно стойкими);
|
|
|
применение надежной многоступенчатой системы воздушного и водяного охлаждения; Воздушное охлаждение, как правило, используется в компрессорах низкого давления малой производительности, а также в компрессорах холодильных установок. В компрессорах высокого давления используется водяное охлаждение. В установках должны быть установлены системы автоматики, отключающие компрессор при превышении критической температуры охлаждения (температура охлаждающей воды выходящей из компрессора не должна быть более 40˚С);
применение многоступенчатой очистки всасывания воздуха (фильтры керамические, фетровые и др.) Забор всасываемого воздуха воздушного компрессора должен производиться снаружи здания компрессорной станции на высоте не менее 3м от уровня земли;
во избежание искрообразования из-за образования разрядов статического электричества, компрессоры заземляют. Фильтры подлежат периодически, в установленные сроки, очистке или замене;
для исключения гидравлических ударов предусмотрено отведение конденсата из холодильника компрессора и контроль влажности поступающего воздуха в компрессор (влажность не более 60%).
в компрессорных установках, снабженных холодильниками, должны быть предусмотрены влагомаслоотделители на трубопроводе между холодильником и воздухосборником. Воздухосборники требуется ежедневно продувать через предохранительный клапан и спускать накопившиеся масло и влагу. Для проведения периодических осмотров и ремонта воздухосборников, необходимо предусматривать возможность их отключение от сети (масло и вода при продувке должны отводиться в специальные приемники). Воздухосборник должен быть установлен на фундамент вне здания компрессорной и должен быть огражден.
для снижения пожарной опасности в кислородных компрессорах для смазки используют дистиллированную воду с добавлением глицерина или применяют самосмазывающиеся втулки и кольца по графиту (смазка маслом запрещается);
защита кислородных компрессоров от попадания масла достигается установлением между ползунком и цилиндрами предсальника с маслосъемными кольцами;
безопасность в работе компрессоров для сжатия ацетилена достигается медленным ходом поршня (не более 0,7 – 0,9 м/с) и системой охлаждения (температура на линии нагнетания не должна быть более 50˚С);
Для смазки цилиндров компрессоров для сжатия хлора используется серная кислота (моногидрат);
Компрессорные установки производительностью более 20 м3/мин должны размещаться в отдельных зданиях. В помещениях компрессорных установок не допускается размещение оборудования и аппаратуры не связанной с работой компрессора. Общие размеры помещения должны удовлетворять условиям безопасного обслуживания и ремонта оборудования компрессорной установки. Проходы в машинном зале должны быть не менее 1,5м., а расстояние между оборудованием и стенами здания – не менее 1м. Полы помещения компрессорной должны быть ровными и с нескользящей поверхностью, маслоустойчивы, и выполняться из несгораемого износоустойчивого материала. Двери и окна помещений компрессорной должны открываться наружу.
Помещение компрессорной должно быть оборудовано вытяжной вентиляцией, телефоном. Оборудование в машинном зале должно быть установлено с учетом снижения вибрации на конструктивные элементы, а также компенсирующие устройства. Все движущиеся и вращающиеся части компрессоров, электродвигатели и другие механизмы должны быть ограждены с установкой знаков безопасности.
Аммиачные холодильные установки размещаются в отдельных помещениях с выполнением противопожарных норм. Газоподобный аммиак является весьма токсичным, предельно-допустимая концентрация в воздухе рабочей зоны равна 20мг/м3.
|
|
|

Рис.3.3.10 Схема передвижной компрессорной установки:
1-рессивер; 2-манометр; 3-предохранительный клапан; 4-термометр; 5-холодильник; 6-фильтр; 7- двигатель; 8-рабочее заземлене.
Жидкий аммиак вызывает тяжелые ожоги кожи, ожоги глаз, и может вызвать слепоту. Поэтому в помещениях с возможной утечкой аммиака устанавливаются индикаторы, оповещающие персонал о достижении аварийной концентрации аммиака в воздухе, и включении вытяжной вентиляции. Вход в помещение посторонним лицам запрещен, на входе должна быть установлена табличка: «Вход посторонним запрещен». Запрещено хранение в машинном отделении компрессорной бензина, керосина и других легковоспламеняющихся жидкостей.
Важнейшее значение в поддержании безопасной эксплуатации компрессорных установок отводится подготовке персонала и аттестации, которая проводится не реже 1 раз в 12 месяцев, а также проведению технического освидетельствования и эксплуатация компрессорных установок, проведению профилактического ремонта в установленные сроки.
В соответствии с «Правилами…» администрация предприятия обязана назначить ответственное лицо за техническое состояние компрессорных установок и разработать инструкции по безопасному обслуживанию компрессорных установок и вывесить их на рабочем месте.