Организация безопасной эксплуатации газового хозяйства на территории лечебного учреждения и в подразделениях регламентируется «Правилами безопасности систем газораспределения и газопотребления (ПБ 12.529-03, утв. Постановлением Госгортехнадзора России от 18.03.2003 № 9).
Баллоны со сжиженным газом представляют собой стальные цилиндрические сосуды с полукруглым днищем и горловиной для ввертывания запорных вентилей.
Надзор за сосудами осуществляет заведующий лабораторией или другое лицо, прошедшее производственное обучение в УПК, инструктаж по безопасному обслуживанию сосудов со сжиженным газом.
На верхней части баллона, предназначенного для хранения и перевозки сжиженного газа, должны быть отчетливо нанесены следующие данные:
- товарный знак завода-изготовителя;
- номер баллона;
- фактическая масса порожнего баллона (кг);
- дата (месяц, год) изготовления и следующего освидетельствования;
- рабочее давление;
- пробное гидравлическое давление;
- емкость баллона (л);
- клеймо ОТК завода;
|
|
|
- номер стандарта для баллонов свыше 55 л.
К выполнению работ при эксплуатации баллонов со сжатыми газами допускаются лица не моложе 18 лет, прошедшие предварительное медицинское освидетельствование, а также прошедшие обучение и аттестацию и имеющие соответствующее свидетельство.
Лицо, осуществляющее надзор за сосудами, работающими под давлением, и лицо, ответственное за исправное состояние и безопасное действие баллонов, должны назначаться приказом по учреждению из числа инженерно-технических работников, прошедших проверку знаний в установленном порядке.
При допуске к эксплуатации сосудов, работающих под давлением, проводится инструктаж по технике безопасности при приеме на работу, затем повторная проверка знаний производится:
- для ответственных лиц – не реже 1 раза в 3 года;
- для обслуживающего персонала – не реже 1 раза в 12 месяцев.
Персонал должен быть обеспечен спецодеждой, средствами защиты в соответствии с установленными нормами.
Персонал обязан владеть приемами оказания первой помощи пострадавшим.
Требования безопасности при хранении и транспортировке баллонов:
- наполненные баллоны с насаженными на них башмаками должны храниться в вертикальном положении. Для предохранения от падения баллоны должны устанавливаться в специально оборудованные гнезда, клетки или ограждаться барьером;
- баллоны, не имеющие башмаков, могут храниться в горизонтальном положении на деревянных рамах или стеллажах. При хранении на открытых площадках разрешается укладывать баллоны с башмаками в штабеля с прокладками из веревки, деревянных брусьев или резины между горизонтальными рядами;
|
|
|
- при укладке баллонов в штабеля высота последних не должна превышать 1,5 м. Вентили баллонов должны быть обращены в одну сторону;
- баллоны с ядовитыми газами должны храниться в специальных закрытых помещениях. Баллоны со всеми другими газами могут храниться как в специальных помещениях, так и на открытом воздухе, в последнем случае они должны быть защищены от атмосферных осадков и солнечных лучей. Складское хранение в одном помещении баллонов с кислородом и горючими газами запрещается;
- перемещение баллонов в здании и по территории должно производиться на специально приспособленных для этого тележках или при помощи других устройств. Переносить баллоны на руках и плечах запрещается;
- перевозка наполненных газом баллонов должна производиться на рессорном транспорте или на автокарах в горизонтальном положении обязательно с прокладками между баллонов. В качестве прокладок могут применяться деревянные бруски с вырезанными гнездами для баллонов, а также веревочные или резиновые кольца толщиной не менее 25 мм (по два кольца на баллон) или другие прокладки, предохраняющие баллоны от ударов друг о друга. Все баллоны во время перевозки должны укладываться вентилями в одну сторону;
- разрешается перевозка баллонов в специальных контейнерах, а также без контейнеров в вертикальном положении обязательно с прокладками между ними и ограждением от возможного падения;
- при погрузке, разгрузке, транспортировке и хранении баллонов должны применяться меры, предотвращающие падение и загрязнение баллонов;
- транспортировка и хранение стандартных баллонов емкостью более 12 л должна производиться с навернутыми колпаками;
- при транспортировке и хранении баллонов с ядовитыми и горючими газами на боковых штуцерах вентилей должны быть представлены заглушки. Баллоны, наполненные газами, при перевозке должны быть предохранены от действия солнечных лучей;
- не допускается попадание на кислородные баллоны масла (жира);
- подъем баллонов с газами на высоту производить в специальных контейнерах. Запрещается переносить баллоны по лестницам или стремянкам.
Перед началом эксплуатации баллона со сжатыми газами необходимо установить его в вертикальном положении и укрепить при помощи хомута, цепи или другим способом. Установка и крепление баллона должны исключать возможность случайного падения при эксплуатации.
Перед началом работы необходимо проверить наличие исправных, своевременно испытанных манометров.
Манометры сосудов, работающих под давлением, не допускаются к работе в случае, когда:
- отсутствует пломба или клеймо с отметкой о проведении проверки;
- стрелка при его отключении не возвращается к нулевому положению шкалы на величину, превышающую половину допускаемой погрешности для данного прибора;
- разбито стекло или имеются повреждения, которые могут отразиться на правильности его показаний.
Проверка манометров с их опломбированием или клеймением производится не реже 1 раза в 12 месяцев. Кроме того, не реже 1 раза в 6 месяцев владельцем сосуда производится дополнительная проверка рабочих манометров контрольными с записью результатов в журнал контрольных проверок. При отсутствии контрольного манометра дополнительную проверку следует производить проверенным рабочим манометром, имеющим с проверяемым одинаковую шкалу и класс точности.
Перед открытием вентиля баллона необходимо убедиться в надежности подсоединения шлангов, штуцеров, трубопроводов.
Перемещение баллонов в пределах рабочего места производить путем кантовки в слегка наклоненном положении, навинчивать и свинчивать колпак с баллона специальным ключом, не применяя при этом ударные или другие инструменты. Если колпак не свинчивается, отправить баллон на склад.
|
|
|
Баллоны с газом, устанавливаемые в помещениях, должны находиться от радиаторов отопления и других отопительных приборов на расстоянии не менее 1 м, а от источников тепла с открытым огнем – не менее 5 м.
Выпуск газов из баллонов в емкости с меньшим давлением должен производиться через редуктор, предназначенный исключительно для этого газа и окрашенный в соответствующий цвет. Камера низкого давления редуктора должна иметь манометр и пружинный предохранительный клапан, отрегулированный на соответствующее разрешенное давление в емкости, в которую перепускается газ.
Вентили баллонов следует открывать и закрывать вручную, либо специальным ключом из мягкого цветного металла с рукояткой длиной не более 200 мм. При открывании вентиля персонал должен находиться в стороне от выходного отверстия вентиля.
Запрещается допускать соприкосновения баллонов с газами с электропроводкой.
Очистка и окраска наполненных газом баллонов, а также укрепление колец на их горловинах запрещается.
Опорожненные баллоны следует оберегать от механических повреждений и загрязнения.
Эксплуатация сосуда запрещается:
- при обнаружении дефектов в корпусе баллонов (раковин, трещин, изменении формы, вмятин глубиной более 10% толщины стенки);
- при высокой температуре окружающей среды (свыше 30º С);
- при нагреве баллона солнечными лучами или теплоизлучающими поверхностями;
- при разгерметизации сосуда;
- при неисправности контрольно-измерительной аппаратуры;
- при возникновении пожара, непосредственно угрожающего сосуду;
- после падения сосуда под давлением или ударов по нему.
Персоналу запрещается:
- самовольное присоединение или отсоединение баллонов со сжиженным газом к газопроводной арматуре;
- производить любой ремонт сосудов для сжиженного газа в помещении или своими силами, без привлечения соответствующих специалистов.
При возникновении аварийной ситуации следует:
- прекратить работу;
- предупредить работающих об опасности;
|
|
|
- при несчастных случаях с людьми оказать им доврачебную помощь, немедленно поставить в известность руководителя работ, сохранить обстановку, при которой произошел несчастный случай.
ОТВЕТ: СМОТРИ ВЫШЕ ВОПРОС №4
Виды ТО СИЗОД, их периодичность.

Требования предъявляемые к базам ГДЗС и контрольным постам ГДЗС.





Подготовка СИЗОД к работе после применения.
- после работы в СИЗОД подготовка его к работе предусматривает:
- промывку, просушку, переснаряжение СИЗОД;
- проведение проверки № 2;
- заполнение журнала регистрации проверок № 2 и личной карточки газодымозащитника;
- укладка СИЗОД на пожарный автомобиль или размещение на контрольном посту ГДЗС.
Техника безопасности при ведении боевых действий в СИЗОД.
Правила работы и требования безопасности
4.4.3.1. На каждое звено ГДЗС выставляется пост безопасности.
4.4.3.2. Место расположения поста безопасности определяется оперативными должностными лицами на пожаре в непосредственной близости от места входа звена ГДЗС в непригодную для дыхания среду (на свежем воздухе).
4.4.3.3. При пожарах в тоннелях метро, подземных сооружениях большой протяженности (площади), в зданиях высотой более девяти этажей, трюмах судов на посту безопасности выставляется одно резервное звено. В других случаях выставляется одно резервное звено ГДЗС на каждые три работающих звена, как правило, на КПП. Количество звеньев ГДЗС, направляемых в непригодную для дыхания среду, определяется РТП.
4.4.3.4. Перед включением в СИЗОД командир звена ГДЗС согласовывает с РТП (или действует по его указанию) необходимость применения средств локальной защиты газодымозащитника и его СИЗОД от повышенных тепловых потоков, а также средств защиты кожи изолирующего типа от воздействия агрессивных сред и сильнодействующих ядовитых веществ.
4.4.3.5. Включение в СИЗОД на месте пожара (учении) проводится на свежем воздухе у места входа в непригодную для дыхания среду на посту безопасности; при отрицательной температуре окружающего воздуха - в теплом помещении или кабине боевого расчета пожарного автомобиля.
4.4.3.6. При продвижении к очагу пожара (месту работы) и возвращении обратно первым следует командир звена ГДЗС, а замыкающим наиболее опытный газодымозащитник (назначается командиром звена).
4.4.3.7. Звено ГДЗС должно возвращаться из непригодной для дыхания среды в полном составе.
4.4.3.8. Продвижение звена ГДЗС в помещениях осуществляется вдоль капитальных стен, запоминая путь следования, с соблюдением мер предосторожности, в том числе обусловленных оперативно-тактическими особенностями объекта пожара.
4.4.3.9. При работе в СИЗОД необходимо оберегать его от непосредственного соприкосновения с открытым пламенем, ударов и повреждений, не допускать снятия маски или оттягивания ее для протирки стекол, не выключаться, даже на короткое время. Выключение из СИЗОД осуществляется по команде командира звена ГДЗС " Звено ГДЗС, из противогазов (дыхательных аппаратов) - ВЫКЛЮЧИСЬ! ".
4.4.3.10. Запрещается звеньям ГДЗС использовать при работе на пожаре лифты, за исключением лифтов, имеющих режим работы "Перевозка пожарных подразделений" по ГОСТ 22011.
4.4.3.11. В целях обеспечения безопасного продвижения звено ГДЗС может использовать пожарные рукава, провод переговорного устройства.
4.4.3.12. При работе в условиях ограниченной видимости (сильном задымлении) идущий впереди командир звена ГДЗС обязан простукивать ломом конструкции перекрытия.
4.4.3.13. При вскрытии дверных проемов личный состав звена ГДЗС должен находиться вне дверного проема и использовать полотно двери для защиты от возможного выброса пламени.
4.4.3.14. При работе в помещениях, заполненных взрывоопасными парами и газами, личный состав звена ГДЗС должен быть обут в резиновые сапоги, не пользоваться выключателями электрофонарей. При продвижении к очагу пожара (месту работы) и обратно, а также в процессе работ должны соблюдаться все меры предосторожности против высекания искр, в том числе при простукивании конструкций помещений.
4.4.3.15. Особенности работы в противогазах и дыхательных аппаратах:
а) при работе в дыхательных аппаратах необходимо:
- применять в средах со СДЯВ дыхательные аппараты с избыточным давлением под маской;
- при исчерпании основного запаса воздуха (для АСВ-2) включить резерв воздуха, для чего перевести рукоятку переключателя резерва из положения "Р" в положение "О" и в составе звена покинуть непригодную для дыхания среду;
- при срабатывании звукового сигнала (для аппарата типа АИР) доложить командиру звена и покинуть в составе звена непригодную для дыхания среду;
- использовать, при необходимости, спасательное устройство, входящее в комплект дыхательного аппарата (типа АИР);
б) при работе в противогазе необходимо:
- не допускать замену баллонов и регенеративных патронов;
- удалять влагу из соединительной коробки через каждые 40-60 минут работы с помощью резиновой груши (при ее наличии);
- продуть противогаз кислородом с помощью байпаса обнаружении подсоса воздуха в систему противогаза из окружающей среды, ухудшения самочувствия и провести проверку исправности дыхательных клапанов. При неисправности дыхательных клапанов для обеспечения выхода на свежий воздух пережимать при каждом выдохе шланг вдоха, а при каждом вдохе - шланг выдоха;
в) при работе в противогазе при отрицательных температурах окружающей среды:
- применять на шлангах и регенеративных патронах теплозащитные чехлы, а также утеплительные манжеты на стекла маски;
- входить в непригодную для дыхания среду только после подогрева дыханием соединительной (клапанной) коробки, дыхательных клапанов и химического поглотителя в регенеративном патроне;
- не рекомендуется дышать холодным воздухом и пить холодную воду сразу после выключения из противогаза.
г) при оказании помощи газодымозащитникам непосредственно в непригодной для дыхания среде необходимо проверить наличие кислорода (воздуха) в баллоне, состояние дыхательных шлангов (дыхательных рукавов), для противогаза дополнительно промыть кислородом при помощи байпаса дыхательный мешок до срабатывания избыточного клапана. При работе в дыхательном аппарате произвести при помощи байпаса дополнительную подачу воздуха под маску пострадавшего, в крайнем случае, переключить его маску с легочным автоматом к дыхательному аппарату (типа АИР) другого газодымозащитника.
Правила проведения разведки при работе в СИЗОД, в различных ситуациях.
Ответ смотри выше в вопросе № 25.
Состав звена ГДЗС и его оснащение.
Звено ГДЗС является первичной тактической единицей ГДЗС. При работе в непригодной для дыхания среде звено ГДЗС должно состоять не менее чем из 3 газодымозащитников, включая командира звена ГДЗС, и иметь однотипные СИЗОД с одинаковым временем защитного действия. В исключительных случаях при проведении работ по спасанию людей по решению руководителя тушения пожара (РТП) и начальника боевого участка (НБУ) состав звена ГДЗС может быть увеличен до 5 или уменьшен до 2 газодымозащитников.
Звено ГДЗС должно состоять из газодымозащитников, несущих службу в одном отделении или карауле. Допускается по решению РТП или НБУ формировать состав звена из газодымозащитников разных подразделений ГПС, при этом у всех газодымозащитников созданного звена ГДЗС должны быть однотипные СИЗОД с одинаковым временем защитного действия. При работе на месте пожара одного караула звено ГДЗС возглавляет начальник караула или командир отделения, при работе одновременно нескольких караулов звенья ГДЗС возглавляют лица начальствующего состава, назначенные РТП или НБУ.
Для выполнения боевой задачи звено ГДЗС должно иметь необходимый минимум оснащения, который предусматривает:
1) средства связи (радиостанция, или переговорное устройство, или иное штатное средство);
2) спасательное устройство, входящее в комплект дыхательного аппарата — одно на каждого газодымозащитника, работающего в дыхательном аппарате типа АИР;
3) средства освещения: групповой фонарь — один на звено ГДЗС и индивидуальный фонарь — на каждого газодымозащитника;
4) пожарную спасательную веревку;
5) средства страховки звена — направляющий трос;
6) лом легкий;лом универсальный.
Звено ГДЗС также берет в разведку первичные средства тушения пожаров (рукавная линия с пожарным стволом, промышленный огнетушитель и т.д.).
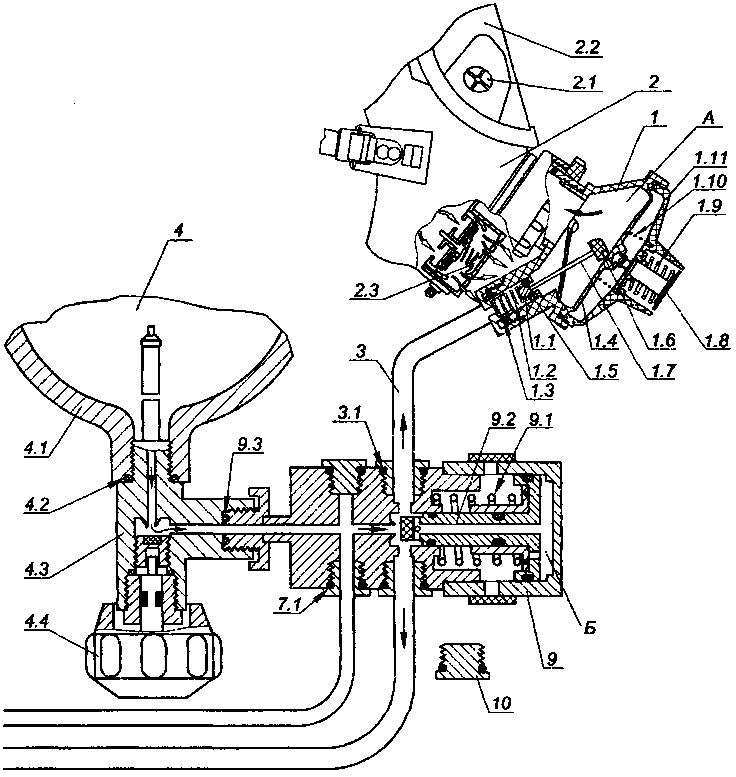
1. Принципиальная схема работы СИЗОД.
Принцип работы представлен на принципиальной схеме аппарата (рисунок 5).
При закрытом вентиле 4.3 клапан 9.2 редуктора 9 открыт усилием пружины 9.1.
При включении в аппарат пользователь открывает вентиль 4.3. Сжатый воздух, содержащийся в баллоне 4.1, через открытый вентиль 4.3 поступает на вход редуктора 9. Одновременно через шланг высокого давления 7 воздух поступает на сигнальное устройство 5.
Под действием давления воздуха, поступающего с входа редуктора в полость Б, пружина 9.1 сжимается и клапан 9.2 закрывается. При отборе воздуха через шланг 3 давление в полости Б понижается и клапан 9.2 под действием пружины 9.1 открывается на определенную величину. Устанавливается равновесное состояние, при котором воздух с давлением, сниженным до рабочей величины, определяемой усилием пружины 9.1, поступает по шлангу 3 на вход легочного автомата 1 и в полость шланга 8.
При отключенном легочном автомате 1 и снятой с лица пользователя маске 2 фиксатор кнопки 1.8 находится в зацеплении с мембраной 1.4, которая усилием пружины 1.9 отведена в крайнее нерабочее положение и не касается опоры 1.6, а клапан 1.1 закрыт усилием пружины 1.2. При надетой на лицо маске в процессе первого вдоха в полости А легочного автомата 1 образуется разрежение. Под действием разности давлений мембрана 1.4 прогибается, соскакивает с фиксатора кнопки 1.8 и переходит в рабочее состояние. Под действием усилия пружины 1.10 мембрана 1.4 нажимает на опору 1.6 и через шток 1.7 отклоняет клапан 1.1 от седла 1.5.
При отказе легочного автомата или необходимости продувки подма-сочного пространства клапан 1.1 открывается нажатием и удерживанием кнопки байпаса 1.8, при этом воздух идет непрерывным потоком. Следует помнить, что включение дополнительной непрерывной подачи уменьшает время защитного действия аппарата.
Легочный автомат при помощи пружины 1.10 совместно с подпружиненным клапаном выдоха 2.3 маски создает поток воздуха с избыточным давлением, который поступает вначале на панорамное стекло 2.2, предотвращая его запотевание, а затем через клапаны вдоха 2.1 - в органы дыхания человека.
При выдохе в полости А давление повышается, воздействуя на мембрану 1.4 и пружину 1.10, сжимая ее. При этом клапан 1.1 закрывается, прекращая подачу воздуха, а клапан выдоха 2.3 открывается и выпускает выдыхаемый воздух в окружающую среду.
Отключение легочного автомата происходит при нажатии на кнопку 1.8 до упора, при этом фиксатор кнопки входит в гнездо мембраны 1.4, а усилие пружины 1.9 отводит мембрану в крайнее нерабочее положение.
При понижении давления воздуха в баллоне в процессе работы до минимально допустимого значения срабатывает сигнальное устройство 5, звуковым сигналом предупреждающее пользователя аппарата о том, что в баллоне остался только резервный запас

| 1. Легочный автомат: 1.1 - клапан; 1.2, 1.9, 1.10 - пружина; 1.4 - мембрана; 1.5 - седло клапана; 1.6 - опора; 1.7 - шток; 1.8 - кнопка; 1.11 -крышка. 2. Маска: 2.1 - клапаны вдоха; 2.2 - панорамное стекло; 2.3 - клапан выдоха. Шланг легочного автомата: 3.1 - кольцо. 4. Баллон с вентилем: 4.1 - баллон; 4.2 - кольцо 9В8.684.919; 4.3 - вентиль; 4.4 - маховичок. 5. Сигнальное устройство: 5.1 - манометр; 5.2 - стопорное кольцо; 5.3 - кольцо; 5.4 - свисток. 6. Спасательное устройство: 6.1 - маска; 6.2 - легочный автомат; 6.3 - шланг; 6.4 -ниппель; 6.5 - кнопка байпаса. | ||
![]() | ||
7 Шланг высокого давления: 7.1 -кольцо. 8 Шланг для подключения спасательного устройства: 8.1 - замок; 8.2- втулка; 8.3- клапан; 8.4- шарик. 9. Редуктор: 9.1 - пружина; 9.2- клапан; 9,3- кольцо 9В8.684.909. С 10. Пробка. (Устанавливается в зависимости от комплектации взамен поз. 8). А,Б- полости; - вдыхаемый воздух; - выдыхаемый воздух. Рисунок 5 - Принципиальная схема аппарата АП "Север" | ||
воздуха и необходимо выйти из зоны с непригодной для дыхания газовой средой.
При необходимости эвакуации пострадавшего спасательное устройство 6 извлекается из сумки, ниппель 6.4 шланга 6.3 пристыковывается к замку 8.1 шланга 8. Маска спасательного устройства 6.1 надевается на голову пострадавшего, в результате чего последний получает возможность дышать воздухом из аппарата.
Для отстыковки спасательного устройства необходимо сжать ответные части быстроразъемного замка, оттянуть втулку 8.2 и разъединить шланги.

- вдыхаемый воздух;
- выдыхаемый воздух. Рисунок 5 -