Изображение обращенной к наблюдателю видимой части поверхности предмета называют видом.
По содержанию и характеру выполнения виды разделяются на основные, дополнительные и местные.
ГОСТ 2.305—68 устанавливает следующее название основных видов, получаемых на основных плоскостях проекций (см. рис. 165): 7 — вид спереди (главный вид); 2 — вид сверху; 3 — вид слева;
4 — вид справа; 5 — вид снизу; б — вид сзади. В практике более широко применяются три вида: вид спереди, вид сверху и вид слева.
Основные виды обычно располагаются в проекционной связи между собой. В этом случае название видов на чертеже надписывать не нужно.
Если какой-либо вид смещен относительно главного изображения, проекционная связь его с главным видом нарушена, то над этим видом выполняют надпись по типу «А» (рис. 166).

Рис. 166

Рис. 167

Рис. 168
Направление взгляда должно быть указано стрелкой, обозначенной той же прописной буквой русского алфавита, что и в надписи над видом. Соотношение размеров стрелок, указывающих направление взгляда, должно соответствовать приведенным на рис. 167.
|
|
|
Если виды находятся в проекционной связи между собой, но разделены какими-либо изображениями или расположены не на одном листе, то над ними также выполняют надпись по типу «А».
Дополнительный вид получается путем проецирования предмета или части его на дополнительную плоскость проекций, не параллельную основным плоскостям (рис. 168). Такое изображение необходимо выполнять в том случае, когда какая-либо часть предмета не изображена без искажения формы или размеров на основных плоскостях проекций. Дополнительная плоскость проекций в этом случае может быть расположена перпендикулярно одной из основных плоскостей проекций.
Когда дополнительный вид расположен в непосредственной проекционной связи с соответствующим основным видом, обозначать его не нужно (рис. 168, а). В остальных случаях дополнительный вид должен быть отмечен на чертеже надписью типа «А» (рис. 168, б), а у свя-

Рис. 169
занного с дополнительным видом изображения нужно поставить стрелку, указывающую направление взгляда, с соответствующим буквенным обозначением.
Дополнительный вид можно повернуть, сохраняя при этом положение, принятое для данного предмета на главном изображении. При этом к надписи нужно добавить знак (рис. 168, в).
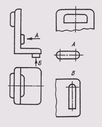
Местным видом называется изображение отдельного, ограниченного места поверхности предмета (рис. 169).
Если местный вид расположен в непосредственной проекционной связи с соответствующими изображениями, то его не обозначают. В остальных случаях местные виды обозначаются подобно видам дополнительным, местный вид может быть ограничен линией обрыва («Б» на рис. 169).






