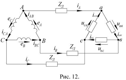
Соединение источника и приемника треугольником изображено на рис. 12.

Положительным направлением э.д.с. и токов источника считается направление от концов фазных обмоток к их началам (по обходу треугольника против часовой стрелки). Напряжения и токи приемника и напряжения источника направлены от начала каждой фазы к ее концу (т.е. по часовой стрелке). При соединении треугольником линейные и фазные напряжения одинаковы
. Линейные токи направлены от источника к приемнику и, как видно из схемы рис. 12, определяются через фазные токи в соответствии с первым законом Кирхгофа следующими выражениями:

При симметричной нагрузке 
Векторная диаграмма напряжения источника строится по известному фазному (линейному) напряжению в виде равностороннего треугольника (рис. 13).
Если сопротивления линейных проводов считать равными нулю, то векторная диаграмма напряжений приемника будет одинаковой с векторной диаграммой источника.
Для построения векторной диаграммы токов удобнее фазные напряжения приемника изобразить в виде звезды, сохраняя при этом сдвиг фаз напряжений. Векторы фазных токов приемника откладывают от точки 0 (рис. 14) с соответствующими сдвигами по фазе относительно фазных напряжений. Тогда линейные токи определяются, согласно первому закону Кирхгофа, векторами
,
,
. При активном характере нагрузки векторы фазных токов совпадают по фазе с соответствующими фазными напряжениями.
|
|
|






