1.1. Устройство внутренних водостоков.
Отвод атмосферных осадков (дождевых и талых вод) с крыш современных зданий осуществляется по трубопроводам, расположенным внутри здания (внутренним водостокам). Область применения их регламентируется соответствующими разделами СНиП 2.01-85).
Внутренние водостоки состоят из следующих основных элементов: водосточных воронок (6.1), отводных трубопроводов (стояков, коллекторов, выпусков) и устройств для осмотра и прочистки (ревизий, прочисток, смотровых колодцев).
| 6.1. Водосточные воронки Водосточные воронки - это устройства, которые используются для приема дождевых и талых вод с покрытий крыш и перепуска их во внутреннюю специальную сеть К2. |
Внутренние водостоки должны удалять воду с кровли зданий как при положительных, так и при отрицательных температурах внешнего воздуха. Схема сети внутренних водостоков может быть перпендикулярной и пересеченной (рис. 6.1) и с открытым выпуском (рис. 6.2).При перпендикулярной схеме каждый стояк оборудуется отдельным выпуском, отводящим дождевые воды.
|
|
|

Рис. 6.1. Схемы внутренних водостоков перпендикулярная (а) и пересеченная (б):
1 — водосточная воронка; 2 - стояк; 3 - прочистка и ревизия; 4 - отступ; 5 - выпуск; 6 - приемный колодец; 7 - гидрозатвор; 8 - открытый выпуск; 9,10 - подвесная линия; 11 - сборный трубопровод.

6.2. Устройство открытого выпуска:
а) - общий вид гидрозатвора; б) - гидрозатвор на стальной трубе випуска; в) гидрозатвор из фасонных частей (тройник, отступление);
1- канализация, упор; 2,3, - ревизия, прочистка; 4 -
водосточный стояк; 5 - патрубок для теплого воздуха; 6 - гидрозатвор


Рис. 6.3. Водосточные воронки и присоединение их к водосточной сети.
а - воронка Вр7А; бы - воронка Вр9; в - воронка Вр8; г - присоединение воронки к сети;1 - колпак; 2 - сетка; 3 - вставной стакан; 4 - глухая гайка; 5 - прижимное кольцо; 6 - хомут; 7 - сливной патрубок; 8 - битум; 9 - цементный раствор; 10 - железобетон; 11 - гидроизоляция; 12 - фартук; 13 - прочистка; 14 - минеральная вата.
При устройстве внутренних водостоков особого значения приобретает установка водосточных воронок. Для жилых зданий с плоскими неэксплуатируемыми крышами рекомендуется применять воронки Вр7А с патрубком условным проходом Dу 80 мм (рис. 6.3 а). Для промышленных и общественных зданий с плоскими крышами, заполняемыми водой, нужно применять воронки Вр9 с патрубком условным проходом 100 мм (рис.6.3, б), а не заполняемыми водой — воронки Вр8 (рис. 6.3, в). Для зданий с плоскими эксплуатируемыми крышами применяют воронки Вр10 с Dу = 150 мм.
Водосточные воронки устанавливают с таким расчетом, чтобы максимальное расстояние между ними не превышала 48 м. Воронки нужно размещать по обе стороны брандмауэрних стен и температурных швов, в сниженных участках эндов, по внутренней продольной оси здания (по одной воронке на каждую секцию здания). Уклон участков крыши и ендов в сторону воронок должен быть не меньше 0,005. Воронки закладывают в перекрытие с устройством водонепроницаемого соединения. Гидроизоляционный пласт покрытия крыши выпускают на фланец сливного патрубка, зажимают сверху фланцем приемных сеток и заливают битумной мастикой. Под фланец воронки иногда дополнительно подкладывают рубероид и мешковину, пропитанную битумом. Присоединение воронок к стоякам выполняют с помощью компенсационных раструбов с эластичной прокладкой (рис. 6.3, г).
|
|
|
Наибольшая пропускная способность водосточных воронок при условном проходе патрубка 80 мм составляет 5 л/с, 100 мм - 12 л/с, 150 мм - 35 л/с. Пропускная способность водосточных стояков соответственно составляет 10; 20 и 50 л/с, стояков условным проходом 200 мм - 80 л/с. Для водостоков в основном применяют чугунные (ненапорные и напорные), пластмассовые и асбестоцементные трубы, в порядке исключения (на горизонтальных подвесных линиях - рис. 6.3, г) используют стальные трубы.
Водосточные стояки, как правило, прокладывают в отопительных помещениях лестничных клеток, в коридорах и других подсобных помещениях зданий. Прокладка стояков может быть открытой (по стенам, фермам, колонам) или скрытым (в бороздах внутренних стен зданий, в коробах, шахтах). Замоноличевание труб в стенные панели не допускается.
Длина выпуска от стояка до колодца дворовой сети при диаметре трубы 100 мм и более не должна превышать 10 м. Заложение выпуска в фундаменте здания выполняется аналогично заложению канализационного выпуска. Открытый выпуск (рис. 6.2) в месте сечения с внешней стеной фундамента здания изолируют минеральной ватой пластом не менее 50 мм с заделкой отверстия с обеих сторон цементным раствором.
1.2. Расчет внутренних водостоков.
Расчет внутренних водостоков сводится к определению расчетного расхода дождевых вод и проверки пропускной способности отдельных участков сети.
Расчетный расход дождевых вод qрасч л/с, определяют по формулам:
для плоских крыш (6.2) (с уклоном меньше 1,5%):
qрасч= Fq20/10000;
| 6.2. Плоские крыши Плоские крыши — это условное разделение крыш для расчета внутренних водостоков — крыши с уклоном меньше 1, 5% |
для скатных крыш (6.3) (с уклоном 1,5% и более):
qрасч= Fq5/10000;
| 6.3. Скатные крыши Скатные крыши — это условное разделение крыш для расчета внутренних водостоков — крыши с уклоном больше 1, 5% |
| 6.4. Интенсивность дождей. Интенсивность дождей - это условная величина расхода дождя в л/с с га продолжительностью 5 или 20 мин. И зависит от географического расположения територии, т.е. климатическая характеристика дождевых осадков. |
где F — площадь водосбора, q20, q5 — интенсивность дождей (6.4.), л/с с 1 га, продолжительностью соответственно 5 минут(изолинии значений q20 приведены на рис.6.4.
q5 = 4n * q20
(здесь n — климатологический параметр, значение которого приведен на рис.6.5)
| Стальные трубы | Чугунные | трубы | |||
| условный мм | проход, | A1 (для Q, м3/с) | условный проход, мм | A1 (для Q, м3/с) | |
| 32 950 000 | 13 360 | ||||
| 8 809 000 | |||||
| 1 643 000 | 339,1 | ||||
| 436 700 | 103,5 | ||||
| 93 860 | 39,54 | ||||
| 44 530 | 8,608 | ||||
| 11 080 | 2,638 | ||||
| 2 893 | 0,9863 | ||||
| 0,2191 | |||||
| 86,2 | 0,1187 | ||||
| 33,9 | 0,06782 |
.
Таблица 6.1. Удельные сопротивления A1 для расчета водопроводных труб
q5 = 4n * q20
(здесь n — климатологический параметр, значение которого приведен на рис.6.5)
Пропускную способность системы, т.е. максимальный расчетный расход, л/с, при напорном режиме можно определять по формуле:
|
|
|
q = 
где H — напор в системе, м, равный разности отметок верха покрытия в воронке и осью выпуска или осью самотечного трубопровода; So — полное сопротивление системы, м * с2/л2, равный сумме сопротивлений по длине всех участков труб и местных сопротивлений фасонных частей труб, включая сопротивления воронки и выпуска.
Полное сопротивление системы определяют по формуле:
S0= Аl l + Am Σ?
где Аl — удельное сопротивление по длине трубопроводов (6.5) (табл. 6.1.) l — длина
трубопроводов, м; Ам — удельное местное сопротивление (при ξ = 1), который принимается в зависимости от диаметра трубопровода:
d, мм... 50 75 80 100 150 200
Ам, м * с2/л2.. 0,013 0,0026 0,002 0,00083 0,000165 0,000052
?? - сумма коэффициентов местных сопротивлений, включая вход в воронку и выпуск (эти коэффициенты приведены в табл. 6.2.)
Величина q должна быть не меньше приток воды к воронке, определяемого по формуле (6.2) или (6.3).
Примечание. При скоростях, меньших 1,2 м/с, значение A1 умножают
на поправочный коэффициент Кп
Скорость, м/с.. 0,2 0,3 0,4 0,5 0,6 0,7 0,8 0,9 1 1,1
Коэффициент КП..1,41 1,28 1,2 1,15 1,115 1,085 1,06 1,04 1,03 1,015
| 6.5. Удельное сопротивление по длине трубопроводов Удельное сопротивление по длине трубопроводов — это потери напора на гидравлическое трение при пропуске расхода 1 м3/с через 1 м трубопровода определенного диаметра и материала. |
Таблица 6.2.
Коэфициенты местных сопротивлений внутренних водостоков
| Фасонная часть | Коэфициент ξ |
| Приемная воронка | 1, 5-1,6 |
| Отвод чугунный канализационный: 90в 135в | 0,65 0,45 |
| Отступ | |
| Тройник: «на прямой проход» «на поворот» «косой» | 0,25 0,9 0,8 |
| Крестовина: «прямая» «косая» | 1,2 1,5 |
| Гидравлический затвор: чугунный двухоборотный стальной сварной |

Рис.6.4. Значение q20 для Украины. Рис.6.5. Значение параметра n для Украины.
2.3. Примеры монтажа внутренних водостоков.
На рис.6.6-6.9 представлены примеры монтажа внутренних водостоков.

Рис. 6.6. Водостоки на плане крыши.
1-водосток; 2- канализационные стояки К1; 3-вентиляционные шахты.

Рис. 6.7. Присоединение воронок к водосточной сети.
1-водосточная воронка; 2- компенсирующие стыки
|
|
|

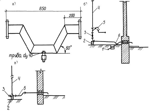
Рис. 6.8. Выпуск водостоков на отмостку при расчетной температуре
внешнего воздуха к (-5ос).
1-воронка; 2- водосточный стояк; 3- бетонный или кирпичный упор; 4- термоизоляция;
5- цементное покрытие.

Рис. 5.9. Выпуск водостоков на отмостку при расчетной температуре
внешнего воздуха от (-5) к (-25)
1-ревизия; 2-стояк водосточный К2; 3-тройник прямой 100х50; 4 - кран;
5-труба стальная водогазопроводная d=32 мм; 6- пробки; 7-тройник d=32 мм;
8-сифон с ревизией; 9-заглушка чугунная; 10-упор бетонный; 11- тройник прямой 100х100; 12- колено; 13-тройник двухраструбный.
На прямолинейных участках подвесных трубопроводов диаметром Dтр принимают такие наибольшие расстояния Lмакс между прочистными устройствами:
Dтр, мм……………....50 100-150 200 и больше
Lмакс, м...……………10-1515-2025
§2Испытание и прием санитарно-технических систем и устройств.
Испытание систем и прием их в эксплуатацию проводят после окончания монтажных работ. Системы подвергают испытанию на герметичность закладки трубопроводов (при скрытой прокладке) и наложению изоляции.
Гидравлическое испытание (6.6) напорных систем производят по ГОСТ3845-75 давлением, которое превышает рабочее давление на 0,5 Мпа, но не более I Мпа, на протяжении 10 минут. За этот период времени давление в трубопроводах не должно снижаться более чем на 0,1 Мпа.
| 6.6. Гидравлическое испытание Гидравлическое испытание - это процесс испытания герметичности, т.е. пригодности к эксплуатации системы давлением, больше нормального эксплуатационного (рабочего) давления воды - для напорных систем (водопровода) или заполнение безнапорных систем (канализации) с проверкой на отсутствие протечек. |
В процессе испытания систем проверяют исправность водоразборных кранов, смывных устройств, запорной арматуры (ГОСТ 356-88) и т.д. Испытание систем оформляют актами. Испытание и прием в эксплуатацию санитарно-технических систем в условиях минусовых температур (зимний период) проводят после введения в действие системы отопления.
При приеме смонтированных санитарно-технических систем предъявляется следующая документация:
1) чертежи и документы согласований на дополнительные работы
и изменения, допущенные при монтаже;
2) акты приемки скрытых работ;
3) паспорта оборудования и акты испытаний монтажных деталей
и конструкций:
4) акты испытаний на давление.
В процессе приема проверяют соответствие выполненных работ утвержденному проекту, прочность креплений, правильность уклонов и отсутствие протечек. После приема каждой системы составляют акты, в которых указывают все выявленные отступления от утвержденного проекта, результаты испытания систем (гидравлического, пневматического), характеристику рабочего состояния оборудования и установок (насосов, электродвигателей и т.п.), качество выполненных монтажных работ, перечень дефектов, недоделок и неполадок с указанием сроков их устранения.
Канализационные стояки (особенно участки скрытой прокладки) подвергают испытанию давлением не более 0,08 Мпа путем заполнения их водой на высоту этажа.
Сети внутренних водостоков подвергают испытанию при положительной внешней температуре путем наполнения их водой к уровню наивысшей отметки водосточной воронки.
Испытание и прием насосных установок проводят в процессе обкатки подшипников, пят, сальников и других элементов при постоянной температуре (не выше 80° С) Результаты испытаний оформляют актом.
Водопроводные вводы подвергают гидравлическому или пневматическому испытанию (6.7.) давлением на 0,5 Мпа выше рабочего. После испытания ввод промывают чистой водой со скоростью потока 2-3 м/с, потом подвергают обеззараживанию на протяжении 24 ч хлорной водой, которая содержит 20 мг/л активного хлора и снова промывают чистой водой.
| 6.7. Пневматическое испытание Пневматическое испытание - это процесс испытания герметичности, т.е. пригодности к эксплуатации системы давлением, больше нормального эксплуатационного (рабочего) давления воздуха - для сетей водопровода. Фиксируется падение давления за 10 мин. |
§3. Организация эксплуатации санитарно-технических систем.
Ремонт санитарно-технических систем выполняет технический персонал, который находится в штате эксплуатационной службы.
В жилых зданиях ремонтные работы в некоторых случаях выполняют дежурные слесаря-сантехники по заявкам, которые поступают в жилищно-эксплуатационную контору (ЖЭК) от населения, с оплатой труда по повременно-премиальной системе.
В ряде городов применяют подрядный метод по договорам ЖЭК с ремонтно-строительными управлениями (РСУ) райжилуправлений, в которые входят участки прорабов, закрепленные за отдельными ЖЭК. Этот метод приводит к эфективному использованию материально-технической базы РБУ, создает более квалифицированные инженерно-технические кадры.
В данное время приобретает распространение раздельная эксплуатация санитарно-технических систем соответствующими специализированными организациями (по водоснабжению и канализации, по теплоснабжению). Например, техническая эксплуатация внутренних систем водоснабжения и канализации передана объединениям «Водоканал», которые организовывают службы с отдельными эксплуатационными участками в зависимости от числа обслуженных объектов. Службы осуществляют профилактический и текущий ремонт, а также контроль за состоянием систем и оборудования; выполняют заявки населения.