Подошвой эти мыши взаимодействуют с поверхностью, по которой движутся. При таком взаимодействии движение самой мыши преобразуется в ее alter ego - курсор на экране.
Этот класс мышей может иметь контактный и оптический датчики. Схема проводной механической мыши с оптическим датчиком показана на рисунке 1:

Здесь 1 - резиновый шар; 2 - ролики, прижимаются к шару и передают его движение на круги с прорезями 3 - по горизонтали и вертикали, соответственно; 4 - фотодатчик, принимает луч; 5 - светодиод, излучает луч; 6 - провод; 7 - кнопки.
Рисунок 1
Порядок, в котором освещаются фоточувствительные элементы 4, определяет направление перемещения мыши; частота освещения - скорость перемещения. Совокупность элементов 3, 4, 5 образует датчик.
Современные мыши могут иметь от 2 до 3 кнопок (на рисунке 1 показаны только 2): левая кнопка связана собственно с фиксацией курсора на экране или выбором какой-либо опции, правая - с выводом на экран контекстного меню, а треть (необязательная) применяется для создания игр или для игры. Иногда мыши снабжаются колесиком для скроллинга (движения изображения на экране). которое располагается между двумя кнопками.
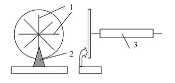
Помимо оптического, может быть контактный датчик. Тогда на схеме, показанной на рисунке 1, элементы с номерами от 3 до 5 заменяются другими, которые в совокупности образуют новый вид датчика (его фронтальный вид и вид сбоку показаны на рисунке 2):

1 - контакты (выступающие ребра), изготавливаются печатным способом;
2 - неподвижный контакт;
3 - ролик (аналогичен ролику с рисунка 1).
Рисунок 2






