1.5.1 Расчет осадки основания ленточного фундамента методом послойного суммирования
Для расчета осадки методом послойного суммирования грунт ниже уровня подошвы фундамента делится на элементарные слои толщиной
i≤0,4 ∙ b = (м)
Определяется природное напряжение на уровне подошвы фундамента
szg,i=g’II∙d = (КПа)
Определяется напряжение в грунте от внешней нагрузки
Af=b∙1м= (м2)
pII=N/Af = (КПа)
Дополнительное напряжение на уровне подошвы фундамента
szp,i=p II -szg,0= (КПа)
Дальнейшие вычисления проводятся в табличной форме по формулам:
Коэффициент рассеивания напряжения a определяется исходя из значения h=l/b
и x=2z/b (т.1 прил.2 СП 22.13330.2011)
Значения дополнительных напряжений в каждом i-м слое находится по формуле:
szpi = szp,0 ∙ a
szgi=szgi-1 + i∙gII i
Среднее значение дополнительных напряжений в каждом элементарном слое
szp,m¢=(szpi-1 +szpi)/2, кПа
Нижняя граница (подошва) сжимаемой толщи грунта находится на такой отметке, где выполняется условие: 0,2szg > szpi
Таблица 8
| Грунт | № слоев | i, м | szg,i, кПа | Z,м | z=2z/b | a | szp,i кПа | szp,m¢ кПа | Sszp,m |
| - | |||||||||
Осадка основания фундамента:
(м)
b=0,8
Осадка сравнивается с предельной осадкой (см. прил.4 СП 22.13330.2011)
S = (см) £ Su= 10 (см)
Вывод: ___________________________________________________________
Схема к расчету осадки методом послойного суммирования: Рисунок 4

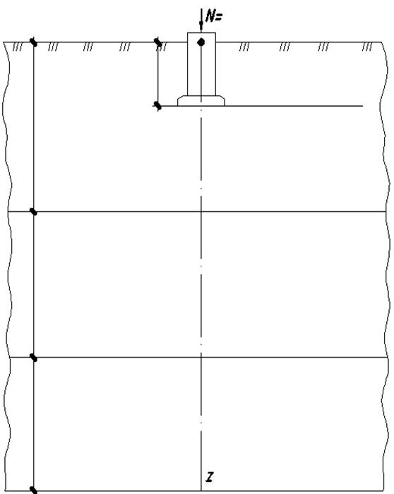
1.5.2 Расчет осадки основания столбчатого фундамента методом послойного суммирования
Для расчета осадки методом послойного суммирования грунт ниже уровня подошвы фундамента делится на элементарные слои толщиной
i≤0,4 ∙ b = (м)
Определяется природное напряжение на уровне подошвы фундамента
szg,i=g’II∙d = (КПа)
Определяется напряжение в грунте от внешней нагрузки
Af=b∙l= (м2)
pII=N/Af = (КПа)
Дополнительное напряжение на уровне подошвы фундамента
szp,i=p II -szg,0= (КПа)
Дальнейшие вычисления проводятся в табличной форме по формулам:
Коэффициент рассеивания напряжения a определяется исходя из значения h=l/b
и x=2z/b (т.1 прил.2 СП 22.13330.2011)
Значения дополнительных напряжений в каждом i-м слое находится по формуле:
szpi = szp,0 ∙ a
szgi=szgi-1 + i∙gII i
Среднее значение дополнительных напряжений в каждом элементарном слое
szp,m¢=(szpi-1 +szpi)/2, кПа
Нижняя граница (подошва) сжимаемой толщи грунта находится на такой отметке, где выполняется условие: 0,2szg > szpi
Таблица 9
| Грунт | № Слоев | i, м | szg,i, кПа | Z,м | z=2z/b | a | szp,i кПа | szp,m¢ кПа | Sszp,m |
| - | |||||||||
Осадка основания фундамента:
(м)
b=0,8
Осадка сравнивается с предельной осадкой (см. прил.4 СП 22.13330.2011)
S = (см) £ Su= 10 (см)
Вывод: ___________________________________________________________
Схема к расчету осадки методом послойного суммирования: Рисунок 5







