4.7.1 В случаях необходимости укладки рельсовых плетей при температуре рельсов ниже оптимальной более чем на 50С, следует использовать принудительные способы ввода плетей в оптимальную температуру закрепления.
Принудительные способы ввода плетей в оптимальную температуру закрепления также применяются:
перед сваркой эксплуатируемых плетей, ранее уложенных и закрепленных при температуре ниже оптимальной более, чем на 50С;
при восстановлении оптимальной температуры закрепления плетей, подверженных угону или на участках, где плети восстанавливались сваркой, при температурах ниже оптимальной температуры закрепления более, чем на 50С.
4.7.2 Принудительный ввод плетей в оптимальную температуру закрепления выполняется с использованием гидравлических натяжных устройств (ГНУ) или нагревательных установок, работающих на жидком или других видах топлива, или при одновременном воздействии на путь гидравлического натяжного устройства и нагревательной установки.
4.7.3 Основным условием применения гидравлических натяжных устройств и нагревательных установок является обеспечение снижения сопротивлений перемещениям плетей и равномерность их удлинения.
|
|
|
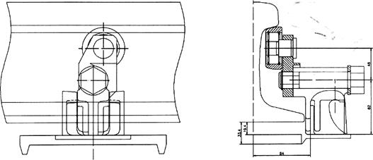
4.7.4 При использовании ГНУ для снижения сопротивлений перемещению плети в прямых и в кривых участках пути радиусами 800 м и более могут быть использованы парные пластины, роликовые опоры. Указанные средства применяются независимо от типа скреплений. В кривых участках пути радиусами менее 800 м при скреплениях ЖБР-65, ЖБР-65ПШ, ЖБР-65Ш, и ЖБР-65ПШМ необходимо использовать опорные, рисунок 4.8, и боковые ролики, рисунок 4.9. Опорные ролики устанавливаются на каждой 15ой шпале, а боковые: в кривых радиусами 500÷799 м - на каждой 15ой , 350÷499 - на каждой 10ой и 250÷349 -на каждой 6ой шпале. Возможно использование сочетания: парные пластины или роликовые опоры и боковые ролики (в кривых радиусами менее 800 м).

Рисунок 4.8 Опорный ролик для скреплений ЖБР-65, ЖБР-65ПШ, ЖБР-65Ш и ЖБР-65ПШМ (по проекту ПТКБ ОП-15)

Рисунок 4.9 Боковой ролик для скреплений ЖБР-65, ЖБР-65ПШ, ЖБР-65Ш и ЖБР-65ПШМ (по проекту ПТКБ ОП-17)
На участках со скреплениями АРС-4 при принудительном вводе плетей в оптимальную температуру закрепления для снятия сопротивлений перемещениям плети в кривых радиусами менее 800 м применяются специальные опорные ролики, схема установки которых в рабочее положение на шпале (с одной стороны рельса) приведена на рисунке 4.10.
![]() |
1 – рычаг; 2 – ось станины; 3 – бандаж; 4 – станина ролика; 5, 6, 7 – кольца;
8 – подшипник; 9 -шайба
|
|
|
Рисунок 4.10 Опорный ролик для скрепления АРС-4 (по проекту ПТКБ ОП-65)
Опорные ролики устанавливаются на стойки анкера: в кривых радиусами 500÷799 м - на каждой 15-ой, 350÷499 м - на каждой 10-ой, 250÷349 м - на каждой 6-ой шпале.
При отсутствии опорных и боковых роликов для участков со скреплениями ЖБР и опорных роликов для участков со скреплениями АРС независимо от плана линии плети вывешиваются на парные полиэтиленовые пластины или катучие роликовые опоры.
При принудительном вводе плетей в оптимальную температуру закрепления с использованием нагревательных установок необходимо обеспечить сохранность неметаллических элементов промежуточных скреплений при воздействии на них пламени горелок. Для этого плети на каждой 15ой шпале вывешиваются на парные пластины, из которых нижняя толщиной 5÷6 мм должна быть выполнена из полиэтилена или другого материала с коэффициентом трения по стали не более 0,1÷0,12, а верхняя металлическая, толщиной 2,5÷3 мм.
4.7.5 Перед началом работ с использованием ГНУ необходимо определить план линии на участках бесстыкового пути, где плети планируется вводить в оптимальную температуру закрепления, наличие средств для снятия сопротивлений перемещениям плети, включающих парные пластины, ролики диаметром 20¸22 мм, специальные ролики для скреплений типа ЖБР, АРС-4, установить ожидаемую температуру рельсов при производстве работ, выполнить расчеты по определению изменения длины плети DL, растягивающего усилия Nр и длин анкерных участков.
4.7.6 В прямых и кривых радиусами 800 м и более при наличии парных пластин или роликов диаметром 20÷22 мм, а также в кривых радиусами 500÷799 м при наличии опорных и боковых роликов для скреплений типа ЖБР-65 и опорных роликов для АРС-4, плети длиной 800 м и менее вводятся в оптимальную температуру закрепления при перепадах температуры плети относительно оптимальной не более 250С с растяжением плети в одном направлении.
В кривых участках пути при отсутствии специальных роликов для скреплений типа АРС-4, ЖБР-65 и др. необходимо дополнительно встряхивать плети ударным механизмом с клиновым упором.
При наличии на плети S-образных и одиночных кривых радиусом 499 м и менее, ввод плетей длиной более 650 м производится полуплетями.
4.7.7 Удлинение плетей перед вводом их в оптимальную температуру закрепления определяется по формуле:
,
| где | a | - коэффициент температурного расширения рельсовой стали, равный 0,0000118; |
| L | - длина плети, мм; | |
| Dt | - перепад температуры рельсовой плети при проведении работ относительно планируемой температуры закрепления, 0С. |
Усилия для создания расчетных удлинений в плетях (Nt) определяются из условия:
Np = Nt +N',
| где | Nt | - усилия, необходимые для растяжения плети, определяемые из условия Nt = a ЕF. Dt, |
| N' | - усилия, необходимые для преодоления сопротивления перемещению плети при ее удлинении, принимаемое равным 0,1. Nt; | |
| Е | - модуль упругости рельсовой стали, Е =2,1.105 МПа (2,1. 106 кг/см2); | |
| F | - площадь поперечного сечения рельса, см2. |
Длина анкерного участка со стороны неподвижного торцевого сечения конца плети определяется по формуле
, м
| где | r | - погонное сопротивление сдвигу рельсошпальной решетки в балласте по одной рельсовой нити. В уплотненном балласте r = 12 кН/м, а в неуплотненном – 7 кН/м. |
Длина анкерного участка в месте установки ГНУ со стороны подвижного конца плети определяется из условия
, м
4.7.8 Анкерные участки должны размещаться вне плети, вводимой в оптимальную температуру закрепления, и, как правило, со стороны неподвижного конца включать уравнительный пролет и часть примыкающей к нему плети. Анкерный участок со стороны подвижного конца также может включать уравнительный пролет и часть примыкающей к нему плети. При отсутствии уравнительного пролета анкерный участок полностью будет размещаться на примыкающей плети. В пределах анкерных участков стыковые болты и шурупы скреплений должны быть затянуты с нормативным моментом затяжки, а монорегулятор скреплений АРС-4 установлен на четвертую позицию. Балластная призма заполнена и уплотнена. При перепаде температуры закрепления плети относительно температуры ее при производстве работ на 200С и более обычные стыковые болты в пределах анкерных участков необходимо заменить на высокопрочные и затянуть их крутящим моментом 1100 Н.м.
|
|
|
4.7.9 Для контроля равномерности удлинения плети на подошву рельса в створе с краем подкладки (скрепления КБ-65, ЖБР-65ПШМ ЖБР-65ПШ), в створе с боковой гранью упорной скобы (скрепления ЖБР-65, ЖБР-65Ш, W-30) и боковой грани анкера АРС-4 и Pandrol-350 наносят через каждые 50 м контрольные риски на плетях, а затем расчетные, смещения которых относительно контрольных определяются в соответствии с п. 4.6.3 настоящей Инструкции.
После совпадения расчетных рисок на рельсе с контрольными сечениями на шпалах (±3 мм), плети должны быть закреплены.
4.7.10 Плеть закрепляют от ее подвижного конца к неподвижному. Для более точного фиксирования температуры закрепление плетей осуществляется на протяжении Nр/r +5 м подвижного конца плети - на каждой шпале и на каждой 2÷5-ой шпалах - на остальном протяжении, после чего снимают ГНУ, собирают стыки и открывают движение поездов со скоростью в соответствии с Инструкцией по обеспечению безопасности движения при производстве путевых работ. Затем плети закрепляют на остальных шпалах и отменяют предупреждение об уменьшении скорости движения поездов.
4.7.11 Нагревательные установки применяют при удлинении плетей длиной 800 м и менее. Нагрев плетей осуществляется в одном направлении от неподвижного конца к подвижному. При длинах плетей более 800 м, но не более 1600 м, нагрев плетей осуществляется полуплетями от середины плети.
При длине плетей 800 м и менее анкерный участок устраивается на уравнительном пролете, при необходимости с заходом на соседнюю плеть. Длина анкерного участка определяется с учетом сил сопротивления при удлинении нагреваемой плети, которые для плети длиной 800 м, вывешенной на парные пластины, в сумме не превышают 100÷150 кН, т.е. достаточно в зоне уравнительного пролета затянуть с нормативной затяжкой стыковые болты и подтянуть до нормативного значения шурупы (болты) промежуточных рельсовых скреплений.
|
|
|
4.7.12 При нагреве плети вывешиваются на каждой 15-ой шпале на парные пластины, нижняя из которых толщиной 5÷6 мм полиэтиленовая, а верхняя толщиной 2÷2,5 мм - металлическая или подвесные ролики.
4.7.13 После разбивки плети на участки длиной 50 м, нанесения на них контрольных и расчетных сечений приступают к нагреву плетей.
В процессе нагрева отслеживается совпадение расчетных рисок на плети с контрольными на шпале. При их несовпадении уменьшается рабочая скорость движения нагревательной установки, используется ударный механизм с клиновым упором и с его помощью добиваются, чтобы расчетные риски на рельсовой плети совпали с контрольными на шпале.
Закрепление плетей при нагреве производится вслед за нагревательной установкой.
4.7.14 Работы по вводу плетей в оптимальную температуру с использованием натяжных устройств и нагревательных установок должны быть занесены в Журналы учета коротких плетей, где должны быть указаны дата проведения работ, температура рельсовых плетей в момент проведения работ, расчетные и фактические удлинения плетей и полученная температура закрепления плетей, которая также наносится на концы плетей, и способ ввода плетей в оптимальную температуру закрепления.
