Растения из семейства Мятликовые, или Злаковые (Poaceae, Graminea), а попросту говоря, злаки, настолько широко распространены, что встречаются почти во всех растительных сообществах. В различных типах леса, на лугах, в степях, в пустынях, по берегам рек и водоемов растут многочисленные виды растений этого семейства. Между тем мало кто из любителей природы разбирается в злаках.
Школьная программа предусматривает изучение лишь «азов», начальных сведений о растениях. Знаний и умений, полученных в школе, вполне достаточно для общего развития учащихся, но слишком мало для занятий натуралистической работой, изучения природы, ее охраны, а также для участия в сельскохозяйственной деятельности. В первую очередь это относится к определению видов злаков: пользуясь определителями растений и школьными знаниями по биологии, юннаты могут достаточно уверенно определять их лишь при наличии генеративных побегов с колосьями или метелками.
Проблема состоит в том, что с помощью обычных определителей невозможно определить большинство растений, когда они еще не приступили к цветению или уже отцвели и рассыпали свои семена. А как определить злаки после косьбы, когда остаются только нижние части растений?
Во многих случаях отличать один вид злака от другого необходимо с весны до осени. Помимо генеративных (цветущих и плодоносящих) побегов злаки образуют много вегетативных побегов, несущих только листья. Агроном, например, должен отличать еще до колошения, т.е. по листьям, пшеницу от ржи, рожь от ячменя, ячмень от овса и т.д.
Виды дикорастущих злаков значительно различаются по хозяйственной ценности. Одни злаки являются ценными кормовыми растениями (мятлик луговой, овсяница луговая, тимофеевка луговая и др.), другие характеризуются низкими кормовыми качествами (щучка дернистая, вейник наземный, белоус торчащий и др.). Есть среди злаков и виды, вызывающие отравление (плевел опьяняющий, молиния голубая и др.).
Многие злаки являются злостными сорняками, причем способы борьбы с ними часто зависят от их видов. Некоторые злаки являются растениями-индикаторами: по ним можно судить об определенной степени увлажнения, богатства или кислотности почвы. Таким образом, злак злаку рознь, и необходимо уметь надежно их распознавать.
Злаки, так же как осоки, ивы, зонтичные, мхи, традиционно относятся к «трудным» для определения группам растений.
Многие считают, что нецветущие злаки определять невозможно, и не видят в этом ничего зазорного. Некоторые юннаты присылают на конкурсы исследовательские работы по флористическому анализу своего края и не приводят в списках видов ни одного злака (не может быть, чтобы в лесной или степной зоне на достаточно большой территории не встретились злаки, особенно на открытых пространствах). Бывает, что даже при описании луга, названного в работе «разнотравно-злаковым», в общем списке видов растений не приводится ни одного вида злака. В результате ценность таких исследовательских работ значительно снижается, а часто вообще нельзя говорить о том, что внесен какой-то вклад в изучение природы родного края, – такие флористические и геоботанические исследования выглядят неполноценными и недостоверными.
На самом же деле виды злаков можно распознавать даже в нецветущем состоянии. Ведь это только на первый взгляд они «близнецы-братья», а если познакомиться с ними поближе, то станет ясно, что существует множество признаков, критериев, по которым различаются виды злаков.
Принимая во внимание вегетативные признаки (особенности строения листьев, стеблей, подземных органов), можно установить характерные черты каждого вида. Значительная часть этих признаков, действительно общая для всех или для большинства злаков, но есть и свои индивидуальные «изюминки», отличающие данный вид от других. Нет разных видов злаков с одинаковым набором признаков, и их определение очень напоминает всем известную забаву с поиском различий между двумя картинками, одинаковыми на первый взгляд.
Необходимо научиться отличать злаки от других травянистых растений, внешне похожих на злаки, имеющих удлиненные, относительно узкие, тонкие листья с параллельными друг другу жилками. Это растения семейства осоковых (осоки, пушицы, камыши и др.), ситниковых (ситники и ожики), шейхцерия и некоторые другие, относящиеся вместе со злаками к классу однодольных. Характерным вегетативным признаком, отличающим злаки от этих растений, является стебель-соломина со вставочным ростом и двурядным расположением листьев, о чем речь пойдет ниже.
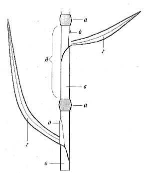
Определение злаков основано на особенностях их внешнего строения (или, как говорят ботаники, морфологических признаках), прежде всего побега. Побег состоит из стебля, являющегося его осевой частью, а также листьев и почек (зародышевых побегов) – так устроен типичный вегетативный побег, а на генеративных побегах находятся еще и органы размножения. Место на стебле, от которого отходит лист, называют узлом, а участок стебля между соседними узлами – междоузлием.
У различных растений встречаются разные типы расположения листьев на стебле. У злаков они расположены очередно двумя рядами. Побеги бывают удлиненными, когда междоузлия имеют большую протяженность, и укороченными с довольно тесно сближенными узлами и очень короткими междоузлиями. Побеги обладают способностью ветвиться – образовывать боковые побеги, ответвления.
Стебель злаков не похож на стебли других растений ни по форме, ни по способу роста. Его называют соломиной, он членистый и за редкими исключениями (кукуруза) полый. Узлы стебля обычно заметно утолщены по сравнению с междоузлиями.
Процесс роста у стебля злаков называют вставочным. В отличие от большинства растений с верхушечным ростом, у которых нарастает в длину только верхушка побега, у злаков в основании каждого междоузлия есть группа клеток, способных интенсивно делиться, т.е. на стебле имеется несколько зон роста. Каждое междоузлие нарастает как бы независимо от соседних междоузлий. В результате молодой побег с короткими междоузлиями превращается в зрелый удлиненный побег.
От стебля отходят листья. Об этом знают все, но не все помнят что то, что в просторечии зовется листом (т.е. зеленая плоская пластинка), на самом деле является лишь частью листа, называемой листовой пластинкой. А сам лист – сложный орган, состоящий из нескольких частей. Помимо упомянутой листовой пластинки у листьев растений бывают основание листа, черешок и пара прилистников.
Рис. 1. Схема строения побега у злаков: а – узел стебля; б – междоузлие стебля; в – листовое влагалище; г – листовая пластинка; д – язычок | Рис. 2. Тип влагалища листа: а – открытое (со свободными краями); б – замкнутое (со сросшимися краями) |
Черешок (осевой орган, соединяющий листовую пластинку со стеблем) у злаков отсутствует, т.е. их листья сидячие. Листовая пластинка у злаков, тем не менее, никогда не отходит непосредственно от узла стебля (рис. 1): с узлом стебля ее соединяет так называемое влагалище листа (рис. 1, 2). Листовая пластинка у злаков всегда отходит выше узла, из которого лист берет свое начало. Междоузлие стебля как бы вложено в более или менее длинную узкую, обычно цилиндрическую, обертку (трубку), переходящую затем в листовую пластинку. Эта обертка и есть влагалище листа.
Если влагалище листа развернуть или расщепить до основания, то его можно расправить, придать ему форму плоской пластинки. При этом мы увидим, что жилки, проходящие по влагалищу, переходят непосредственно в жилки листовой пластинки. Влагалище листа выполняет большинство задач, которые у других растений выполняет черешок (хотя по происхождению оно вовсе не является черешком, а считается видоизмененным основанием листа). Оно обычно довольно плотно обнимает стебель (или влагалища отходящих выше листьев) и препятствует проникновению воды в листовую пазуху, что могло бы привести к загниванию точек роста в узлах стебля.
Влагалище листа может иметь вид сплошной трубки (когда края влагалища полностью срастаются друг с другом), как, например, у перловников, костров и кострецов. Такое листовое влагалище называют замкнутым (рис. 2, б). Но у большинства злаков его края вовсе не смыкаются или смыкаются лишь в самой нижней части влагалища – такое влагалище называют открытым, свободным или незамкнутым (рис. 2, а). Бывают и промежуточные варианты, а у некоторых злаков даже на одном и том же экземпляре растения степень срастания влагалищ отдельных листьев различна (например, у овсяницы красной).
Дополнительной защитой точек роста у злаков служит так называемый язычок, находящийся в месте перехода влагалища в листовую пластинку (рис. 3, 1). Обычно он выглядит как плоский пленчатый или перепончатый вырост (у многих злаков он удлиненный и суженный на конце, как язычок, отсюда и название). Язычок довольно плотно обнимает стебель или влагалище выше расположенного листа, он хорошо виден, если отогнуть листовую пластинку.
При определении видов злаков язычок имеет большое значение, т.к. у разных злаков он устроен по-разному. Поэтому часто приходится как бы просить злак показать свой язычок, как просит это доктор, устанавливая диагноз больному (к слову сказать, признаки, помогающие опознавать виды растений, так и называются – диагностические). Считается, что язычок является по происхождению сросшейся парой прилистников.

Рис. 3. Различные формы язычка у злаков (на рисунке изображена область перехода
листового влагалища в листовую пластинку): а, б, в – пленчатый язычок, г – язычок в виде ряда волосков;
1 – язычок; 2 – основание листовой пластинки; 3 – наружная поверхность листового влагалища;
4 – внутренняя поверхность листового влагалища
Язычок характеризуется прежде всего длиной. Это легко понять, если перед нами злак с длинным и узким язычком (рис. 3, а), например вейник наземный или мятлик обыкновенный. Но у очень многих злаков (например, у мятлика лугового, овсяницы луговой и пырея ползучего) язычок бывает широким и коротким (рис. 3, б). В результате может возникнуть путаница: что следует считать длиной язычка (получается, что он короткий в продольном направлении и в то же время длинный в поперечном направлении). Поэтому лучше говорить не о длине язычка, а о его высоте. Язычок у злаков играет роль забора – преграды для стока воды и ползающих насекомых. Если представить себе забор, имеющий два измерения – высоту и длину, то в данном случае важна именно высота.
Сторона язычка, обращенная к стеблю, называется внутренней стороной, другая же сторона называется наружной, или спинкой. Язычок прикреплен лишь одной, нижней, стороной, а верхний, свободный, край язычка называется кромкой. Кромка язычка обычно ровная, но, у некоторых злаков, например у тимофеевки луговой, она неровная, зазубренная (рис. 3, в).
У подавляющего большинства злаков язычок тонкий, пленчатый или же более плотный, перепончатый, но у некоторых (например, у тростника) язычок имеет вид ряда волосков (рис. 3, г). У ежовника (куриного проса) язычок совсем отсутствует – это редкое исключение, помогающее легко узнать этот сорняк.
В самой верхней своей части, вблизи перехода в листовую пластинку, влагалища некоторых злаков (пшеница, плевел опьяняющий, пырей, некоторые овсяницы и др.) имеют парные боковые выросты – так называемые ушки (рис. 4), у разных видов имеющие разную длину и форму. У большинства злаков ушек нет совсем или они слабо выражены.

Рис. 4. Наличие и отсутствие ушек у злаков: а – ушки отсутствуют (не выражены),
б – закругленные низбегающие ушки, в – заостренные поперечные ушки; 1 – ушки;
2 – листовое влагалище; 3 – листовая пластинка
Листовая пластинка у злаков чаще всего линейная: длина ее во много раз превышает ширину, и очень часто края листовой пластинки на значительном ее протяжении параллельны друг другу (как и жилки). Для каждого вида характерен определенный диапазон значений длины и ширины листовой пластинки.
Самыми широкими листьями обладает тростник (до 4 см или даже больше). На конце листовая пластинка резко или постепенно суживается и заостряется. У мятлика лугового и у некоторых других мятликов верхушка, резко зауживаясь, образует характерную «лодочку». Чаще же листовая пластинка суживается к верхушке постепенно, образуя тонкое остроконечие.
Края листовой пластинки у злаков всегда цельные, но при этом обычно по краю идут мелкие зубчики, хорошо различимые, если воспользоваться увеличительными приборами. Из-за этих зубчиков листовые пластинки по краям в той или иной мере шероховатые, что легко обнаружить, если провести пальцем от верхушки листовой пластинки к ее основанию. По степени шероховатости листья разных злаков сильно различаются. Например, потрогав листья манника большого, можно сильно порезаться, а полевицу побегоносную с гладкими краями листьев рекомендуют для устройства спортивных газонов и детских площадок.
У некоторых злаков (ковыли, некоторые овсяницы) узкие листовые пластинки складываются в длину пополам и становятся совсем тонкими, «щетинистыми».
По тому, каким образом уложена пластинка зачаточного листа в почке, злаки делятся на две группы (рис. 5). Это очень важный признак: именно с него обычно начинается определение злаков в нецветущем состоянии.

Рис. 5. Сложение листовых пластинок злаков:
а, б – свернутое (спиральное) сложение;
в, г – складчатое сложение;
а, в – молодые разворачивающиеся листовые пластинки;
б, г – зрелые развернувшиеся листья
У одних злаков (рис. 5, а, б) зачаточные листовые пластинки свернуты спирально (свернутосложенные). Примеры: рожь, пшеница, ячмень, овес, пырей ползучий, овсяница луговая, кострец безостый, тростник. У другой группы (рис. 5, в, г) зачаточные листовые пластинки сложены пополам вдоль средней линии (складчатосложенные). Примеры: мятлики, манники, овсяница красная, овсец опушенный, плевел многолетний, полевица собачья, гребенник обыкновенный, ежа сборная.
Способ заложения листа проявляется и у зрелых листьев. Особенно хорошо проявляется различие между группами у молодых листьев. У злаков первой группы по средней линии сверху желобка нет; наибольшая ширина пластинки находится не в самом основании, а чуть дальше или вблизи середины пластинки; в засуху листья скручиваются или складываются рыхло вдоль средней линии. У второй группы на верхней поверхности пластинки по средней линии виден (по всей длине пластинки или только на части ее) желобок; наибольшая ширина пластинки наблюдается обычно в самом ее основании; в засуху листовые пластинки складываются пополам. Продольные «половинки» листовых пластинок у этих злаков называют крыльями.
Уже сформировавшаяся листовая пластинка большинства злаков плоская: толщина ее обычно незначительна, и у нее две поверхности – верхняя и нижняя. Верхняя сторона называется также внутренней стороной (она примыкает к стеблю, если плоская листовая пластинка расположена вертикально; эта же сторона находится внутри свернутой или сложенной пластинки), а нижняя сторона,– соответственно наружной.
Если листовая пластинка перегибается, как это часто бывает, то ее нижняя поверхность оказывается сверху. Поэтому, чтобы разобраться в «злаковой геометрии», надо смотреть, как расположена развернутая листовая пластинка относительно стебля. Например, нижняя сторона листовой пластинки у овсяницы луговой блестящая, ярко-зеленая, в отличие от тусклой верхней стороны. Очень часто она перегибается и оказывается обращенной к солнцу именно своей нижней стороной, т.е. нижнюю поверхность мы находим сверху. Но все становится ясным, стоит только разглядеть, какой стороной листовая пластинка обращена к стеблю.
Верхняя сторона листовой пластинки характеризуется выраженностью рельефа. Географы называют рельефом формы земной поверхности: горы, долины и т.д. Рельеф листовой пластинки, разумеется, крайне мелкий, но в лупу у многих злаков на ее верхней стороне отчетливо видны продольные более или менее высокие ребра, образованные механическими тканями, сопровождающими жилки (например, у щучки дернистой), а также бороздки (узкие углубления). Если ребра низкие и плоские, а бороздки неглубокие, то такой рельеф называют сглаженным. Для того чтобы лучше рассмотреть рельеф листовой пластинки, ее надо согнуть в поперечном направлении, и смотреть рельеф на сгибе.
По середине нижней поверхности листовой пластинки у большинства злаков проходит киль – более или менее узкий длинный выступ (аналогично килю, проходящему снизу вдоль днища корабля). Киль образован центральной жилкой листа и сопутствующими ей механическими тканями, обеспечивающими прочность, а в некоторых случаях и другими тканями. Киль иногда может быть выражен и на влагалище листа. Но иногда киль выражен очень слабо, и нижняя поверхность листовой пластинки выглядит ровной, плоской (например, у полевиц).
У некоторых злаков основание листовой пластинки заметно утолщено и при этом оно бывает более светлым, чем листовая пластинка (обычно желтоватым, белесым). Такое утолщенное основание называют мозоликом. Он хорошо заметен, например, у овсяниц.
В зависимости от характера облиствения генеративных побегов выделяют злаки верховые и низовые. У верховых злаков стебель имеет многочисленные листья, расположенные более или менее равномерно снизу доверху. Примеры верховых злаков: костер безостый, пырей ползучий, ежа сборная, лисохвост луговой. У низовых злаков основная масса листьев на стебле сосредоточена в нижних узлах, а выше, ближе к соцветию, листьев очень мало. Кроме того, у них много укороченных вегетативных (нецветущих) побегов, листья которых также расположены в приземном слое. Примеры низовых злаков: щучка дернистая, овсяница овечья, овсяница красная, мятлик луговой. Между типичными верховыми и типичными низовыми злаками располагаются различные промежуточные варианты (овсяница луговая, мятлик дубравный и др.).
В некоторых случаях для определения видов злаков важны признаки, относящиеся к основанию побега. Например, у тимофеевки луговой основание стебля заметно утолщено, у перловников основания побегов одеты чешуевидными безлистными влагалищами, кверху переходящими в укороченные листья.
Стебли по направлению роста у большинства злаков бывают прямостоячими, с вертикальным направлением роста от самого основания (или почти от самого основания побега), как, например, у пырея ползучего, костра безостого, вейника наземного. Но много и таких злаков, у которых побег, называемый восходящим, коленчато изогнут в нижних узлах и лишь выше становится вертикальным (примеры: лисохвост коленчатый, манник наплывающий, мятлик сплюснутый). Одно и то же растение может иметь стебли с разным направлением роста. У полевицы побегоносной стебли генеративных побегов коленчато-восходящие, а вегетативные побеги стелющиеся, с горизонтальным направлением роста. Ползучие надземные побеги можно видеть также у полевицы собачьей и поручейницы водной.
У подавляющего большинства злаков узлы стебля голые, но у коротконожек лесной и перистой, леерсии рисовидной, пырейника собачьего, росички обыкновенной, трищетинников сибирского и желтеющего, цицании водной и аренатерума высокого узлы в той или иной степени опушены волосками.
Для распознавания злаков могут быть использованы и другие особенности строения их надземных органов, например число и цвет жилок листовой пластинки, степень опушения листовых влагалищ и др. Обращая внимание на цвет листовых пластинок, необходимо отмечать цвет и яркость обеих поверхностей – верхней и нижней, потому что у очень многих злаков нижняя сторона по цвету и блеску сильно отличается от верхней (наиболее яркий пример – овсяница луговая).
Итак, мы познакомились с основными признаками побегов злаков, узнали, что у них, оказывается, есть и язычки, и ушки, и спинка, и крылья.
В следующий раз мы рассмотрим особенности кущения злаков, познакомимся с книгами, с помощью которых можно определять злаки, и обсудим, как можно составить собственный определитель злаков по вегетативным признакам.
Тем, кто заинтересовался особенностями вегетативного строения злаков, можно рекомендовать следующую литературу.
Серебрякова Т.И. Типы побегов и эволюция жизненных форм в семействе злаков // Научные доклады высшей школы. Биологические науки. 1967. № 2. С. 61–73.
Серебрякова Т.И. Ветвление и кущение в семействе Poaceae // Ботанический журнал, 1969. Т. 54. № 6. С. 858–871.
Серебрякова Т.И. Морфогенез побегов и эволюция жизненных форм злаков. – М.: Наука, 1971.
Цвелев Н.Н. О направлениях эволюции вегетативных органов злаков (Poaceae) // Проблемы эволюции. 1975. Т. 4. С. 107–117.
Обратимся теперь к рассмотрению жизненных форм злаков. Жизненной формой называют совокупность приспособлений растений к условиям их существования. При выделении жизненных форм злаков первостепенное значение имеют наличие корневищ и варианты кущения. Кущением злаков называют ветвление побегов вблизи поверхности или неглубоко под поверхностью почвы (хотя злак, как мы знаем, не кустарник, а травянистое растение, ветвление выглядит похожим на формирование кустарника). При этом область, в которой происходит ветвление, называют зоной кущения, а сам «кустик» – дерновинкой, или дерновиной.
Разнообразие жизненных форм злаков можно разделить на следующие основные группы.
1. Длиннокорневищные многолетники (рис. 6) имеют длинные ползучие горизонтальные побеги: подземные корневища с видоизмененными чешуевидными листьями (с помощью этих органов злаки разрастаются, размножаясь вегетативным путем). Эти растения не образуют густых «кустиков» (дерновин), их побеги (или небольшие группы побегов, образующие слабо выраженный «кустик») располагаются обычно на заметном расстоянии друг от друга. К этой жизненной форме относятся, например, тростник, бор развесистый, кострец безостый, пырей ползучий, вейник наземный, двукисточник тростниковый, манник большой, полевица гигантская.

Рис. 6. Кострец безостый (костёр безостый). Жизненная форма: длиннокорневищный многолетник.
[Этот и последующие рисунки приведены из книги: Травы и травосмеси для улучшения сенокосов и пастбищ. – М.: Колос, 1971]
2. У рыхлодерновинных (рыхлокустовых) многолетников длинные корневища отсутствуют (междоузлия сближены), зато эти злаки интенсивно ветвятся в основании наземных побегов (рис. 7). Кущение у этих злаков называют вневлагалищным: новый боковой побег, берущий начало от узла стебля, прорывает влагалище, под которым он сначала находился, затем на некотором протяжении нарастает горизонтально, после чего, выпрямившись, растет вертикально вверх. При этом дочерние побеги находятся на некотором расстоянии от материнских. К этой группе относится большинство среднерусских злаков, например овсяница луговая, тимофеевка луговая, вейник тростниковидный, олевица тонкая, лисохвост луговой, мятлик обыкновенный.

Рис. 7. Овсяница луговая. Жизненная форма: рыхлодерновинный (рыхлокустовой) многолетник с вневлагалищным кущением
Между этими двумя группами существует переходная жизненная форма, представленная мятликом луговым: этот злак имеет удлиненные корневища, и в то же время он образует рыхлые дерновинки (рис. 8). К этой же жизненной форме относится и овсяница красная.

Рис. 8. Мятлик луговой. Смешанная жизненная форма между длиннокорневищными и рыхлодерновинными злаками (корневищно-рыхлокустовой многолетник)

Рис. 9. Овсяница желобчатая (типчак). Жизненная форма: плотнодерновинный (плотнокустовой) многолетник с внутривлагалищным кущением
3. Кущение плотнодерновинных (плотнокустовых) многолетников называют внутривлагалищным: новый боковой побег, берущий начало от узла стебля, оставаясь внутри влагалища, растет вертикально вверх. При этом дочерние побеги расположены вплотную к материнским, образуя очень плотный дерн, который крайне трудно раскапывать (рис. 9). В центральных областях России к этой группе злаков относятся, например, щучка дернистая, белоус, луговик извилистый, овсяница овечья и более южные злаки: типчак, тонконог сизый и виды ковыля. У щучки дернистой дерновины, интенсивно разрастаясь, приподнимаются над поверхностью почвы, образуя кочки. В целом плотнодерновинные злаки характерны для более южных областей, особенно для степной зоны.
4. Однолетние злаки живут обычно не более года (хотя некоторые иногда доживают до двух лет). За время вегетации они кустятся, образуя рыхлые дерновинки, но к концу вегетации эти злаки полностью отмирают, образуя перед этим много семян. Вся жизнь яровых однолетних злаков (например, пшеницы) от рождения до смерти проходит в течение одного календарного года. Озимые однолетние злаки (например, рожь), начав свое развитие во второй половине лета или осенью, зимуют в стадии кущения с зелеными листьями и заканчивают свой жизненный цикл уже на следующий год.
К однолетникам относятся, прежде всего, всем известные зерновые культурные злаки. Но к этой же жизненной форме относятся многие сорные злаки: например, ежовник обыкновенный («куриное просо»), метлица, мятлик однолетний, овсюг, плевел опьяняющий. Однолетние злаки можно увидеть в посевах и в нарушенных местообитаниях, в естественных растительных сообществах они встречаются редко.
Все указанные признаки надземной и подземной сфер используются при определении видов злаков по вегетативным признакам. Для этого используют специальные определители, например следующие.
Алексеев Ю.Е., Новиков В.С., Скворцов В.Э., Ловягин С.Н. Определитель растений Нечерноземного центра Европейской России по вегетативным органам. Однодольные растения. – М.: Русский ун-т, 2000. – 192 с.
Виноградова Т.А. Определитель луговых злаковых трав Нечерноземной зоны. – Л.: Колос, 1984. – 112 с.
Голубинцева В.П., Лебедев П.В. Определитель кормовых злаков и бобовых в нецветущем состоянии. 2-е изд. – М.: Учпедгиз, 1959.
Рычин Ю.В. Флора гигрофитов. – М.: Советская наука, 1948. – 448 с.
Флорова В.М., Раменский Л.Г. Определитель растений в нецветущем состоянии для средней части СССР. Том 1. – М.–Л.: Сельхозгиз, 1937. – 431 с.
Хомякова И.М. Лесные травы. – Воронеж: Изд-во ВГУ, 1974. – 176 с.
Штреккер В. Луговые злаки. Определитель луговых злаков в цветущем и нецветущем состоянии с указанием значения их для лугов и пастбищ. – М.–Л.: Сельхозгиз, 1933. – 236 с.
Как правило, определители растений (тем более по вегетативным признакам) становятся библиографической редкостью сразу, как только поступают в продажу. К тому же указанные здесь определители рассчитаны на определенный регион или на определенные типы растительных сообществ. В других условиях они могут подвести, т.к. не содержат виды, распространенные в других регионах или в других местообитаниях. Нужно учесть и то, что признаки растений, относящихся к одному и тому же виду, могут несколько различаться в разных природных зонах. В популярных же определителях растений (которыми особенно любят пользоваться юннаты) приведены обычно далеко не все виды, которые могут встретиться. Поэтому совет таков: попробуйте сами составить определитель злаков по вегетативным признакам для своей местности.
Для этого нужно сперва научиться определять виды злаков, используя генеративные признаки, по обычным определителям растений (разумеется, достаточно полным и надежным!), например, следующим.
Ворошилов В.Н., Скворцов А.К., Тихомиров В.Н. Определитель растений Московской области. – М.: Наука, 1966. – 368 с.
Губанов И.А., Киселева К.В., Новиков В.С., Тихомиров В.Н. Определитель сосудистых растений центра Европейской России. – М.: Аргус, 1995. – 560 с.
Губанов И.А., Киселева К.В., Новиков В.С., Тихомиров В.Н. Иллюстрированный определитель растений Средней России. Т. 1. – М.: Товарищество научных изданий КМК, Институт технологических исследований, 2002. – 526 с.
Маевский П.Ф. Флора средней полосы Европейской части СССР. 9-е изд. – Л.: Колос, 1964. – 880 с.
Рычин Ю.В. Сорные растения. Определитель для средней полосы Европейской части СССР. – М.: Учпедгиз, 1952.
Цвелев Н.Н. Злаки СССР. – Л.: Наука, 1976. – 788 с.
Еще раз подчеркнем, что за пределами Центра России следует использовать местные определители растений, например:
Аверкиев Д.С., Аверкиев В.Д. Определитель растений Горьковской области. – Горький: Волго-Вятское книжное издательство, 1985.
Воробьев Д.Л. и др. Определитель растений Приморья и Приамурья. – М.–Л.: Наука, 1966.
Галушко А.И. Определитель растений сенокосов и пастбищ Северного Кавказа. – Нальчик: Эльбрус, 1964.
Гроссгейм А.А. Определитель растений Кавказа. – Баку: Советская Наука, 1949.
Флора Мурманской области (в 5 томах). – М.–Л.: Изд-во АН СССР, 1956.
Цвелев Н.Н. Определитель сосудистых растений Северо-Западной России (Ленинградская, Псковская, Новгородская области). – СПб.: Изд-во СПб. гос. хим.-фарм. акад., 2000.
С помощью этих определителей находим и распознаем виды злаков в природе, в своей местности. Следует не ограничиваться единичными экземплярами, а изучить хотя бы по несколько представителей одного вида, т.к. разные экземпляры одного и того же вида могут в той или иной степени отличаться друг от друга (прежде всего по количественным признакам: длина, ширина листовой пластинки и т.п.). Из наиболее типичных экземпляров разных видов составляется справочный гербарий. Затем на каждый определенный вид составляются описания-карточки по следующему плану.
1. Общие сведения
Название вида растения.
Местообитание, дата сбора, номер гербарного листа.
2. Стебель
Высота растения.
Направление роста стеблей (прямостоячие, восходящие, лежачие).
Толщина стебля в междоузлиях.
Форма стебля в сечении (цилиндрическая или сплюснутая).
Опушение стебля в междоузлиях.
Опушение узлов стебля.
Шероховатость стебля.
Ветвистость стебля.
Утолщение основания побега.
Характер облиствения генеративных побегов (сосредоточены они в нижней части или расположены равномерно по высоте стебля).
Чешуевидные листья в нижней части побега (их наличие и цвет).
Длина и направление роста вегетативных побегов; удлиненные или укороченные их междоузлия.
3. Листовая пластинка
Способ заложения листовой пластинки в почке.
Длина и ширина листовых пластинок.
Окончание листовой пластинки.
Основание листовой пластинки.
Толщина и жесткость листовых пластинок (консистенция).
Цвет и блеск листовых пластинок с верхней и нижней сторон.
Шероховатость листовых пластинок по краям и по поверхностям.
Рельеф верхней стороны листовой пластинки.
Киль на нижней стороне листовой пластинки.
Опушение листовой пластинки.
Отличаются ли заметно друг от друга листья генеративных и вегетативных побегов?
4. Язычок
Характер язычка (пленчатый, кожистый, в виде ряда волосков или совсем отсутствует).
Высота и форма язычка.
Цельность язычка (край ровный или с бахромками, зубчиками).
Опушение спинки язычка.
5. Листовые влагалища
Открытость листовых влагалищ.
Форма листовых влагалищ (цилиндрическая, плоская, четырехгранная).
Киль листового влагалища.
Шероховатость листовых влагалищ.
Опушение листовых влагалищ.
Рельеф листовых влагалищ.
Цвет листовых влагалищ.
6. Ушки
Наличие или отсутствие ушек.
Длина и форма ушек (острые или закругленные).
7. Жизненная форма
Многолетнее или однолетнее растение?
Корневищное или дерновинное растение?
Длина корневищ, если они есть.
Тип кущения в дерновинах (рыхлокустовой злак с вневлагалищным кущением или плотнокустовой злак с внутривлагалищным кущением).
8. Характеристика генеративных органов (если есть)
Тип соцветия.
Длина и шероховатость веточек метелки.
Направление роста сложного колоса (прямостоячий или поникающий).
Особенности колосков, выраженность остей.
Одновременно с описанием злаков в природе имеет смысл ориентироваться на литературные данные (к которым в то же время следует относиться достаточно критически, т.к. в них встречаются ошибки и противоречия, а также могут сказываться особенности растений тех регионов, где работали авторы). Помимо упомянутых выше определителей, сведения о вегетативных признаках злаков и их рисунки можно найти, например, в следующих изданиях.
Алексеев Ю.Е., Вехов В.Н., Гапочка Г.П. и др. Травянистые растения СССР. В 2-х томах. – М.: Мысль, 1971.
Алексеев Ю.Е., Вахрамеева М.Г., Денисова Л.В. и др. Лесные травянистые растения. Биология и охрана: Справочник. – М.: Агропромиздат, 1988. – 223 с.
Губанов И.А., Киселева К.В., Новиков В.С. и др. Луговые травянистые растения. Биология и охрана: Справочник. – М.: Агропромиздат, 1990. – 183 с.
Дмитриева С.И., Игловиков В.Г., Конюшков Н.С., Раменская В.М. Растения сенокосов и пастбищ. – М.: Колос, 1982.
Ларин И.В., Агабабян Ш.М., Работнов Т.А. Кормовые растения сенокосов и пастбищ СССР. В 3-х томах. – М.–Л.: Сельхозгиз, 1950-1956.
Рожевиц Р.Ю. Злаки. Введение в изучение кормовых и хлебных злаков. – М.–Л.: Сельхозгиз, 1937. – 638 с.
Необходимо отметить, что по одним рисункам злаки определять нельзя, поскольку для неспециалиста они могут выглядеть «на одно лицо». Можно найти похожий рисунок, но на другой странице встретится «еще более похожее» изображение. Может случиться, что изображения злака, который вы определяете, вообще нет в книге, которой вы пользуетесь. Наибольшее количество ошибок при определении растений происходит именно при пользовании рисунками, а не текстом определителя или справочника.
Полезные сведения можно найти и выпусках «Биологической флоры Московской области», издаваемых МГУ им. М.В. Ломоносова: выпуск 1 (белоус торчащий), выпуск 3 (овсяница луговая, ежа сборная, манник большой, полевица гигантская, полевица собачья, полевица столонообразующая, полевица Сырейщикова, полевица тонкая, щучка дернистая), выпуск 5 (костер безостый, щучка извилистая), выпуск 7 (тимофеевка луговая, тимофеевка степная), выпуск 8 (овсяница красная), выпуск 10 (вейник наземный), выпуск 11 (вейник тростниковидный), выпуск 12 (мятлик луговой), выпуск 14 (мятлик обыкновенный, мятлик болотный).
Собрав достаточно полный набор описаний, представляющий разнообразие видов злаков, встречающихся в данной местности, необходимо найти такие признаки, которые помогают наиболее надежно и легко отделить одни группы видов от других. К таким признакам относятся обычно способ заложения листовой пластинки (складчато-сложенные или свернуто-сложенные в почках пластинки), характер язычка, наличие ушек, опушение листовых пластинок и узлов стебля, замкнутость или открытость листовых влагалищ, жизненная форма растения. Разделив по этим признакам злаки на несколько групп, в пределах каждой группы находим отличия одних видов от других. Здесь может использоваться не только обычный для определителей растений дихотомический принцип (теза-антитеза), но и политомический (сразу по нескольким критериям), что значительно убыстряет процесс определения. На конечном этапе построения схемы определения каждому виду соответствует свой индивидуальный набор признаков, отделяющий этот злак от других, похожих на него.
Заметим здесь, что при таком определении каждый вид выступает как отдельная единица, не связанная с родом и другими таксономическими категориями (трибой, подсемейством), поскольку вегетативные признаки не в такой степени соответствуют таксономическому родству, как признаки генеративные, положенные в основу систематики растений. Например, лисохвост луговой гораздо больше внешне похож по вегетативным признакам на тимофеевку луговую, чем на лисохвост коленчатый или лисохвост равный. В свою очередь последние два названных вида лисохвоста по вегетативным признакам напоминают полевицу побегоносную. Основное внимание при построении схемы определения следует уделять не тому, какой злак с каким состоит в родстве, а какой с каким можно спутать.
Сам процесс составления схемы определения требует умения четко систематизировать множество сведений, для этого нужны значительные умственные усилия и творческие способности. Но чем больше времени и усилий потратит автор на составление определителя, тем меньше времени и нервных затрат потребуется читателям на определение. Составление определителя – занятие не из легких (если, конечно, речь идет о хорошем определителе), зато плоды его сладки.
Может сложиться впечатление, что определять злаки слишком сложно. Неужели для распознавания злака требуется исследовать несколько десятков признаков? Вовсе не обязательно! Ведь для того чтобы установить, к какому виду относится определяемый злак, обычно достаточно обратить внимание на небольшое число особенностей его внешнего строения. Однако для определения разных видов приходится обращать внимание на разные моменты.
Так, например, если мы видим, что перед нами длиннокорневищный злак, не образующий дерновин, с замкнутым трубковидным влагалищем, листовыми пластинками без значительного опушения, имеющими наибольшую ширину 4–10 мм (или более) ближе к середине пластинки, можно не сомневаться в том, что это костёр (кострец) безостый. Мы определили его в 5 ходов, и для экономии времени можно уже не обращать внимания на другие признаки. Для определения имеют значение обычно 5–10 признаков. Ежовник же можно узнать сразу, поскольку только у этого злака полностью отсутствует язычок.

Задача определения по вегетативным признакам облегчается также тем, что, начав знакомиться со злаками, можно очень быстро запомнить признаки наиболее часто встречающихся видов, и их можно будет узнавать «с первого взгляда». Тогда подробно рассматривать придется только те злаки, которые не удалось узнать. А такие злаки стоят того, чтобы уделить им больше времени, т.к. ими могут оказаться редкие, интересные виды, и вы можете стать автором ценной флористической находки!
Если речь идет о серьезном исследовании, то необходимо использование научных латинских названий. Ведь только при этом условии будет ясно, о каком растении идет речь. Нечеткостью страдают не только русские народные названия («куриное просо» и т.п.), но часто и иностранные. Например, довольно широко распространено (особенно в торговле семенами) название английского происхождения «райграс». Но существуют, по крайней мере три «райграса»: «английский райграс», он же плевел многолетний (Lolium perenne), и несколько менее известные «итальянский райграс», он же плевел многоцветковый (Lolium multiflorum), и «французский райграс», он же аренатерум высокий (Arrhenatherum elatius). Последний вид, как видим, совсем из другого рода (и совсем не похож на первые два). Естественно, что и применение этих трех «райграсов» различно.
Научные латинские названия растений время от времени ботаники меняют в соответствии с новыми исследованиями и периодически обновляющимся Международным кодексом ботанической номенклатуры, который для ботаников является законом. Поскольку «чехарда» в систематике растений – неизменный атрибут ботанической науки, педагогу желательно проработать тему современной систематики злаков с тем чтобы свободно ориентироваться в этой теме и избавить детей от малополезной траты сил и времени. Современные научные (латинские) названия растений можно найти в сводке Черепанова (Черепанов С.К. Сосудистые растения России и сопредельных государств. – СПб.: Мир и семья, 1995. – 992 с.).
Изучая злаки, мы часто сталкиваемся с различными подходами ботаников к их систематике, наименованию видов злаков. Например, костёр безостый (о котором уже говорилось в этой статье) ранее по латыни именовался Bromus inermis, имел он также синоним Zerna inermis, а ныне его «законное» название Bromopsis inermis. По-русски этот многолетний злак принято сейчас называть не «костер», как раньше, а «кострец» – в отличие от однолетних костров Bromus (хотя изначально русское название рода «костёр», видимо, идет именно от этого злака благодаря его красноватым соцветиям).
Чтобы не запутаться в названиях злаков, нужно завести таблицу, в которой официальному латинскому названию растения соответствовали бы устаревшие латинские синонимы и русские (возможно, и другие национальные) названия. Устаревшие названия тоже надо знать, они живут и «после смерти»: ведь иначе невозможно работать с ботанической литературой прошлых лет. Соответственно, и в самостоятельно составленном определителе желательно приводить все известные названия каждого растения.
Основными препятствиями к усвоению этого материала являются не столько собственно ботанические трудности, сколько неверные психологические установки. Важно убедить учеников в том, что научиться узнавать нецветущие злаки не так уж трудно, если есть желание, и, научившись, приятно чувствовать себя знатоком, которому знакома каждая встречная травинка. А если и возникают трудности, то к ним можно отнестись и с юмором:
Костром безостым вспыхнул луг,
Но дыма нет с огнем,
Поскольку так, любезный друг,
Вид злака мы зовем!
Метелки солнцем в красный цвет
Окрашены едва.
Узнать костёр, даю совет,
Легко, как «дважды два»!
Срослось влагалище листа
В сплошную трубку. Лишь
В верхней части иногда
Ты вырез разглядишь.
Растут побеги у костра
От длинных корневищ.
Увязнуть здесь напрасен страх:
Пройдешь без сапожищ!
Веками рос костёр, пока
Один большой мудрец
Не догадался этот злак
Перекрестить в «кострец».
Ботаник – что с него возьмешь?
«Bromopsis», а не «Bromus»:
Иначе и не назовешь
Сей злак, друг-студиозус.
Ну а корове этот спор
Не портит аппетит:
Поев кострец (или костёр),
Довольная мычит.
Грамотно составленный педагогом и юными натуралистами определитель злаков поможет проводить более полные и достоверные ботанические исследования своей местности, столь необходимые для сохранения природных богатств.
Рис. 1. Схема строения побега у злаков: а – узел стебля; б – междоузлие стебля; в – листовое влагалище; г – листовая пластинка; д – язычок
Рис. 2. Тип влагалища листа: а – открытое (со свободными краями); б – замкнутое (со сросшимися краями) 





