Укладка бетонной смеси осуществляется различными способами, в зависимости от вида бетонируемой конструкции. Укладке бетонной смеси в опалубку должны предшествовать проверочные и подготовительные работы. Проверяют все основные отметки опалубки, правильность ее геометрических размеров. Опалубку очищают от мусора, деревянную опалубку примерно за 1 час до бетонирования поливают водой, наносят антиадгезионную смазку. Проверяют и очищают арматуру, при соответствии ее требованиям проекта и технических условий составляют акт освидетельствования скрытых работ. Резьбовые части закладных и анкерных деталей смазывают солидолом. И только после этого можно приступать к бетонированию.
Основными технологическими требованиями к укладке бетонной смеси являются: обеспечение монолитности бетонируемой конструкции и необходимого уплотнения бетонной смеси.
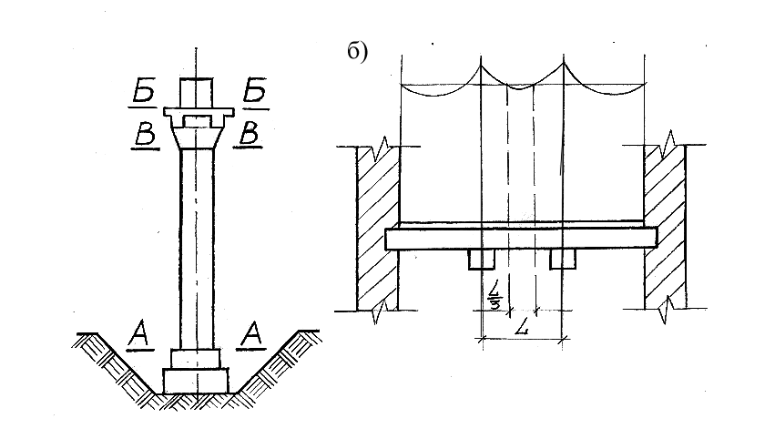
Для обеспечения монолитности железобетонных конструкций бетонирование необходимо вести непрерывно. Однако это реально возможно только при небольших объемах работ. Во всех остальных случаях перерывы в бетонировании неизбежны. Для того чтобы швы (стыки затвердевшего и вновь укладываемого бетона) не оказались в тех местах конструкции, где они угрожают ее несущей способности, необходимо заранее предусмотреть такие швы, чтобы обеспечить непрерывность бетонирования в пределах между ними. Такие заранее предусмотренные в безопасных местах швы называются рабочими швами. Рекомендуемое расположение рабочих швов в некоторых конструкциях изображено на рис. 7.11.
В колоннах рабочие швы допускаются на уровне верха фундамента, у низа прогонов, балок или подкрановых консолей, у низа капителей колонн безбалочных перекрытий; в рамных конструкциях – у верха вута между стойками и ригелями рам. В балках рабочие швы допускаются в пределах средней части пролета. При бетонировании ребристых перекрытий надо руководствоваться следующим: если бетонирование идет в направлении, параллельном второстепенным балкам, рабочий шов допускается в пределах средней трети пролета балок; при бетонировании в направлении, параллельном главным балкам (прогонам), – в пределах двух средних четвертей пролета балок и плит. В безбалочных перекрытиях рабочие швы делают в середине пролета плиты. Рабочие швы в балках и плитах образуют в виде вертикального среза.
Рабочие швы в вертикальных элементах должны быть горизонтальными, в горизонтальных – вертикальными. При наличии в конструкциях температурных и осадочных швов рабочие швы по возможности надо с ними совмещать.
Поверхности затвердевших рабочих швов подготавливают к укладке бетонной смеси следующим образом: очищают, продувают, делают насечку, непосредственно перед бетонированием покрывают цементным раствором толщиной 20-50 мм.
Уплотнение бетонной смеси в монолитных конструкциях осуществляют механически путем (трамбование, вибрирование, вакуумирование). При небольших объемах возможно ручное уплотнение трамбовками, шумовками, подбойками.


Рис. 7.11. Рекомендуемое расположение рабочих швов:






