
Рис 7 Декадношаговый искатель ДШИ-100
Рис 8 Декадношаговый искатель ДШИ-100 (упрощённая схема)
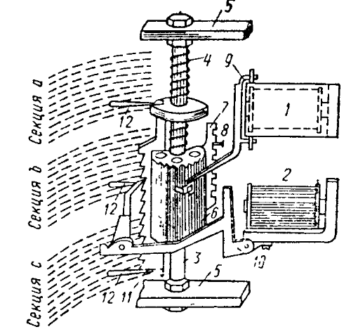
Искатель ДШИ-100 характеризуется декадным (десятичным) построением поля и шаговым подъемно-вращательным движением щеток. Контактное поле искателя (рис. 8) состоит из трех расположенных одна над другой секций a, b и с, каждая из которых содержит 10 рядов контактных ламелей. В каждом ряду — декаде установлены 10 ламелей, расположенных по дуге (для упрощения на (рис. 8а) показана лишь одна секция, a схема их расположения — на (рис. 8б). Декады и ламели поля внутри каждой секции имеют тождественно одинаковую нумерацию (снизу вверх и слева направо), причем для обозначения числа 10 использована цифра 0. Искатель трехпроводный: имеет три контактные щетки — а, b и с, устанавливаемые на роторе одна под другой в соответствии с секциями контактного поля. Ротор Р, расположенный свободно на вертикальной оси, кроме щеток Щ имеет храповой полуцилиндр ХП и сцепленную с ним зубчатую рейку ЗР. Движущий механизм состоит из двух электромагнитов - подъема ПЭ и вращения ВЭ, их якорей с движущими собачками - подъема ПС и вращения ВС.
|
|
|
Для установления щеток на любой из включенных в поле искателя линии от номера 11 до номера 00 (первая цифра указывает номер декады, а вторая — порядковый номер ламели внутри ряда) ротор со щетками совершает из исходного положения (щетки внизу вне поля) два движения: первое - подъемное вдоль вертикальной оси Р и второе - вращательное (после подъемного движения). Искатель управляется импульсами тока, которые вначале поступают в обмотку подъемного электромагнита ПЭ, а затем в обмотку вращающего электромагнита ВЭ. В исходном положении - щетки внизу вне поля. При замыкании цепи электромагнит ПЭ притягивает свой якорь и захватывает движущей собачкой ПС зуб рейки ЗР. Щетки поднимаются на один шаг вверх по вертикали. После окончания импульса тока электромагнит ПЭ отпускает свой якорь, который под действием пружины П1 возвращается в исходное состояние. Собачка ПС западает в следующую впадину зубчатой рейки ЗР и захватывает очередной зуб для последующего подъемного движения. При этом обратному скольжению щеток с ротором препятствует стопорная собачка (на рис. 2.11 не показана). При каждом последующем импульсе тока в обмотку ПЭ процесс повторяется. Число импульсов, поступивших в обмотку ПЭ, определит номер декады, напротив которой остановятся щетки.
При поступлении импульса тока в обмотку ВЭ движущая собачка ВС захватывает зуб храпового полуцилиндра ХП и поворачивает щетки вправо вдоль выбранного ряда на один шаг. После окончания импульса тока якорь ВЭ под действием пружины П2 возвращается в исходное положение. Движущая собачка ВС западает в следующий паз храпового полуцилиндра ХП и подготавливается к очередному перемещению щеток. Количество шагов вращения, совершаемых щетками внутри декады, равно числу импульсов тока, поступивших в обмотку ВЭ. Например, показанное (на рис. 8) положение щетки а, которая установлена в третьей декаде на пятой ламели, получено после подачи трех импульсов тока в обмотку ПЭ и пяти — в обмотку ВЭ. Аналогичное положение в своих секциях будут занимать щетки b и с, так как все они закреплены на одном роторе и движутся одновременно. В результате -и выходом проводной поля.
|
|
|
После окончания соединения щетки должны возвратиться в исходное положение. Для этого в обмотку ВЭ подаются дополнительные импульсы. Щетки выходят за пределы поля, под действием силы тяжести и пружины, расположенной на вертикальной оси (на рис. 8 не показана), падают вниз, поворачиваются влево и устанавливаются в исходное положение. Таким образом, щетки искателя при каждом цикле действия описывают замкнутый четырехугольник.
Сопротивления контакта щетка-ламель у электромеханических искателей обычно не более 2 Ом. Время установления одного соединения (при скорости движения щеток 25-35 шагов в секунду) составляет примерно 200-700 мс. Срок службы 2х105 рабочих циклов без регулировки и ремонта.
На функциональных и принципиальных схемах при изображении шаговых и декадно-шаговых искателей применяют условные обозначения, Обмотки электромагнитов так же, как обмотки реле, изображают в виде прямоугольников.
4. Многократные координатные соединители
Рис. 9. Вертикали двухпозиционного МКС на10 выходов.
Вместо ненадежного скользящего контакта типа «щетка-ламель» электромеханических искателей в многократных соединителях используются контакты давления, приводимые в действие электромагнитами. Многократные соединители, управляемые по системе прямоугольных координат, называют-ся -многократными координатными соединителями МКС. Основным конструктивным узлом МКС является вертикальный блок или вертикаль. Количество вертикалей в МКС определяется числом его входов и соответственно равно n. Контактное поле каждой вертикали содержит / неподвижных струн НС (на рис. 9 показаны НС — а, b, /), в которые включается /-проводный вход МКС и m групп плоских контактных пружин КП по / пружин в группе [на рис. 9 число групп (выходов вертикали) m=10]. Плоские КП изготовляются из нейзильбера и имеют на концах, обращенных в сторону НС, полуцилиндрические контакты. Контакты и неподвижные пружины делают из серебра. В каждую из m групп плоских КП включается /-проводный выход (на рис. 9 показано включение первого и указана нумерация остальных выходов вертикали). Кроме того, в состав вертикали входят якорю которого прикреплена вертикальная удерживающая рейка УР -удерживающий электромагнит УЭ, (рис. 10).
Рис 10 Конструкция МКС
Отечественные МКС содержат 10 или 20 вертикалей (на рис. 10 показаны только первая и последняя вертикали без контактных полей). Перпендикулярно УР расположены горизонтальные выбирающие рейки ВР. Каждая горизонтальная ВР управляется парой выбирающих электромагнитов ВЭ. Под действием одного из них якорь выбирающей рейки ЯВР притягивается и обеспечивает ее поворот на некоторый угол. На горизонтальной выбирающей рейке укреплены выбирающие пальцы ВП, изготовленные из гибкой стальной проволоки (на рис. 9 показано сечение ВП, причем их диаметр сильно увеличен). Общая компоновка узлов рассматриваемого МКС и расположение ВЭ показаны на рис. 11.
Рис.11.Эскиз МКС 
Конструкция МКС позволяет соединять вход какой-либо вертикали с любым из ее выходов. Для этого вначале выбирается горизонтальный ряд контактных пружин, в который включен коммутирующий выход, а затем - вертикаль, в которую включен коммутируемый вход. Такие МКС называются двухпозиционными, поскольку соединение в них устанавливается в двух позициях и совершается в следующие два этапа.
|
|
|
1. Срабатывает выбирающий электромагнит, номер которого совпадает с номером коммутируемого выхода. Например, для коммутации второго выхода должен срабатывать ВЭ2. Якорь ВЭ2, притягиваясь к сердечнику, поворачивает первую выбирающую рейку вокруг ее оси так, что свободные концы выбирающих пальцев этой рейки оказываются в верхнем положении. Тем самым пальцы устанавливаются на уровень второго горизонтального ряда контактных пружин во всех вертикалях (на рис. 9 положение пальца, сместившегося кверху в результате срабатывания ВЭ2, показано пунктирным кружком).
2. Срабатывает удерживающий электромагнит вертикали, в которую включен коммутируемый вход.
Якорь этого электромагнита поворачивает вправо свою УР. Вышедший из исходного положения выбирающий палец зажимается между вертикальной планкой и гетинаксовым упором УП второго горизонтального ряда подвижных контактных пружин (см. центральную часть рис. 10). Движение планки через зажатый палец передается упору, в результате контактные пружины, опиравшиеся на этот упор, высвобождаются и под действием собственного предварительного напряжения прижимаются к соответствующим неподвижным струнам. Таким образом, вход вертикали подключается ко второму выходу. Остальные выходы не коммутируются, так как пальцы других выбирающих реек свободно проходят между упорами.
После срабатывания УЭ выбирающий электромагнит ВЭ2 отпускает и выбирающая рейка возвращается в исходное положение. Один выбирающий палец рейки прижат удерживающей рейкой сработавшего УЭ, но выбирающая рейка сохраняет свою подвижность и может использоваться в дальнейшем для установления соединений в других вертикалях.
В одной вертикали может создаться только одна точка коммутации, которая сохраняется до тех пор, пока не отпустит УЭ данной вертикали. Общее количество соединений, поочередно установленных в одном МКС, может равняться числу вертикалей.
|
|
|
Для обозначения коммутационных характеристик МКС используют условную запись вида n х m х х l, где п — количество вертикалей, т — емкость поля вертикали (число выходов) и l — проводность коммутируемых входов и выходов. Выпускаемые промышленностью унифицированные МКС позволяют монтировать 10 или 20 вертикалей, 5 или 6 горизонтальных реек и соответственно 12 или 6 контактных пружин в группе. Такая конструкция позволяет образовывать как двухпозиционные МКС с параметрами 20х10х6 или 10x10x12, так и трехпозиционные МКС с параметрами 10x20x6 или 20х20х3.
В трехпозиционных МКС, например 20х20х3, устанавливается шестая переключающая горизонтальная рейка ПР, управляемая двумя переключающими магнитами ПЭ1 и ПЭ2 (рис. 2.16). Каждая горизонтальная группа контактов вертикали разделена на две подгруппы по три пружины. Таким образом в каждую из 20 подгрупп включаются 20 трехпроводных выходов вертикали. При этом вход вертикали подключается не к неподвижным струнам, а к запараллеленным контактным пружинам, расположенным в одном ряду с магнитами ПЭ1 или ПЭ2. Соединение устанавливается после срабатывания трех электромагнитов: выбирающего ВЭ (выбирающего горизонтальную группу контактов), ПЭ (выбирающего горизонтальную подгруппу контактов) и УЭ соответствующей вертикали (подключающего требуемую подгруппу контактов к ее выходу). Для примера на рис. 12 переключаемые в результате работы электромагнитов ПЭ1 и вЭ1 контакты показаны в виде зачерненных полусфер. После срабатывания УЭ этой вертикали к ее выходу будет подключен первый выход.
Рис12. Схема трёхпозиционного МКС на 20 трёхпроводных выходов.
Время установления одного соединения в МКС определяется временем срабатывания его электромагнитов и составляет в среднем около 50 мс. Сопротивление между входом и выходом вертикали обычно меньше 0,1 Ом. Срок службы МКС в пересчете на одну точку коммутации составляет примерно 3х106.
5. Соединители на герконовых реле и элементах электронной коммутации
Для образования соединений между входами и выходами в соединителях используются герконовые, феридовые, гезаконовые реле или элементы бесконтактной коммутации. На базе отдельных одно- или двухобмоточных герконовых реле выполняются герконовые соединители МГС. Упрощенная схема МГС на 8 выходов с использованием 64 двухобмоточных герконовых реле приведена на рис. 13. Каждой точке коммутации разговорного тракта соответствует одно двухобмоточное герконовое реле ГР, которое своей первой обмоткой включается в вертикальную и горизонтальную цепи управления. Для коммутации /-проводного разговорного тракта каждое реле имеет / герконов на замыкание (на рис. 13 показан один геркон для коммутации провода а). При установлении соединения, например, входа / с выходом 8 на первую обмотку
Рис 13.Упрощённая схема однопроводного МГС с ёмкостью 
реле ГР81 подается управляющий импульс тока (плюс — из схемы включения по вертикали, а минус — из схемы включения реле по горизонтали). После срабатывания реле блокируется и продолжает удерживать через собственный контакт гр81 и вторую обмотку реле, получая плюс из схемы управляющего устройства. Благодаря замыканию герметизированного контакта rp8i осуществляется подключение первого входа к восьмому выходу МГС. С целью развязки электрических цепей срабатывания первые обмотки реле ГР включаются через диоды. После окончания соединения цепь удержания реле ГР81 нарушается и схема возвращается в исходное состояние.
Для целей коммутации разговорного тракта разработаны МГС 8x8x2 и 8x8x4, обеспечивающие соответственно двух- и четырехпроводную коммутацию. Время установления одного соединения в таких МГС не превышает 2 мс.
Из отдельных феридов выполняется многократный феридовый соединитель МФС, в каждой точке коммутации которого устанавливается ферид с соответствующим числом контактов. Поскольку ферид имеет магнитную блокировку, для удержания его в рабочем состоянии не требуется дополнительного контакта. Ферид срабатывает только при условии одновременного поступления импульса тока в обе его обмотки. Если ферид был в рабочем состоянии, то поступление импульса тока в одну лишь обмотку приводит к его отпусканию (выключению).
Первые обмотки феридов МФС соединяются последовательно и образуют горизонталь. Аналогично соединяются последовательно между собой вторые обмотки феридов, затем вертикали и горизонтали запараллеливаются. Соединение обмоток МФС, имеющего 8 входов и 8 выходов, приведено на рис. 14.
Рис 14.Схема соединения обмоток МФС ёмкостью 
Для МФС с указанными структурными параметрами требуется 64 ферида, которые образуют восемь горизонтальных и восемь вертикальных рядов. Работой МФС управляет импульсный генератор, который с помощью управляющего устройства может быть подключен к любой горизонтали и любой вертикали. Если, например, требуется установить соединение между первым входом и первым выходом, то импульсный генератор с помощью управляющего устройства подключается к первой вертикали и первой горизонтали МФС. Импульс тока поступает в горизонтальную и вертикальную обмотки ферида Ф11 и он срабатывает. Вследствие этого замкнутся герконы ферида и первый вход подключается к первому выходу. После прекращения управляющего импульса ферид останется в рабочем состоянии за счет остаточного намагничивания без потребления тока. Другие фериды, находясь в цепи срабатывания Ф11, не будут возбуждаться, так как импульс тока будет проходить лишь через одну их обмотку.
Разновидностью многократного герконового соединителя с магнитным удержанием является соединитель, в котором в точке коммутации установлен гезакон. Схема включения его обмоток аналогична схеме включения феридов в МФС. Однако соединитель такого типа имеет ряд преимуществ по сравнению с МФС: меньшие размеры, меньшее число деталей, в несколько раз меньшие токи управления и импульсные помехи.
Простейшие схемы электронных контактов приведены на рис. 15.
Рис 15. Схемы электронных контактов.
Схема ЭК на диодах показана на рис. 15а. Разговорный тракт проходит через два трансформатора, связь между которыми осуществляется через два диода, включенных навстречу друг другу. В разомкнутом состоянии ЭК на диоды подается запирающее напряжение. В цепь связи между трансформаторами вносится большое затухание. При изменении полярности напряжения на управляющем входе УУ (на рисунке сигналы на УУ в рабочем состоянии указаны в скобках, а в исходном — без скобок) оба диода открываются н создается цепь для разговорных токов.
Таким образом, изменяя полярность на УУ, можно управлять электронным контактом. Схема ЭК на транзисторах показана на рис15б. Для замыкания такого ЭК достаточно подать отрицательное напряжение на базы транзисторов. Работа электронного контакта на магнитном элементе с прямоугольной петлей гистерезиса (рис. 15в) основана на свойстве ферромагнетиков изменять величину магнитной проницаемости в зависимости от величины напряжения на УУ.
Соединители, в которых для образования точки коммутации используются ЭК, называются электронными соединителями. Принцип построения электронного соединителя на n входов и m выходов показан на рис. 16.
Рис.16 Структурная схема электронного соединителя ёмкостью
.
Каждая из n горизонталей и m вертикалей электронного соединителя связана с определенным входом и выходом через трансформаторы. Выбор и переключение требуемого контакта производится электронным устройством управления УУ. В установлении соединения между входом и выходом принимает участие только один ЭК. Например, для установления соединения между n входом и m выходом достаточно подать управляющее напряжение на вход электронного контакта ЭКпт. Время установления одного соединения в электронном соединителе невелико - порядка нескольких микросекунд.
Электронные элементы, используемые в схемах управления, должны обладать быстродействием, большим сроком службы, малыми габаритами, незначительным расходом электроэнергии и возможностью выполнения в схемах автоматики основных логических операций. Для этого применяются схемы совпадения, собирательные схемы, схемы инверторов.
Рис 17.Элементарные логические элементы.
Схема совпадений (схема И)- представляет собой устройство с несколькими входами и одним выходом (рис. 17а), в котором сигнал на выходе появляется только в том случае, если одновременно имеются сигналы на всех входах. Схеме совпадений, очевидно, будет аналогично последовательное включение контактов нескольких реле (рис. 17б). На электронных элементах схема реализуется, например, на диодах (рис. 17в) или на транзисторах (рис. 17г).
Собирательная схема (схема ИЛИ) представляет собой устройство, в котором сигнал на выходе появляется при поступлении сигнала на любом из ее входов (рис. 17д). На рис. 17е, ж и з представлены релейный аналог, диодный и транзисторный варианты схемы ИЛИ соответственно.
Схема инвертора (схема НЕ) является схемой, в которой сигнал преобразуется в сигнал противоположной полярности (рис. 17и), т. е. если на вход схемы подается положительньпй потенциал, то на выходе потенциал будет отрицательным, и наоборот. На рис. 17л и к показаны схема инвертора на транзисторе и ее релейный аналог.
Из набора перечисленных логических схем можно получить схемы электронной автоматики для выполнения заданных логических функций по управлению установлением соединения. Компоненты таких схем (диоды, транзисторы, резисторы и т. д.) имеют различную технологию изготовления, конструкцию, индивидуальные выводы. Это обусловливает большое число паек при монтаже схем и тем самым снижает их надежность. Этих недостатков лишены интегральные схемы, в которых каждый из их компонентов является частью конструктивно-технологического объединения, выполняемого на общем кристалле; компоненты электрически соединены между собой и заключены в единый корпус с общими выводами. Интегральные схемы выпускаются в виде серий (ряда) модулей, каждый из которых реализует одну или несколько логических функций. Параметры интегральной схемы выбираются исходя из ее конкретного назначения.






