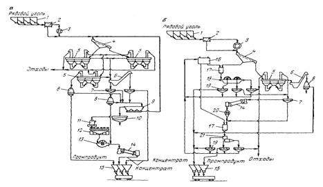
При формализованном описании процесса обогащения важно выявить его основные инвариантные звенья. Для этого рассмотрим типичную технологическую схему обогатительной фабрики, продукция которой используется в коксохимическом производстве и для энергетических целей (рис. 50, а).
Процесс обогащения начинается с операций по составлению шихты рядового угля. В зависимости от объемов и качества поступающих на фабрику углей их смешивают с таким расчетом, чтобы зольность и сернистость формируемых углей не превышала нормированных значений. Для этого изменяют подачу углей различного качества.
Шихту, состоящую из углей, добываемых на нескольких шахтах, в результате предварительного грохочения разделяют на классы +75 и –75 мм. Из класса +75 мм вручную выбирают породу. Оставшийся уголь дробят и в смеси с классом –75 мм направляют в дозировочные бункера, а затем на гидрогрохот, где он разделяется на два машинных класса: мелкий (–25 мм) и крупный (+25 мм).
Уголь каждого из этих классов по трубопроводам поступает в отдельные отсадочные машины, на которых выделяются концентрат, промпродукт и отходы. Промпродукт крупного класса дополнительно измельчают до 13 мм, а затем, в смеси с промпродуктом мелкого класса, подают на контрольную отсадку. После контрольной отсадки промпродукт обезвоживают в центрифуге и отгружают потребителю.
Концентрат мелкого и крупного классов в смеси с концентратом контрольной отсадки поступает (по классам) на грохота для обезвоживания и обесшламливания. Крупный (+25 и –75 мм) концентрат после этого отгружают потребителю, а шлам (частицы крупностью –0,5 мм) – направляют на сгущение в пирамидальный отстойник. Мелкий концентрат после обезвоживания на центрифуге поступает в накопители, откуда в смеси с флотоконцентратом потребителю.
Шлам из пирамидального отстойника и после обезвоживания мелкого концентрата направляют на дальнейшее сгущение в радиальный сгуститель, а затем на флотацию. Полученный концентрат фильтруют и сушат.
Таким образом, в результате обогащения получают три конечных продукта: концентрат (смесь мелкого концентрата, крупного концентрата, концентрата контрольной отсадки, концентрата мелкого центрифугированного и флотоконцентрата), промпродукт контрольной отсадки и отходы (смесь крупной породы, отходов контрольной отсадки, мелкой породы и флотоотходов).
В рассмотренной технологической схеме наряду с отсадкой, обеспечивающей разделение частиц по плотности, используют также флотацию – процесс более эффективный при обогащении мелких классов. В последние годы в качестве альтернативы флотации все шире (особенно для высокосернистых углей) применяют обогащение в тяжелосредных гидроциклонах, обеспечивающее эффективное разделение угольной мелочи по плотности и превосходящее флотацию по эффективности отделения сульфидов. Кроме того, промпродукт отсадочных машин все чаще обогащают в тяжелосредных сепараторах, постепенно заменяя контрольную отсадку. В Донецком бассейне в тяжелых средах обогащают в настоящее время около 25% всех перерабатываемых углей.
В развитии технологических схем углеобогащения доминирует тенденция к обогащению угольной массы на основе ее фракционирования по плотности частиц (рис. 50, б), обеспечивающего одновременное (параллельное) обеззоливание и десульфурацию углей. Использование таких методов обогащения, как и повторное дробление и раздельное фракционирование углей различных классов крупности, направлены на достижение максимального разделения органических и минеральных компонентов, однородности материала и стабильности его поведения при обогащении. Вследствие этого весь процесс обогащения можно рассматривать как состоящий из четырех последовательных стадий: измельчения, классификации, фракционирования и смешивания. Поскольку поведение отдельных дробленых частиц в процессе обогащения определяется преимущественно их плотностью, можно пренебречь взаимодействием частиц, принадлежащих к разным компонентам шихты, и считать результат обогащения смеси эквивалентным суммарному результату раздельного обогащения ее компонент. Несмотря на то что стадия смешивания может быть 1-й, 2-й или последней, целесообразно, поместив ее на последнее место, отдельно анализировать поведение в процессе обогащения каждой из компонент шихты. При этом упрощается описание формирования показателей качества продуктов обогащения.

Рис. 50. Технологические схемы обогащения углей с флотацией мелких классов (а) и тяжелосредным обогащением крупных и мелких классов (6):
1 – бункер–питатель; 2 -- барабанный грохот; 3 - дробилка; 4 - гидрогрохот; 5 - отсадочная машина; 6- багер–зумпф; 7 - обезвоживающий грохот; 8 - центрифуга; 9 - пирамидальный отстойник; 10 - радиальный сгуститель; 11 - дозатор флотореагентов; 12 - флотационная машина; 13 - вакуумный фильтр; 14 - сушилка; 15 - склад готовой продукции; 16 - регенератор магнетитовой суспензии; 17 - дозатор суспензии; 18 - трехпродуктовый тяжелосредный сепаратор; 19 - грохоты, отделяющие суспензию; 20 - мельница; 21 - трехпродуктовый тяжелосредный гидроциклон
глава 17. ТЕХНОЛОГИЯ КОКСОВАНИЯ И ПОЛУКОКСОВАНИЯ УГЛЕЙ
Под полукоксованием и коксованием понимают нагревание угля без доступа воздуха. При этом масса угля разделяется на газообразные углеводороды, способные при охлаждении конденсироваться (в пек, смолу, масло), на неконденсирующиеся газообразные соединения и воду; в остатке получается твердый продукт - кокс. В зависимости от температуры различают полукоксование (450 - 7000 С), среднетемпературное коксование (700 - 9000 С) и высокотемпературное коксование (выше 9000 С).