Подобные фундаменты применяются в том случае, если на обрезе фундамента действует наклонная нагрузка. Наклонная нагрузка возникает от распорных конструкций без затяжки. Примером являются Г-образные рамы сельскохозяйственных зданий и арочные покрытия спортивных сооружений.
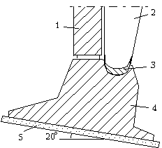
Фундаменты устраиваются в монолитном или сборном исполнении (рис.Ф.9.23) с углом наклона подошвы к горизонту не более 20. Устройство наклонной грани устраняет возможность сдвига фундамента по подошве, повышая тем самым его устойчивость.
|
| Рис.Ф.9.23. Фундамент с наклонной подошвой: 1 - цокольная панель; 2 - полурама; 3 - раствор; 4 - фундамент; 5 - подготовка |






