Для чего под подошвой фундамента устраивается песчаная подготовка?

Основное назначение песчаной подготовки  устранить неровности в плоскости контакта подошвы фундамента и грунта основания, образующиеся при разработке котлована. При этом устраняется возможность смятия грунта и тем самым выравниваются контактные напряжения по подошве фундамента.

Песчаная подготовка устраивается в глинистых грунтах. В песчаных грунтах при устройстве монолитных железобетонных фундаментов роль песчаной подготовки выполняет слой из тощего бетона, называемый подбетонкой. Толщина подбетонки принимается равной 100-150 мм.

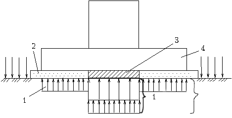
Целесообразно возводить фундаменты на промежуточной подготовке переменной жесткости в плане (рис.Ф.9.24). В этом случае эпюра контактных давлений трансформируется таким образом, что наибольшие давления на грунт концентрируются под бетонной частью подготовки.

Рис.Ф.9.24. Фундамент на промежуточной подготовке: 1 - эпюра контактных давлений; 2 - рыхлый песок; 3 - бетон; 4 - фундамент

67. В чем отличие напряженного состояния под столбчатыми, ленточными и круглыми в плане фундаментами?

Характер распределения напряжений в грунтах зависит от вида нагрузки, приложенной на его поверхности.

Под подошвой столбчатых фундаментов, имеющей очертание в плане в виде квадрата или прямоугольника, напряжения и деформации, возникающие в грунте от нагрузки, передаваемой фундаментом, распределяются в основании в условиях пространственной деформации. Поэтому для определения напряжений и деформаций в основании в этом случае следует использовать решение Буссинеска для сосредоточенной силы с интегрированием по площади квадрата или прямоугольника.

Под ленточными фундаментами мы имеем условия плоской деформации, поэтому для определения напряжений используется решение Фламана, полученное для линейной нагрузки с его интегрированием по ширине фундамента.

Для круглых в плане фундаментов, массив грунта под которыми находится в условиях осесимметричной деформации, используется решение Буссинеска с интегрированием для нагрузки, равномерно распределенной по кругу.





Подборка статей по вашей теме: