Цель - практическое усвоение в курсах "Основы конструирования машин " и "Детали машин" разделов: "Критерии работоспособности", "Выбор допускаемых напряжений".
Объём расчётно-графической работы - пояснительная записка на листах формата А4 объёмом до 10 страниц и чертеж узла на листе формата A3, которые выполняются в соответствии с требованиями ЕСКД.
Пояснительная записка содержит титульный лист, содержание, техническое задание, описание разработанной конструкции, расчётную часть, приложения, список использованной литературы. Все расчеты делаются в системе СИ.
Чертёж выполняется карандашом на ватмане или на компьютере с использованием программ компьютерной графики и с последующей печатью чертежа.
Объект проектирования (на стадии эскизного проекта) - узлы шарнирных механизмов: машины для литья под давлением, рессорного молота.
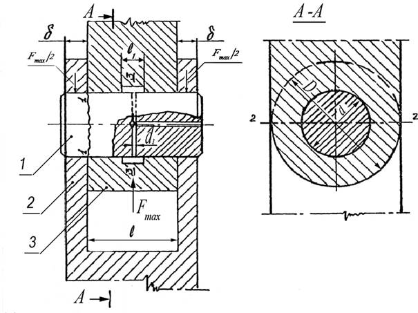
Принципиальная схема узла - составные части узла, рис.1:
1– палец, 2 – проушина обоймы или корпуса, 3– втулка штока или тяги.
|
|
|
Действующие нагрузки - на рис.1 показана сосредоточенная сила F, приложенная к пальцу, и реакции в опорах пальца 0,5 F.
Задание - помещено в Приложениях, где показан конкретный узел и приведены исходные данные для проектирования:
- максимальная нагрузка F mах;
- коэффициент асимметрии цикла R F = F min / Fmax, см. типовой график, рис. 2, который характеризует изменение нагрузки во времени;
- число циклов изменения нагрузки N ц;
- соотношение длины и диаметра опорной поверхности пальца l / d;
- соотношение длины и ширины прямоугольного поперечного сечения штока или тяги b/а.
Остальные размеры деталей принимают на основании расчётов и технических рекомендаций.
![]() |
Рис. 1. Принципиальная схема шарнирного узла: 1–палец; 2–проушина обоймы
или корпуса; 3–втулка штока или корпуса
Последовательность выполнения задания:
1. Выбор материалов и вида термообработки деталей узла.
2. Определение диаметра пальца шарнира из условий износостойкости и прочности.
3. Определение других размеров узла.
4. Оформление чертежа узла по ЕСКД.
5. Оформление расчётно-пояснительной записки по ЕСКД.







