Сдвиговые регистры с обратной связью
На рис. 7.15, а показан четырехразрядный регистр. В цепи обратной связи регистра стоит элемент ИСКЛЮЧАЮЩЕЕ ИЛИ, который подает на основной вход первого триггера сигнал
. Для того чтобы определить последовательность состояний регистра, допустим сначала, что сдвиговый регистр находится в состоянии D = 0, С = 0, В = 0, А = 1. В этом случае
и при получении следующего тактового импульса регистр перейдет в состояние D = 0, С = 0, В = 1, А = 0. В таблице на рис. 7.15, б показана последовательность состояний регистра. В последнем столбце этой таблицы находятся значения функций обратной связи.
Всего существует пятнадцать различных состояний регистра. Это максимальное число состояний для четырехразрядного регистра с элементом ИСКЛЮЧАЮЩЕЕ ИЛИ в обратной связи. Поэтому данная последовательность состояний называется последовательностью максимальной длины (ПМД). Состояние S 0 не входит в ПМД, так как попадание в него приводит к блокировке регистра. Предположим, что регистр попал в состояние S 0. Тогда
и регистр не сможет покинуть
это состояние, поскольку на вход j a всегда будет подаваться 0. Таким образом,
|
|
|
![]() |
Рис. 7.16. Функции обратной связи, позволяющие сформировать ЛЛ1Д с помощью п - разрядных регистров сдвига
максимальная длина последовательности состоянии определяется следующим образом: l = 2 N-1, где N — число разрядов сдвигового регистра. Только определенным образом связав элемент ИСКЛЮЧАЮЩЕЕ ИЛИ с выходами триггеров, можно построить регистр с ПМД. В таблице на рис. 7.16 приведены выражения для функций обратной связи, использование которых позволяет сформировать ПМД. Число разрядов регистра изменяется в таблице от 1 до 18. Можно также сформировать другие ПМД. Например, если в цепи обратной связи четырехразрядного регистра стоит инверсия функции
, то генерируется другая ПМД. Как это происходит, показано на рис. 7.17, а.
Анализ выражений для функций обратной связи, приведенных на рис. 7.16, показывает, что один из операндов, входящих в выражение, всегда является переменной, принятой для обозначения N -го разряда регистра. Все остальные операнды получаются путем просмотра регистра в обратном направлении. Например, для N = 4 переменной, принятой для обозначения четвертого разряда регистра, является D; другой операнд С является переменной, связанной с третьим разрядом регистра. Две другие ПМД для четырехразрядного регистра могут быть получены путем просмотра кольцевого регистра в прямом направлении, начиная с четвертого разряда. Тогда (N + 1), т. е. пятому разряду, в данном случае будет соответствовать переменная А. Следовательно, две другие ПМД могут быть получены, если функциями обратной связи являются
и
. Соответствующие последовательности состояний приведены на рис. 7.17, б.
|
|
|
Очевидно, что схема на рис. 7.15, а может быть использована для генерации двоичных последовательностей. Причем элементы последовательности могут формироваться непосредственно на выходе одного из триггеров. Тогда двоичная последовательность, появляющаяся на выходе триггера D, имеет вид 0 - 0 - 0 - 1 - 0 - 0 – 1 - 1 - 0 - 1 - 0 - 1 - 1 - 1 - 1. Такого рода генераторы иногда называют генераторами псевдослучайных двоичных последовательностей, поскольку порядок появления цифр только кажется случайным. Однако цифры последовательности начинают повторяться через 2N — 1 тактовых импульса. При заданной тактовой частоте период последовательности быстро растет с ростом числа разрядов регистра. Если
N = 10, 2 N - 1 = 1023
и если тактовая частота равна 1 МГц, то период равен 1,02 мс. Если
N = 20, 2 N - 1 = 1 048 575,
то период равен 1,05 с. И, наконец, если
N = 30, 2 N - 1 = 1 073 730 624,
то период равен 1073,73 с.
Рис. 7.17. ПМД, полученные с помощью четырехразрядного сдвигового регистра с обратной связью вида:
a -
; б -
; в - 
При использовании других типов обратной связи, основанных на элементе ИСКЛЮЧАЮЩЕЕ ИЛИ, с помощью четырехразрядного регистра могут генерироваться последовательности не максимальной длины. Например, если функция обратной связи имеет вид
, то любая из четырех последовательностей, представленных на рис. 7.18, может быть получена. Вид последовательностей будет зависеть от начального состояния регистра.
Основной генератор ПМД показан на рис. 7.15, а. Он не всегда сам может начать работу, так как при включении начальным состоянием генератора может быть 0000. У схемы, представленной на рис. 7.15, а, нет средств для того, чтобы выйти из состояния 0000. Однако, проведя небольшие изменения цепи обратной связи, можно снабдить генератор средствами самозапуска. Для этого необходимо добавить терм
и функции обратной связи. Сделав это, получим
.
Рис. 7.18. Последовательности не максимальной длины, полученные с помощью четырехразрядного сдвигового регистра с обратной связью 
На рис. 7.19, a. эта функция представлена с помощью карты Карно. После упрощений имеем
.
На рис. 7.19, б приведена схема проектируемого генератора.
Метод скачка также может быть использован для генерации последовательностей не максимальной длины. Этот метод основан на применении генератора ПМД с элементом ИСКЛЮЧАЮЩЕЕ ИЛИ в цепи обратной связи. Длина последовательности может быть уменьшена в результате введения дополнительной обратной связи. Метод скачка рассмотрим на примере генератора, построенного на четырехразрядном сдвиговом регистре (см. рис. 7.15, а).
Предположим, что первоначально генератор находится в состоянии DCBA = 0011 (S 3). Если в этом случае значение сигнала обратной связи равно 0, то следующим состоянием генератора будет
Рис. 7.19. Генератор ПМД со средствами самозапуска:
а - представление функции обратной связи с помощью карты Карно: б - реализация генератора ПМД
Рис. 7.20. Четырехразрядный генератор ПМД с модифицированной обратной связью, позволяющей совершить скачок:
а - диаграмма состояний генератора; б - модифицированная ПМД; в - представление функции обратной связи f с помощью карты Карно; г - реализация генератора
DCBA = 0110 (S 6). С другой стороны, если значение сигнала обратной связи равно 1, то следующим состоянием генератора будет DCBA = 0111 (S 7).
Анализ таблицы состояний четырехразрядного генератора ПМД, изображенной на рис. 7.15, б, показывает, что ==0, когда генератор находится в состоянии S 3, и, следовательно, следующим состоянием генератора будет S 6. Если же цепь обратной связи модифицирована так, что значение сигнала в ней равно 1, то следующим состоянием генератора будет S 7.
|
|
|
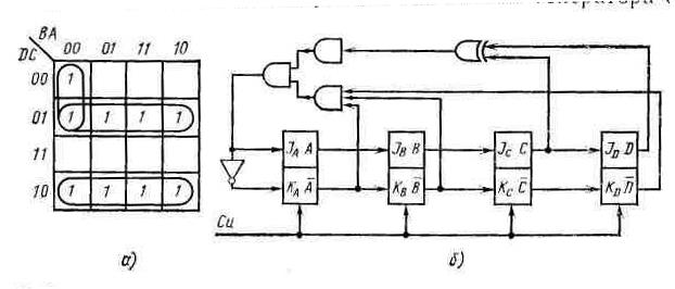
На рис. 7.20, а показана диаграмма состояний четырехразрядного генератора ПМД. Изменив обратную связь, можно добиться, чтобы состояния S 6, S 13, S 10, S 5 , S 11 не попадали в рабочую последовательность генератора. В результате, в последовательность будут входить только десять состояний из 15.
На рис. 7.20, б показана модифицированная последовательность состояний генератора, причем выделено новое значение функции обратной связи для состояния S 3. Функция обратной связи вместе с неиспользуемыми состояниями S 6, S 13, S 10, S 5 , S 11 и состоянием блокировки S 0 представлена с помощью карты Карно на рис. 7.20, в. Используя обычные методы упрощения, получим модифицированную функцию обратной связи в виде
.
На рис. 7.20, г показана реализация генератора последовательности не максимальной длины, обладающего средствами для самозапуска.







