Минимальная токовая защита применяется в ЭП с ДПТ и СД для защиты их цепей возбуждения от обрыва. Исчезновение тока возбуждения опасно тем, что, вызывая исчезновение противо ЭДС двигателя, приводит к значительному возрастанию тока в его силовой цепи и резкому снижению развиваемого момента.
Эта защита осуществляется с помощью минимального токового реле KF, катушка которого включается в цепь обмотки возбуждения двигателя, как это показано на рисунке 1. При этом замыкающий контакт реле KF помещается в цепь катушки контактора КМ, что позволяет включать двигатель только при наличии тока возбуждения в его обмотке возбуждения ОВМ. При работе ЭП в случае исчезновения или резкого снижения тока возбуждения контакт реле KF разомкнется и контактор КМ, потеряв питание, отключит двигатель от сети.
В качестве реле минимального тока в ЭП используется реле серии РЭВ 830.
![]() |
Рисунок 1 – Минимальная токовая защита ДПТ
К специальным видам защит также относят: защиту от перенапряжения на обмотке возбуждения ДПТ; защиту от повышения напряжения в системе «преобразователь - двигатель»; защиту от превышения скорости ЭП; защиту от затянувшегося пуска СД и ряд других.
Защита от перенапряжения на обмотке возбуждения ДПТ требуется при отключении ее от источника питания.
В этом случае вследствие быстрого падения тока возбуждения, а значит, магнитного потока в обмотке возникает значительная (до нескольких киловольт) ЭДС самоиндукции, которая может вызвать пробой ее изоляции.
Защита осуществляется с помощью так называемого разрядного резистора, включаемого параллельно обмотке возбуждения ОВМ (рис.1). Сопротивление резистора должно быть (4...5) Rовм при напряжении питания 220 В и (6...8) Rовм при напряжении 110 В. Для устранения потерь энергии в разрядном резисторе последовательно включается диод VD, который не пропускает через него ток при включенной обмотке возбуждения, но позволяет протекать току под действием ЭДС самоиндукции, возникающей при ее отключении. Выбор сопротивления в указанных пределах позволяет снизить темп падения тока в обмотке возбуждения и тем самым ограничить ЭДС самоиндукции до допустимых пределов.
Защита от повышения напряжения применяется главным образом в системе «преобразователь - двигатель». Она реализуется с помощью реле напряжения, включаемого на выходе преобразователя и своими контактами воздействующего на цепи отключения напряжения ЭП. Эта защита косвенно защищает ДПТ и от чрезмерного увеличения скорости при появлении повышенного напряжения.
Защита от превышения скорости применяется в ЭП рабочих машин, для которых недопустимо превышение скорости движения исполнительных органов (лифты, подъемные лебедки, эскалатор, шахтные подъемники). Такая защита обеспечивается с помощью тахогенератора или центробежных выключателей, соединенных с валом двигателя. Центробежные выключатели непосредственно действуют на цепь управления, а тахогенератор через реле напряжения, включаемое на его якорь.
Защита от затянувшегося пуска СД обеспечивает его прекращение, если к концу расчетного времени ток возбуждения СД не достигает заданного уровня.
Путевая защита обеспечивает отключение ЭП при достижении исполнительным органом рабочей машины крайних положений. Она осуществляется с помощью конечных выключателей, устанавливаемых в этих положениях исполни тельного органа и размыкающих в случае необходимости цепи реле защиты или непосредственно линейных контакторов.
Защита от выпадения СД из синхронизма применяется для ЭП с синхронными двигателями, работающих с резко изменяющейся нагрузкой на валу и питающихся от сети, в которой возможно снижение напряжения.
На рисунке 2 для примера приведена одна из многочисленных схем, реализующая защиту с созданием схемы соединения искусственной звезды из трех конденсаторов.

Рисунок 2 - Схема защиты электродвигателя при помощи теплового реле и по напряжению нулевой последовательности с применением схемы соединения искусственной звезды из трех конденсаторов
Фазочувствительные устройства защиты электродвигателей.
Угол сдвига между токами в трехфазной сети в нормальных условиях равен 120°, а при обрыве одной из фаз угол сдвига в исправных фазах увеличивается до 180°. Таким образом, если контролировать изменение угла сдвига фаз между токами нагрузки электродвигателя, то его можно защитить от основного аварийного режима — обрыва фазы. Поэтому устройства защиты, реагирующие на изменение угла фазового сдвига между токами нагрузки электродвигателя, были названы фазочувствительными.
Для контроля можно использовать различные фазовые детекторы. В этом случае необходимо из трехфазных токов питания электродвигателя сформировать два измеряемых напряжения U1 и U2 с определенным углом сдвига фаз между ними, используя фазовращающий трансформатор тока —ФТТ (рис.3,4).
Если угол равен или близок 900 при наличии токов во всех фазах питания электродвигателя и если при обрыве любой из фаз угол изменяется на 0 или 180°, то можно применять фазовые детекторы с косинусной характеристикой.

Рисунок 3 – Функциональная схема ФУЗ

Рисунок 4 – Пример защиты асинхронного электродвигателя с помощью ФУЗ
При нормальной работе электродвигателя в катушке реле КVтечет небольшой ток, меньше тока отпускания реле. Если электродвигатель не запускается или затормаживается во время работы, то токи нагрузки электродвигателя, следовательно, и измеряемые напряжения U1 и U2резко увеличиваются. Ток в катушке реле KVтакже резко возрастает и становится больше тока притягивания реле, что приведет к срабатыванию реле и отключению электродвигателя.
Для защиты электродвигателя от симметричных перегрузок применяют схему, которая контролирует одно из измеряемых напряжений.
Модернизированное фазочувствительное устройство защиты электродвигателей ФУЗ-М предназначено для защиты трехфазных электродвигателей от неполнофазных режимов и любых перегрузок (в том числе при заторможении ротора).
ФУЗ-М моментально срабатывает при обрыве фазы, а при симметричных перегрузках — с выдержкой времени, зависящей от размера перегрузки: 30…50с при 50%-ной перегрузке и 8...12с при заторможенном роторе двигателя.

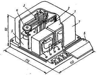
Рисунок 5 - Модернизированное фазочувствительное устройство защиты ФУЗ-М: 1 — трансформатор тока; 2 — печатная плата; 3 - реле защиты; 4 — шкала потенциометра; 5 — изоляционное основание; 6 — крышка, закрывающая клеммную колодку; 7 — крышка
Принцип работы устройства.Фазовращающие трансформаторы тока (ФТТ) ТА1 и ТА2из трехфазного тока нагрузки формируют два измеряемый напряжения U1 и U2.Угол сдвига фаз между ними при работе электродвигателя на всех трех фазах близок к 90°. При обрыве любой из фаз угол сдвига становится равным 0 или 180°, вследствие чего срабатывает фазочувствительный кольцевой детектор на диодах VD1...VD4с балластными резисторами R1...R4. Нагрузкой кольцевого детектора является реле защиты, включенное между средними точками сигнальных обмоток ФТТ.

Рисунок 6 - Электрическая схема устройства защиты ФУЗ-М
Схема контроля перегрузки состоит из регулируемого тиристорного выпрямителя (VS1, R5, RP1, RP2), зарядно-разрядной цепи (R6, R7, накопительного конденсатора С1, порогового элемента —тиристора VS2 со стабилитроном VD5, режимных резисторов R8...R10 и шунтирующего тиристора VS3 (рис.6).
Устройство ФУЗ-М, надежно защищает электродвигатель от всех прямых аварийных режимов (обрыва фазы, незапускания, заторможения, перегрузки), не реагирует на некоторые косвенные, из-за чего статорная обмотка перегревается. Косвенные аварийные режимы возникают при недостаточном теплообмене с окружающей средой (высокие температура и влажность или чрезмерная запыленность окружающего воздуха), частых реверсах или пусках электродвигателя, перегреве подшипников.
Чтобы расширить возможности фазочувствительных устройств защиты, была разработана универсальная модификация ФУЗ-У, дополнительно контролирующая нарушение охлаждения электродвигателя по температуре его корпуса или обмотки.
