ВЕДУЩИЕ МОСТЫ ТРАКТОРОВ И АВТОМОБИЛЕЙ
Цель работы - изучить назначение, конструкцию, принцип работы ведущих мостов тракторов или автомобилей, агрегатов и узлов система, выявить возможные неисправности, определить способы их устранения, устранить.
ОБЩИЕ СВЕДЕНИЯ
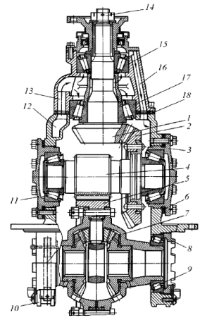
Ведущие мосты тракторов и автомобилей представляют собой комплекс механизмов, посредством которых крутящий момент от коробки передач (КП) или раздаточной коробки передается к ведущим колесам. Кромеэтого, в них размещаются тормоза и другие вспомогательные механизмыв зависимости от типа и назначения трактора или автомобиля.
Основными механизмами ведущих мостов являются:
1) центральная (главная) передача;
2) бортовая передача;
3) конечные передачи;
4) тормоза;
5) дифференциалы (у колесных тракторов) или механизмы поворота (у гусеничных тракторов).
При этом у колесного трактора ведущими могут быть задний или передний мост или оба моста одновременно.
У гусеничного трактора, как правило, ведущим является задний мост.
В большинстве случаев корпуса задних мостов являются частью трактора, воспринимающей значительные нагрузки со стороны движителя и от сил в зацеплении шестерен внутри самого моста.
|
|
|
Поэтому одним из существенных требований, предъявляемых к задним мостам, является высокая жесткость корпусных деталей. Учитывая это, КП и корпус заднего моста часто выполняют в виде моноблочной отливки или нескольких узлов, жестко соединяемых корпусами. Требования высокой жесткости корпусных деталей распространяются и на передние ведущие мосты колесных тракторов.
Центральная (главная) передача
Центральной (главной) передачей называется агрегат трансмиссии, расположенный между КП и механизмами поворота (для гусеничного трактора) или корпусом дифференциала (для колесного трактора, автомобиля).
На тракторах с четырьмя ведущими колесами центральные передачи располагаются в картерах ведущих мостов.
Центральная передача, имеющая передаточное число порядка 3...12, служит для увеличения общего передаточного числа трансмиссии и передачи крутящих моментов на валы, расположенные перпендикулярно главной оси трактора.
По числу зубчатых колес центральные передачи подразделяются на одинарные - с одной парой зубчатых колес и двойные - с двумя парами зубчатых колес.
По числу ступеней центральной передачи различают одноступенчатые центральные передачи с одним передаточным числом и двухступенчатые центральные передачи, имеющие две переключаемые передачи с разными передаточными числами.

Рис. 3.1. Схемы одинарных центральных передач
Одинарная центральная передача (рис. 3.1) компактна, имеет малую массу и невысокую стоимость. Она проста в производстве и эксплуатации. При увеличении передаточного числа иц увеличиваются размеры зубчатых колес, что приводит к уменьшению дорожного просвета.
|
|
|
Одинарная коническая центральная передача (рис. 3.1, а), состоящая из ведущей шестерни 1 и ведомого колеса 2, получила самое широкое распространение на тракторах. Из всех типов конических центральных передач наиболее распространена передача со спиральным, в большинстве случаев круговым зубом, выполненным по дуге окружности, диаметр которой определяется диаметром резцовой головки. Размеры центральной передачи с круговым зубом меньше, чем с прямым.
Одинарная цилиндрическая центральная передача (рис. 3.1, б) применяется на тракторах и автомобилях при наличии КП с поперечными валами.
Передача состоит из ведущей шестерни 1 и ведомого колеса 2, закрепленного на корпусе дифференциала 3. При этом зубчатые колеса могут выполняться как прямозубыми, так и косозубыми. На отечественных тракторах применяются только прямозубые цилиндрические зубчатые колеса.
Гипоидная передача (рис. 3.1, в) представляет собой зацепление ведущего 1 и ведомого 2 конических зубчатых колес со спиральным зубом, оси которых не пересекаются, а перекрещиваются. При этом ось шестерни 1 смещена относительно оси колеса 2 на величину гипоидного смещения Е. В зависимости от требований компоновки ось шестерни может быть смещена относительно оси колеса вверх и вниз.
Одинарная центральная червячная передача (рис. 3.1, г) состоит из червяка 1 и червячного колеса 2. При этом в зависимости от требований компоновки передача может быть выполнена с верхним расположением червяка (рис. 3.1, г) или с нижним. По сравнению с центральными передачами других типов червячная передача наиболее бесшумна, обеспечивает большую плавность зацепления и, как следствие, минимальные динамические нагрузки.
Двойная центральная передача имеет большую массу, размеры и стоимость по сравнению с одинарной. Она применяется только на колесных тракторах при необходимости получения больших передаточных чисел (uц<12) без изменения дорожного просвета под картером центральной передачи.

Рис. 3.2. Двойная центральная передача с валами, расположенными в одной плоскости
Двухступенчатые центральные передачи применяются на колесных тракторах и грузовых автомобилях большой грузоподъемности. Они позволяют увеличить диапазон передаточных чисел трансмиссии в 1,5...2 раза и удвоить число передач при заданном количестве передач в КП.