Дифференциал – механизм трансмиссии, выполняющий функцию распределения подводимого к нему крутящего момента между колесами или мостами и позволяющий вращаться ведомым валам как с одинаковыми, так и с разными угловыми скоростями, кинематически связанными между собой.
Чаще всего дифференциал устанавливают между центральной передачей и ведущими колесами конечных передач. Дополнительно дифференциал могут устанавливать между ведущими мостами трактора.
Дифференциал не влияет на общее передаточное число трансмиссии трактора. Он обеспечивает качение ведущих колес трактора без проскальзывания на поворотах и при движении по неровному пути.
При отсутствии дифференциала и жесткой кинематической связи ведущих колес их вращение сопровождалось бы взаимным скольжением или буксованием относительно почвы или дорожного полотна. Возникающая при этом паразитная мощность увеличивала бы износы деталей трансмиссии, протекторов шин и расход топлива на преодоление дополнительных сопротивлений движению трактора.
|
|
|
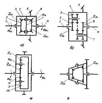
В межколесном приводе тракторов и автомобилей применяют только симметричные дифференциалы - конические (рис. 3.5, а) и цилиндрические (рис. 3.5, б). На тракторах и автомобилях самое широкое распространение получили простые симметричные конические дифференциалы. На некоторых моделях применяются и цилиндрические дифференциалы.

Рис. 3.5. Схемы простых дифференциалов с постоянным соотношением моментов на ведомых валах:
а – симметричного конического; б - симметричного цилиндрического;
в - несимметричного цилиндрического; г - несимметричного конического;
1,8- левая и правая полуоси дифференциала; 2, 6- левая и правая полуосевые шестерни; 3 - сателлит; 4 - корпус дифференциала; 5 - ведомое колесо центральной передачи; 7 - ось вращения сателлитов (водило); 9 - солнечная шестерня; 10 - эпициклическая шестерня.
Несимметричные простые дифференциалы (рис. 3.5, в и г) применяют только в межосевом приводе, когда вертикальная нагрузка на ведущие мосты тракторов или автомобилей различна. Более широкое распространение получили несимметричные цилиндрические дифференциалы (рис. 3.5, в). На отечественных тракторах межосевые дифференциалы не применяют.
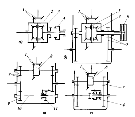
Для осуществления принудительной блокировки дифференциала необходимо соединить между собой любые два центральные звена (корпус дифференциала, полуосевые шестерни). Возможные варианты блокировки простых симметричных дифференциалов показаны на рисунке 3.6.
На схеме, представленной на рисунке 3.6, а, блокировка дифференциала осуществляется с помощью зубчатой муфты 4, соединяющей между собой корпус 2 дифференциала и полуосевую шестерню 3. Данный способ блокировки дифференциала не позволяет блокировать дифференциал при движении машины.
|
|
|
Блокировка дифференциала производится также с помощью фрикционного сцепления 6 (рис. 3.6, б), которое при включении соединяет между собой ось 5 вращения сателлитов и полуосевую шестерню 3. В отличие от предыдущего она позволяет блокировать дифференциал при движении трактора или автомобиля. В результате существенно повышается его проходимость.
Блокировка дифференциала возможна также с помощью специального блокировочного валика 10 (рис. 3.6, в), дополнительно устанавливаемого в трансмиссию трактора. Здесь блокировка дифференциала 8 осуществляется с помощью блокировочной каретки 11, соединяющей левую и правую
полуоси дифференциала через шестерни 7 конечной передачи.
Блокировка дифференциала с помощью зубчатой муфты 4 показана на рисунке 3.6, г. Здесь при включении зубчатой муфты 4 блокируются левое и правое зубчатые колеса конечной передачи 7, следовательно, и полуоси дифференциала 8.

Рис. 3.6. Способы блокировки межколесного дифференциала:
1 - центральная передача; 2 - корпус дифференциала; 3 - полуосевая шестерня; 4 - зубчатая муфта; 5 - ось вращения сателлитов; 6 - блокировочное фрикционное сцепление; 7 - конечная передача; 8 - дифференциал; 9 - шестерня привода блокировочного валика; 10 - блокировочный валик; 11 - блокировочная каретка.






