1. Требования к тормозным системам
1.1. Применяются требования пунктов 2.1.14 - 2.1.33 Приложения № 5 к настоящему техническому регламенту.
2. Требования к рулевому управлению
2.1. Применяются требования пункта 2.2 Приложения № 5 к настоящему техническому регламенту.
2.2. Максимальный поворот рулевого колеса должен ограничиваться только устройствами, предусмотренными конструкцией транспортного средства.
3. Требования к внешним световым приборам и светоотражающей
маркировке
3.1. Применяются требования пунктов 1.3.1 - 1.3.2, 1.3.13, 1.3.14.1 - 1.3.14.7, 1.3.19.1, 1.3.21.1 - 1.3.21.3, 1.3.25.1 Приложения № 5 к настоящему техническому регламенту.
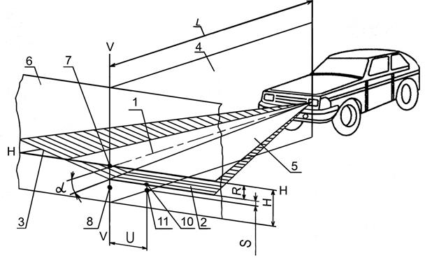
3.2. Угол наклона плоскости (рисунок 1), содержащей левую (от транспортного средства) часть верхней светотеневой границы пучка ближнего света фар типов С, НС, DС, CR, HCR, DCR должен быть в пределах ±0,5 процентов в вертикальном направлении от нормативного значения угла регулировки, указанного в эксплуатационной документации и (или) обозначенного на транспортном средстве. При отсутствии на транспортном средстве и в эксплуатационной документации данных о нормативном значении угла регулировки, фары типов С, НС, DС, CR, HCR, DCR должны быть отрегулированы в соответствии с указанными значениями угла a наклона светового пучка к горизонтальной плоскости на рис. 1, а или 1, б и в таблице 1. Нормативы угла регулировки заданы значениями угла a в зависимости от высоты Н установки оптического центра фары над плоскостью рабочей площадки для расстояния L от оптического центра фары до экрана, или расстоянием R по экрану от проекции оптического центра фары до световой границы пучка света и расстояниями L и H.
|
|
|
3.3. Угловое отклонение в горизонтальном направлении точки пересечения левого горизонтального и правого наклонного участков светотеневой границы светового пучка фар типов С, НС, DС, CR, HCR, DCR от вертикальной плоскости, проходящей через ось отсчета, должно быть не более ±0,5 процентов.
3.4. На транспортных средствах, фары которых снабжены корректирующим устройством, последнее при загрузке транспортного средства должно устанавливаться в положение, соответствующее загрузке.
3.5. Сила света каждой из фар в режиме "ближний свет", измеренная в направлении оптической оси фары и в направлении 52¢ вниз от левой части светотеневой границы, должна соответствовать значениям, указанным в таблице 2.
Геометрические показатели расположения светотеневой границы
пучка ближнего света фар на матовом экране в зависимости
от высоты установки фар и расстояния до экрана
Таблица 1
| Расстояние от оптического центра фары до плоскости рабочей площадки Н, мм | Номинальный угол наклона светового пучка фары в вертикальной плоскости a | Расстояние R от проекции оптического центра до светотеневой границы фары на экране, удаленном на 10 м, мм | |||
| угл. мин | процентов | ||||
| До 600 | 1,00 | ||||
| От 600 до 700 | 1,30 | ||||
| От 700 до 800 | 1,50 | ||||
| От 800 до 900 | 1,76 | ||||
| От 900 до 1000 | 2,00 | ||||
| От 1000 до 1200 | 2,20 | ||||
| От 1200 до 1500 | 2,90 | ||||
Сила света фар в режиме "ближний свет"
|
|
|
Таблица 2
| Тип фары | Сила света в направлении оптической оси фары, кд, не более | Сила света в направлении 52¢ вниз от левой части световой границы, кд, не менее |
| С; CR | 1600* | |
| НС; HCR; DC; DCR | 2200* | |
| * В случае несоответствия параметров, полученных при неработающем двигателе, проводят измерение при работающем двигателе. |
3.6. Проверку параметров, указанных в таблице 2, проводят после регулировки положения светового пучка ближнего света в соответствии с пунктом 3.2. При несоответствии параметров фары указанным в таблице 2 нормативам, проводят повторную регулировку
в пределах ±0,5 процентов в вертикальном направлении от номинального значения угла по таблице 1 и повторное измерение силы света.
3.7. Фары типов R, HR, DR должны быть отрегулированы так, чтобы центр светового пучка совпадал с точкой пересечения оптической оси фары с экраном (точка 7 на рисунках 1а и 1б).
3.8. Сила света всех фар типов R, HR, CR,HCR, DR,DCR, расположенных на одной стороне транспортного средства, в режиме "дальний свет" должна быть не менее 10000 кд, а суммарная величина силы света всех головных фар указанных типов не должна быть более 225000 кд.
3.9. Силу света фар типов CR, НCR, DCR в режиме "дальний свет" измеряют в направлении оптической оси фары.
3.10. Силу света фар типов R, HR, DR измеряют в направлении оптической оси фары после проведения регулировки в соответствии с пунктом 3.7.
3.11. Противотуманные фары (тип В) должны быть отрегулированы так, чтобы плоскость, содержащая светотеневую границу пучка, была расположена, как указано на рисунок 1, в и в таблице 3. При этом светотеневая граница пучка противотуманной фары должна быть параллельна плоскости рабочей площадки, на которой установлено транспортное средство.

а

б

в
1 - ось отсчета; 2 - горизонтальная (левая) часть светотеневой границы; 3 - наклонная (правая) часть светотеневой границы;
4 - вертикальная плоскость, проходящая через ось отсчета; 5 - плоскость, параллельная плоскости рабочей площадки, на которой установлено транспортное средство; 6 - плоскость матового экрана; α - угол наклона светового пучка к горизонтальной плоскости; L - расстояние от оптического центра фары до экрана; 7 - положение контрольной точки для измерения силы света в направлении оси отсчета светового прибора); 8 - положение контрольной точки для измерения силы света в режиме "ближний свет" в направлении линии, расположенной в одной вертикальной плоскости с оптической осью прибора для проверки и регулировки фар, и направленной под углом 52′ ниже горизонтальной части светотеневой границы светового пучка ближнего света;
9 - положение контрольной точки для измерения силы света противотуманных фар в направлении 3° вверх; 10, 11 - координаты точек для измерения положения светотеневой границы в вертикальной плоскости; R - расстояние по экрану от проекции оптического центра фары до положения горизонтальной (левой) части светотеневой границы; К - расстояние по экрану от проекции оптического центра фары до положения светотеневой границы пучка света противотуманной фары; Н - расстояние от проекции оптического центра фары до плоскости рабочей площадки; U, S - координаты точек измерения положения светотеневой границы в горизонтальной и вертикальной плоскостях соответственно
(значения U ≤ 600 мм; S = 174,5 мм)
|
|
|
Рис. 1. Схема расположения транспортного средства на посту проверки света фар, форма светотеневой границы и размещение контрольных точек на экране:
а) для режима "ближний свет" с наклонным правым участком светотеневой границы;
б) для режима "ближний свет" с ломаным правым участком светотеневой границы;
в) для противотуманных фар
Параметры регулировки противотуманных фар
Таблица 3
| Расстояние от оптического центра фары до плоскости рабочей площадки Н, мм | Номинальный угол наклона светового пучка фары в вертикальной плоскости a, не менее | Расстояние R от проекции оптического центра фары до светотеневой границы на экране, удаленном на 10 м, мм | |
| угл. мин. | процентов | ||
| до 800 включительно | 1,0 | ||
| свыше 800 | 1,5 |
3.12. Сила света противотуманных фар, измеренная в вертикальной плоскости, проходящей через ось отсчета, должна быть не более 625 кд в направлении 3° вверх от положения светотеневой границы. При несоответствии силы света указанной выше величине проводят повторную регулировку не ниже минус 0,5 процентов в вертикальном направлении от номинального значения угла по таблице 3 и измерение силы света.
3.13. Изменение мест расположения и демонтаж предусмотренных эксплуатационной документацией транспортного средства фар, сигнальных фонарей, световозвращателей и контурной маркировки не допускается.
3.14. На транспортных средствах, снятых с производства, допускается замена внешних световых приборов на используемые на транспортных средствах других типов.
4. Требования к стеклоочистителям и стеклоомывателям
4.1. Применяются требования пунктов 2.4.5 и 2.4.7 Приложения № 5 к настоящему техническому регламенту.
4.2. Стеклоочистители и стеклоомыватели должны быть работоспособны.
5. Требования к шинам и колесам
5.1. Транспортные средства должны быть укомплектованы шинами в соответствии с требованиями изготовителя согласно эксплуатационной документации изготовителя или утвержденными Правилами эксплуатации автомобильных шин.
|
|
|
5.2. Применяются требования пунктов 2.3.2 - 2.3.4 Приложения № 5 к настоящему техническому регламенту.
5.3. Применение восстановленных шин
5.3.1. На транспортных средствах категории М1, а также транспортных средствах категорий М2 и М3 классов А и I допускается применение шин, восстановленных по классу I, а на их задних осях, кроме того, восстановленных по классам II и Д.
5.3.2. На передней оси магистральных тягачей с бескапотной компоновкой категорий N2 и N3 и транспортных средств категорий М2 и М3 классов В, II и III применение восстановленных шин не допускается.
5.3.3. На средних и задней осях транспортных средств категорий М2 и М3 классов В, II и III допускается применение шин, восстановленных по классу I.
5.3.4. На всех осях транспортных средств категории N, за исключением указанных в пункте 5.3.2, а также транспортных средств категории О, допускается применение шин, восстановленных по классам I и II, а на их задних осях, кроме того, еще и по классам Д и III.
5.3.5. На задней оси транспортных средствах категории М, средних и задней осях транспортных средств категории N, на любых осях транспортных средств категории О допускается применение шин с отремонтированными местными повреждениями и рисунком протектора, углубленным методом нарезки.
Примечание: Определение классов восстановления шин в соответствии с утвержденными Правилами эксплуатации автомобильных шин.
6. Требования к двигателю и его системам
6.1. Транспортные средства, начиная с 2007 года выпуска включительно, должны соответствовать требованиям специального технического регламента "О требованиях к выбросам автомобильной техникой, выпускаемой в обращение на территории Российской Федерации, вредных (загрязняющих) веществ" (утвержден постановлением Правительства Российской Федерации от 12 октября 2005 г. № 609).
Предельно допустимое содержание выбросов вредных веществ должно находиться в пределах, установленных для соответствующих экологических классов с учетом фактора детериорации.
6.2. Для транспортных средств по 2006 год выпуска включительно:
6.2.1. Предельно допустимое содержание оксида углерода (СО) и углеводородов (СnНm) в отработавших газах транспортного средства с бензиновыми двигателями в режиме холостого хода на минимальной и повышенной частотах вращения коленчатого вала двигателя должно быть в пределах данных, установленных изготовителем, и не должно превышать значений, указанных в таблице 4.
Таблица 4.
| Категории и комплектация транспортных средств | Частота вращения коленчатого вала двигателя | СО, объемная доля, процентов | СnНm, объемная доля, млн-1 |
| M и N, изготовленные до 1 октября 1986 г. | минимальная | 4,5 | - |
| M1 и N1, не оснащенные системами нейтрализации отработавших газов | минимальная | 3,5 | |
| повышенная | 2,0 | ||
| M2, М3, N2 и N3, не оснащенные системами нейтрализации отработавших газов | минимальная | 3,5 | |
| повышенная | 2,0 | ||
| M1 и N1, оснащенные двухкомпонентными системами нейтрализации отработавших газов | минимальная | 1,0 | |
| повышенная | 0,6 | ||
| M2, М3, N2 и N3, оснащенные двухкомпонентными системами нейтрализации отработавших газов | минимальная | 1,0 | |
| повышенная | 0,6 | ||
| M1 и N1, оснащенные трехкомпонентными системами нейтрализации отработавших газов | минимальная | 0,5 | |
| повышенная | 0,3 | ||
| M2, М3, N2 и N3, оснащенные трехкомпонентными системами нейтрализации отработавших газов | минимальная | 0,5 | |
| повышенная | 0,3 |
6.2.2. Требования пункта 6.2.1 должны выполняться при частоте вращения коленчатого вала двигателя, установленной изготовителем,
а при отсутствии таких данных:
6.2.2.1. Не превышающей минимальной частоты вращения:
1100 мин-1 для транспортных средств категорий M1 и N1;
900 мин-1 для транспортных средств категорий M2, М3, N2 и N3;
6.2.2.2. Не ниже повышенной частоты вращения:
2500 мин-1 для транспортных средств категорий M1 и N1, не оснащенных системами нейтрализации отработавших газов;
2000 мин-1 для транспортных средств категорий M1 и N1, оснащенных системами нейтрализации отработавших газов и для всех транспортных средств категорий M2, М3, N2 и N3.
6.2.3. В условиях, установленных в пункте 6.2.2, значение коэффициента избытка воздуха у транспортных средств, оснащенных трехкомпонентными системами нейтрализации отработавших газов при минимальной и повышенной частоте вращения коленчатого вала двигателя должно быть в пределах данных, установленных изготовителем, а при отсутствии таких данных должно находиться в пределах от 0,97 до 1,03.
6.2.4. Предельно допустимое содержание оксида углерода (СО) и углеводородов (СnНm) в отработавших газах газобаллонных транспортных средств в режиме холостого хода на минимальной и повышенной частотах вращения коленчатого вала двигателя не должно превышать значений, указанных в таблице 5.
Таблица 5
| Дата изготов-ления транспорт-ного средства | Частота вращения коленчатого вала двигателя | СО, объемная доля, процентов по видам моторного топлива | СnНm, объемная доля, млн-1 для двигателей с рабочим объемом, дм3 и по видам моторного топлива | ||||
| СУГ, СПГ | КПГ | До 3 включит. | Свыше 3 | ||||
| СУГ, СПГ | КПГ | СУГ, СПГ | КПГ | ||||
| до 1 июля 2000 г. | минимальная | 3,0 | 3,0 | ||||
| повышенная | 2,0 | 2,0 | |||||
| после 1 июля 2000 г. | минимальная | 3,0 | 2,0 | ||||
| повышенная | 2,0 | 1,5 |
Примечание: СУГ - сжиженный углеводородный газ;
СПГ - сжиженный природных газ;
КПГ - компримированный природный газ.
6.2.5. При проведении проверки соответствия требованиям пункта 6.2.4 значение частоты вращения коленчатого вала двигателя устанавливается изготовителем, а при отсутствии таких данных:
Минимальная частота вращения - 800 + 50 мин-1;
Повышенная частота вращения - 3000 + 10 мин-1.
6.3. Предельно допустимый уровень дымности отработавших газов транспортных средств с дизелями в режиме свободного ускорения не должен превышать значение коэффициента поглощения света, указанного в документах, удостоверяющих соответствие транспортного средства Правилам ЕЭК ООН № 24-03, или на знаке официального утверждения, нанесенном на двигатель или транспортное средство, или установленных изготовителем, а при отсутствии выше указанных сведений - не должен превышать:
2,5 м-1 для двигателей без наддува;
3,0 м-1 для двигателей с наддувом.
6.4. При проведении проверки соответствия требованиям пунктов 6.2 и 6.3 пробег транспортного средства должен быть не менее 3000 км.
При меньшем пробеге проверка не проводится.
6.5. Подтекания и каплепадение топлива в системе питания бензиновых и дизельных двигателей, повторяющееся с интервалом более 20 капель в минуту, не допускаются.
6.6. Запорные устройства топливных баков и устройства перекрытия топлива должны быть работоспособны. Крышки топливных баков должны фиксироваться в закрытом положении, повреждения уплотняющих элементов крышек не допускаются.
6.7. Система питания транспортных средств, предназначенная для работы на компримированном природном газе, сжиженном природном газе и сжиженном углеводородном газе должна быть герметична. У транспортных средств, оснащенных такой системой питания, на наружной поверхности газовых баллонов должны быть нанесены их паспортные данные, в том числе дата действующего последующего освидетельствования. Не допускается использование газовых баллонов с истекшим сроком периодического их освидетельствования. Такая топливная система, ее размещение и установка должны соответствовать Правилам ЕЭК ООН № 66, 67, 107, 110 и 115.
6.8. В отношении внешнего шума транспортных средств применяются требования пункта 4.2 Приложения № 5 к настоящему техническому регламенту.
7. Требования к прочим элементам конструкции
7.1. В отношении зеркал заднего вида применяются требования пункта 2.5.1 Приложения № 5 к настоящему техническому регламенту.
7.2. Не допускается наличие дополнительных предметов или покрытий, ограничивающих обзорность с места водителя (за исключением зеркал заднего вида, деталей стеклоочистителей, наружных и нанесенных или встроенных в стекла радиоантенн, нагревательных элементов устройств размораживания и осушения ветрового стекла).
В верхней части ветрового стекла допускается крепление полосы прозрачной цветной пленки шириной не более 140 мм, а на транспортных средствах категорий M3, N2, N3 - шириной, не превышающей минимального расстояния между верхним краем ветрового стекла и верхней границей зоны его очистки стеклоочистителем.
На боковых и задних окнах транспортных средств категории М3 класса III допускается наличие занавесок.
7.3. В отношении светопропускания стекол, в том числе, покрытых прозрачными цветными пленками, применяются требования пункта 3.5.2 Приложения № 5 к настоящему техническому регламенту.
7.4. Наличие трещин на ветровых стеклах транспортных средств в зоне очистки стеклоочистителем половины стекла, расположенной со стороны водителя, не допускается.
7.5. Замки дверей кузова или кабины, запоры бортов грузовой платформы, запоры горловин цистерн, механизмы регулировки и фиксирующие устройства сидений водителя и пассажиров, устройство обогрева и обдува ветрового стекла, предусмотренное изготовителем транспортного средства противоугонное устройство, аварийный выключатель дверей и сигнал требования остановки на автобусе, аварийные выходы автобуса и устройства приведения их в действие, приборы внутреннего освещения салона автобуса, привод управления дверями и сигнализация их работы должны быть работоспособны.
7.6. Замки боковых навесных дверей транспортного средства должны фиксироваться в двух положениях запирания: промежуточном и окончательном.
7.7. Транспортное средство должно быть укомплектовано звуковым сигнальным прибором в рабочем состоянии. Звуковой сигнальный прибор должен при приведении в действие органа его управления издавать непрерывный и монотонный звук, акустический спектр которого не должен претерпевать значительных изменений.
7.8. Аварийные выходы в автобусах должны быть обозначены и иметь таблички по правилам их использования. Должен быть обеспечен свободный доступ к аварийным выходам.
7.9. Средства измерения скорости (спидометры) и пройденного пути должны быть работоспособны. Спидометры и одометры должны быть работоспособны. Тахографы должны быть работоспособны, метрологически проверены в установленном порядке и опломбированы.
7.10. Ослабление затяжки болтовых соединений и разрушения деталей подвески и карданной передачи транспортного средства не допускаются.
7.11. Рычаг регулятора уровня пола (кузова) транспортного средства с пневмоподвеской в снаряженном состоянии должен находиться в положении, предписанном изготовителем в эксплуатационной документации. Давление на контрольном выводе регулятора уровня пола транспортного средства с пневматической подвеской, изготовленного после 1 января 1997 г., должно соответствовать указанному в табличке изготовителя.
7.12. На транспортных средствах категорий N2, N3, О3 и О4 должны быть установлены задние и боковые защитные устройства. В отношении задних и боковых защитных устройств применяются требования пунктов 3.8.1 - 3.8.4 и 3.8.7 - 3.8.9 Приложения № 5 к настоящему техническому регламенту.
7.13. Деформации вследствие повреждений или изменения конструкции передних и задних бамперов транспортных средств категорий М и N, при которых радиус кривизны выступающих наружу частей бампера (за исключением деталей, изготовленных из неметаллических эластичных материалов) менее 5 мм, не допускаются.
7.14. Видимые разрушения, короткие замыкания и следы пробоя изоляции электрических проводов не допускаются.
7.15. Замок седельно-сцепного устройства седельных автомобилей-тягачей должен после сцепки закрываться автоматически. Ручная и автоматическая блокировки седельно-сцепного устройства должны предотвращать самопроизвольное расцепление тягача и полуприцепа. Деформации, разрывы, трещины и другие видимые повреждения сцепного шкворня, гнезда шкворня, опорной плиты, тягового крюка, шара тягово-сцепного устройства, трещины, разрушения, в том числе, местные, или отсутствие деталей сцепных устройств и их крепления не допускаются.
7.16. Одноосные прицепы (за исключением роспусков) и прицепы, не оборудованные рабочей тормозной системой, должны быть оборудованы предохранительными приспособлениями (цепями, тросами), которые должны быть работоспособны. Длина предохранительных цепей (тросов) должна предотвращать контакт сцепной петли дышла с дорожной поверхностью и при этом обеспечивать управление прицепом в случае обрыва (поломки) тягово-сцепного устройства. Предохранительные цепи (тросы) не должны крепиться к деталям тягово-сцепного устройства или деталям его крепления.
7.17. Прицепы (за исключением одноосных и роспусков) должны быть оборудованы устройством, поддерживающим сцепную петлю дышла в положении, облегчающем сцепку и расцепку с тяговым автомобилем. Деформации сцепной петли или дышла прицепа, грубо нарушающие положение их относительно продольной центральной плоскости симметрии прицепа, разрывы, трещины и другие видимые повреждения сцепной петли или дышла прицепа, не допускаются.
7.18. Продольный люфт в беззазорных тягово-сцепных устройствах с тяговой вилкой для сцепленного с прицепом тягача не допускается.
7.19. Тягово-сцепные устройства легковых автомобилей должны обеспечивать беззазорную сцепку сухарей замкового устройства с шаром. Самопроизвольная расцепка не допускается.
7.20. Передние буксирные устройства транспортного средства (за исключением прицепов и полуприцепов), оборудованных этими устройствами, должны быть работоспособны.
7.21. Требования к размерным характеристикам сцепных устройств
7.21.1. Диаметр сцепного шкворня сцепных устройств полуприцепов технически допустимой максимальной массой до 40 т должен быть в пределах от номинального, равного 50,9 мм, до предельно допустимого, составляющего 48,3 мм, а наибольший внутренний диаметр рабочих поверхностей захватов сцепного устройства - от 50,8 мм до 55 мм соответственно.
7.21.2. Диаметр сцепного шкворня сцепных устройств с клиновым замком полуприцепов с технически допустимой максимальной массой до 55 т должен быть в пределах от номинального, равного 50 мм, до предельно допустимого, составляющего 49 мм, а полуприцепов с технически допустимой максимальной массой более 55 т - в пределах от номинального, равного 89,1 мм, до предельно допустимого, составляющего 86,6 мм.
7.21.3. Диаметр зева тягового крюка тягово-сцепной системы "крюк-петля" грузовых автомобилей-тягачей, измеренный в продольной плоскости должен быть в пределах от минимального, составляющего 48,0 мм, до предельно допустимого, равного 53,0 мм, а наименьший диаметр сечения прутка сцепной петли - 43,9 мм, до 36 мм соответственно.
7.21.4. Диаметр шкворня типоразмера 40 мм беззазорных тягово-сцепных устройств с тяговой вилкой тягового автомобиля должен быть в пределах от номинального, составляющего 40 мм, до минимально допустимого, равного 36,2 мм, а диаметр шкворня типоразмера 50 мм в пределах от номинального, составляющего 50 мм, до минимально допустимого, равного 47,2 мм. Диаметр сменной вставки типоразмера 40 мм дышла прицепа должен быть в пределах от номинального, составляющего 40 мм, до предельно допустимого, равного 41,6 мм, а сменной вставки типоразмера 50 мм - в пределах от номинального, составляющего 50 мм, до предельно допустимого, равного 51,6 мм.
7.21.5. Диаметр шара тягово-сцепного устройства легковых автомобилей должен быть в пределах от номинального, равного 50,0 мм, до минимально допустимого, составляющего 49,6 мм.
7.22. Транспортные средства, используемые для перевозки пассажиров, специальных и опасных грузов, должны быть оснащены аппаратурой спутниковой навигации ГЛОНАСС или ГЛОНАСС/GPS. Виды таких транспортных средств определяются в порядке, установленном Правительством Российской Федерации.
7.23. Транспортные средства должны быть оснащены ремнями безопасности. В отношении ремней безопасности применяются требования пунктов 3.2.2 и 3.2.13 Приложения № 5 к настоящему техническому регламенту. Требования пункта 3.2.2 Приложения № 5 применяются с 1 января 2012 г.
7.24. Установка подушек безопасности, не предусмотренных эксплуатационной документацией транспортного средства, не допускается.
7.25. Транспортные средства должны быть укомплектованы знаком аварийной остановки, выполненным в соответствии с Правилами ЕЭК ООН № 27, медицинской аптечкой, а транспортные средства категории М3 классов II и III - тремя аптечками. Медицинские аптечки должна быть укомплектованы пригодными для использования препаратами.
7.26. Транспортные средства категорий М3, N2, N3, должны быть укомплектованы не менее, чем двумя противооткатными упорами.
7.27. Транспортные средства категорий М1 и N должны быть оснащены не менее чем одним порошковым или хладоновым огнетушителем емкостью не менее 2 л, а транспортные средства категорий М2 и М3 - двумя, один из которых должен размещаться в кабине водителя, а второй - в пассажирском салоне (кузове). Огнетушители должны быть опломбированы, и на них должен быть указан срок окончания использования, который на момент проверки не должен быть завершен.
7.28. Поручни в автобусах, запасное колесо, аккумуляторные батареи, сиденья, а также огнетушители и медицинская аптечка на транспортных средствах, оборудованных приспособлениями для их крепления, должны быть надежно закреплены в местах, предусмотренных конструкцией транспортного средства.
7.29. На транспортных средствах, оборудованных механизмами продольной регулировки положения подушки и угла наклона спинки сиденья или механизмом перемещения сиденья (для посадки и высадки пассажиров), указанные механизмы должны быть работоспособны. После прекращения регулирования или пользования эти механизмы должны автоматически блокироваться.
7.30. Высота подголовника от подушки сиденья в свободном (несжатом) состоянии, на транспортных средствах, изготовленных после 1 января 1999 г. и оборудованных нерегулируемыми по высоте подголовниками, должна быть не менее 800 мм, высота регулируемого подголовника в среднем положении должна быть 800+5 мм. Для транспортных средств, изготовленных до 1 января 1999 г., допускается уменьшение указанного значения до 750+5 мм.
7.31. Транспортные средства категорий N2 (полной массой свыше 7,5 т), N3, О3 и О4 должны быть оборудованы надколесными грязезащитными устройствами. Ширина этих устройств должна быть не менее ширины применяемых шин.
7.32. Вертикальная статическая нагрузка на тяговое устройство автомобиля от сцепной петли одноосного прицепа (прицепа-роспуска) в снаряженном состоянии не должна быть более 490 Н.
При вертикальной статической нагрузке от сцепной петли прицепа более 490 Н передняя опорная стойка должна быть оборудована механизмом подъема-опускания, обеспечивающим установку сцепной петли в положение сцепки (расцепки) прицепа с тягачом.
7.33. Держатель запасного колеса, лебедка и механизм подъема-опускания запасного колеса должны быть работоспособны. Храповое устройство лебедки должно четко фиксировать барабан с крепежным канатом.
7.34. Механизмы подъема и опускания опор и фиксаторы транспортного положения опор, предназначенные для предотвращения их самопроизвольного опускания при движении транспортного средства, должны быть работоспособны.
7.35. Каплепадение, повторяющееся с интервалом более 20 капель в минуту, масел и рабочих жидкостей из двигателя, коробки передач, бортовых редукторов, заднего моста, сцепления, аккумуляторной батареи, систем охлаждения и кондиционирования воздуха и дополнительно устанавливаемых на транспортных средствах гидравлических устройств не допускается.
7.36. Оборудование транспортных средств оперативных служб специальными световыми и (или) звуковыми сигнальными приборами, нанесение окраски по специальным цветографическим схемам должно соответствовать требованиям Приложения № 6 к настоящему техническому регламенту и без соответствующего разрешения не допускается.
7.37. Требования к маркировке транспортных средств
7.37.1. Маркировка, нанесенная на транспортное средство, должна соответствовать указанной в документах на это транспортное средство.
7.37.2. В отношении обеспечения возможности идентификации транспортных средств по государственным регистрационным знакам применяются требования пункта 6 Приложения № 8 к настоящему техническому регламенту.
_____________
ПРИЛОЖЕНИЕ № 8
к техническому регламенту
о безопасности колесных
транспортных средств






