Транзистор представляет собой полупроводниковый прибор с двумя взаимодействующими переходами и тремя или более выводами, усилительные свойства которого обусловлены явлениями инжекции и экстракции н Электропроводность базы может быть электронной (p -n - p) или дырочной (n - p - n). В (p -n - p) транзисторе основной ток создается дырками, текущими через базу, а в (n - p - n) - электронами. В усилительном режиме эмиттерный переход с мещен в прямом направлении, а коллекторный - в обратном. Соответственно вольтамперная характеристика эмиттерного перехода представляет прямую ветвь, а коллекторного - обратную.
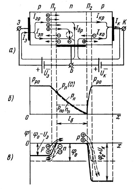
Концентрация основных носителей в области коллектора обычно несколько меньше, чем в области эмиттера. Распределение потенциала показано на Рис. 22.

Рис. 22. Распределение потенциалов и токов в структуре транзистора.
Штрих-пунктирная линия соответствует распределению потенциала при отсутствии питающих напряжений. Сплошная линия соответствует состоянию при подключенных источниках питания. При наличии коллекторного напряжения U к появляется небольшой обратный ток коллекторного перехода I кбо. Это важнейший параметр транзистора. Он представляет собой ток через коллекторный переход при заданном обратном напряжении U кб и разомкнутом выводе эмиттера. При наличии питания U э происходит прямое смещение эмиттерного перехода и появляется I э, определяемый током диффузии. Он имеет две составляющие - дырочную и электронную:
I э = I э n + I э p (3.1)
Поскольку база бедна основными носителями (электронами проводимости), а эмиттер имеет высокую концентрацию основных носителей (дырок проводимости) I э p >> I э n (pp 0 >> nn 0). Электронная составляющая замыкается через цепь базы и не участвует в создании тока коллектора. Диффузия электронов из базы в эмиттер восполняется притоком в базу новых электронов из внешней цепи, что и определяет электронную составляющую тока эмиттера. Отношение
I э p / I э = I э p / (I э p + I э n) = g = 0,97 - 0,995 (3.2)
называется эффективностью эмиттера или коэффициентом инжекции.
Дырочная составляющая тока эмиттера определяется переходом дырок из эмиттера в базу. Инжектированные дырки под действием диффузии перемещаются из базы к коллектору. При непрерывной инжекции (I э = const) в базе устанавливается соответствующее распределение концентрации дырок, что и определяет их перенос через базу. Дырки, как неосновные носители, переходят из базы к коллектору, ускоряются полем коллекторного перехода и увеличивают его ток. Концентрация дырок на границе равна нулю.
Рост I э приводит к росту концентрации дырок у эмиттерного перехода, в то время, как их концентрация у коллекторного перехода остается равной нулю. Растет диффузионный ток к коллектору. Часть дырок успевает рекомбинировать с электронами проводимости в базе, вызывая дополнительный приток электронов в базу из внешней цепи. Дырочная составляющая коллекторного тока поэтому меньше, чем эмиттерного тока. Отсюда:
I э р = I кр + I э рек, (3.3)
где I э рек - рекомбинационная составляющая, совпадающая по направлению с I э n и замыкающаяся через базу; I кр - дырочная часть тока эмиттера, замыкающаяся через коллектор.
Снижение потерь дырок от рекомбинации осуществляется за счет увеличения их времени жизни и сокращения времени нахождения в базе (база тонкая), а также увеличения скорости прохождения базы.
Базу делают тонкой и бедной основными носителями, а площадь коллекторного перехода - больше в разы, чем площадь эмиттерного. При этом
I э.рек << I кр
Отношение
(3.4)
называется коэффициентом переноса (как и для g, значение d близко к единице).
Величина
(3.5)
называется коэффициентом (статическим, интегральным) передачи тока эмиттера. Он показывает, какая часть тока эмиттера замыкается через коллекторную цепь. Увеличение a обеспечивается увеличением разности концентраций, увеличением времени жизни носителей, сокращением толщины базы.
По закону Кирхгофа
I э = I к + I б
здесь: I э = Iэп + I э.рек + I кр
I б = I эп + I э.рек - I кбо
I к = I кр + I кбо = a I э + I кбо
Коэффициент a зависит и от I э. С изменением I э коэффициент a изменяется из-за изменения концентрации дырок и числа рекомбинаций. Его первоначальный рост обусловлен ростом коэффициента переноса d, а последующее снижение - падением коэффициента инжекции g с ростом I э. Максимуму I э в маломощных транзисторах соответствует 0,8 - 3 А. При малых I э коэффициент a меньше единицы, т.к. в этом случае в базе из-за малой концентрации дырок не создается условий для их быстрого переноса через базу. Большинство дырок рекомбинирует и ток эмиттера замыкается через базу, не достигая коллекторного перехода. При больших токах эмиттера в базе накапливается большой заряд, который притягивает отрицательный заряд, образуемый электронами проводимости. Это снова увеличивает рекомбинацию и снижает коэффициент a.
Обратный ток коллекторного перехода обусловлен неосновными носителями - дырками базы. Это тепловой ток.
Управляющее действие транзистора обусловлено изменением дырочной составляющей коллекторного тока I кр за
|
заряда от эмиттера к коллектору через базу и управлении коллекторным током за счет тока эмиттера. Биполярный транзистор управляется током.






