Тиристором называется полупроводниковый прибор с двумя устойчивыми состояниями, имеющий три и более p-n -перехода, который может переключаться из закрытого состояния в открытое и наоборот.
Существует несколько типов тиристоров: динистор, однооперационный тиристор, двухоперационный тиристор, симистор, фототиристор.
|
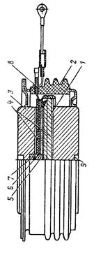
Кремниевый управляемый выпрямитель - однооперационный тиристор, представляет собой четырехслойную p-n-p-n структуру. Кристалл формируется диффузионным методом на базе пластинки кремния. Околокатодный слой образуется методом сплавления. Полученная таким образом “таблетка” закрепляется между
молибденовыми выводами анода и катода.
К верхнему слою приварен управляющий электрод. Полученный таким образом узел помещается в капсулу, используемую для охлаждения и защиты кристалла от механических воздействий (Рис.39).

а) б)
Рис. 39. Однооперационный тиристор
У большинства приборов капсула имеет винтовую нарезку со стороны анода, катод выполнен в виде гибкого вывода. Мощные тиристоры выполняются в “таблеточном” исполнении, т.е. в виде плоского круглого устройства, у которого обе поверхности являются контактными (Рис.39,б). Маломощные тиристоры выпускаются в корпусах, аналогичных транзисторным.
|
|
|
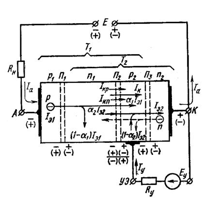
Четырехслойная структура образует три p-n -перехода. П1 и П3 называются эмиттерными, П2 - коллекторным. Области p 1 и n 2 - эмиттеры, p 2 и n 1 - базы.
Работу тиристора обычно рассматривают на модели двух транзисторов. Начнем с обратной ветви вольт-амперной характеристики.

Рис.40. Составляющие токов в тиристоре.
Обратная ветвь. Внешнее напряжение приложено минусом к аноду. На рисунке 40 это соответствует полярностям без скобок. Переход П2 смещен в прямом направлении, П1 и П3 - в обратном. П2 открыт и напряжение на нем мало. Поэтому обратное напряжение распределяется между переходами П1 и П3. Концентрация примеси в слоях p 2 и n 2 больше по сравнению со слоями p 1 и n 1. Переход П3 узкий. При обратном смещении он пробивается, поэтому все напряжение приложено к переходу П1 и обратная ветвь вольт-амперной характеристики аналогична обратной ветви единичного p-n перехода. Поэтому справедливо все, что было сказано об обратной ветви вольт-амперной характеристики диода.
Прямое смещение. Внешнее напряжение приложено плюсом к аноду, приняты полярности в скобках. Переходы П1 и П3 смещены в прямом направлении, П2 - в обратном. Внешнее напряжение приложено к переходу П2. Эмиттеры p 1 и n 2 инжектируют неосновные носители заряда в область базы. Оба транзистора работают в режиме усилителя. Рассмотрим случай, когда ток управления равен нулю.
|
|
|
В результате диффузии неосновные носители достигают коллекторный переход П2 и затягиваются в область коллектора. Часть носителей рекомбинирует в базовых областях с основными носителями. Обычно в транзисторах рекомбинационный ток основных носителей поступает от внешнего источника через базовый электрод. В рассматриваемом случае рекомбинационный ток в каждой из баз образуется из обратного тока коллекторного перехода и тока противоположного эмиттера. Обратный ток коллекторного перехода определяется из уравнения вольт-амперной характеристики p-n перехода
(5.1)
Выражение для вольт-амперной характеристики неуправляемого тиристора получим в виде
(5.2)
где a1 и a2 - статические коэффициенты передачи тока условных транзисторов; U к = U - U э1 - U э2; U э1 и U э2 - падение напряжения на эмиттерах p-n-p и n-p-n условных транзисторов; U - напряжение на тиристоре; I а – общий ток через тиристор.
Токи эквивалентного транзистора Т1 обусловлены движением дырок через базу n 1. Составляющая (1 - a1) I э1 - ток базы Т1, а a1 I э1 - ток коллектора Т1. В эквивалентном транзисторе Т2 ток переносится электронами (на рисунке 40 показано пунктиром). Составляющая (1 - a2) I э2 - ток базы Т2, а a2 I э2 - ток коллектора. Через смещенный в обратном направлении переход П2 течет ток неосновных носителей. Ток I кр образован дырками n 1 -области, I кn - образован электронами p 2 -области. Они образуют суммарный ток I к.
Коэффициенты a1 и a2 зависят от тока. Коэффициент a2 больше a1, т.к. база p 2 тоньше базы n 1 (это получено при изготовлении).
На начальном участке вольтамперной характеристики (Рис.42, участок 0 - б) U a мало, I a мал. a1 и a2 близки к 0. Величины a1 I э1 и a2 I э2 также близки к 0.
|
|
Ток через П2 и тиристор определяется тепловым током I к. Значит, начальный участок вольтампернойхарактеристики тиристора аналогичен обратной ветви вольтамперной характеристики перехода П2. По мере роста напряжения U a растет ток I к (растет поверхностный ток утечки и умножаются носители заряда). Растут a1 и a2 (Рис.42, участок б - в). Растут токи I к, a1 I э1, a2 I э2.
I П2 = I к + a1 I э1, + a2 I э2 (5.3)
Поскольку I у = 0, I а = I П2 = I э1 = I э2. Поэтому I П2 = I а = I к + (a1 + a2) I а
(5.4)
Точка в - граничная, в ней напряжение на тиристоре достигает значения напряжения переключения.
Рост составляющих a1 I э1, и a2 I э2 приводит к росту концентраций носителейвбазах n 1 и p 2. Снижается потенциальный барьер перехода П2. Одновременно снижаются потенциальные барьеры переходов П1 и П3, чтоприводит к дополнительной инжекции. Коэффициенты a1 и a2 еще более растут. Базы заполняются носителями зарядов. Это ведет к лавинному развитию процесса отпирания тиристора.
При (a1 + a2) > 1, U k = 0, коллекторный переход находится под нулевым смещением, I к = 0. Рекомбинационный ток неосновных носителей в базе уравновешивается током основных носителей, инжектированных противоположным эмиттером. Это соответствует началу участка отрицательного сопротивления. При этом ток через тиристор начинает резко возрастать при небольшом росте напряжения.
Участок г - д (Рис.42) - открытое состояние тиристора. В точке г напряжение на переходе П2 равно нулю. При этом I к = 0, (a1 + a2) = 1
I П2 = a1 I э1, + a2 I э2. (5.5)
Напряжение на тиристоре равно сумме напряжений на переходах П1 и П3, смещенных в прямом направлении. Переход П2 из-за наличия избыточных зарядов - дырок, в базе p 2 и электронов в базе n 1, переводится в проводящее состояние, обеспечивая инжекцию носителей. Ток I к меняет направление. Таким образом, на участке г - д все три перехода П1, П2, П3 смещены в прямом направлении. При (a1 + a2) > 1, напряжение U k > 0. Коллекторный переход смещен в прямом направлении. Рекомбинационный ток неосновных носителей в базе меньше тока основных носителей, инжектированных противоположными эмиттерами. Недостающую величину неосновных носителей инжектирует коллекторный переход. Это соответствует открытому состоянию тиристора. Поскольку все p-n переходы смещены в прямом направлении, в базах повышается концентрация носителей заряда. Сопротивление тиристора становится малым.
|
|
|
При наличии управляющего электрода подача на него положительного относительно эмиттера напряжения приводит к перераспределению рекомбинационного тока основных носителей в базе эквивалентного n-p-n транзистора. растет ток, инжектированный его эмиттером. Вследствие этого переключение тиристора в открытое состояние наступает при более низком напряжении анод-катод.
При I у > 0, I П2 = I э1 = I а, I э2 = I а + I у,
(5.6)
При этом дополнительно растет a2. Наличие a2 I у и быстрый рост a2 приводят к более раннему открытию тиристора.
При больших I у участок закрытого состояния тиристора на прямой ветви характеристики исчезает. Вольтамперная характеристика тиристора приближается к вольтамперной характеристике p-n перехода.
Сущность отпирания управляющим током состоит в том, что при подаче прямого напряжения тиристор закрыт, через него протекает малый ток. В требуемый момент времени подается импульс E у задающий необходимый импульс тока I у. Он больше тока спрямления, поэтому рабочая точка переходит на ветвь г - д:
(5.7)
Для того, чтобы тиристор перешел в закрытое состояние, необходимо уменьшить его анодный ток до величины, меньшей тока удержания. Это можно сделать за счет изменения полярности анодного напряжения.






