Фототиристор - по принципу действия подобен рассмотренному. Отличие состоит в том, что увеличение числа носителей заряда в тиристоре, необходимое для его отпирания, производится за счет освещения слоя p 2. В корпусе для этого предусмотрено специальное окно. Достоинством фототиристора является возможность обеспечить потенциальное разделение цепи управления и выходной цепи.
Двухоперационный тиристор - запирается импульсом управления обратной полярности. При этом ток базы в области p 2 уменьшается, что уменьшает остальные токи и анодный ток. В результате тиристор запирается.
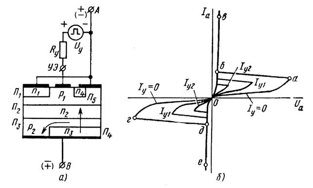
Симистор - представляет собой структуру, в которой при любой полярности создаются условия, соответствующие прямой ветви вольт-амперной характеристики обычного тиристора. Верхний слой металлизации связывает слои n 1, p 1, n 4. Нижний слой металлизации объединяет слои p 2 и n 3. Пусть тиристор закрыт и на аноде положительный потенциал. Переходы П2 и П4 смещены в прямом направлении, П3 - в обратном. Все внешнее напряжение приложено к переходу П3. При подаче положительного импульса на управляющий электрод переход П5 смещается в прямом направлении и инжектирует электроны из слоя n 4 в слой p 1. Эти электроны диффундируют к переходу П2, ускоряются им и входят в слой n 2, снижая его потенциал относительно слоя p 1. Прямое напряжение на переходе П2 растет, дырки из слоя p 1 инжектируются в слой n 2. Затем дырки ускоряются полем перехода П3 и перебрасываются в слой p 2. Поскольку поле перехода П4 тормозит дырки, они переходят в вывод В через слой p 2. Падение напряжения от тока через слой p 2 увеличивает прямое смещение перехода П4. Растет поток электронов из области n 3 в область p 2 и далее в n 2, что увеличивает поток дырок в направлении вывода В. При подаче напряжения обратной полярности структура n 1 - p 1 - n 2 - p 2 работает как обычный тиристор.
|
|
|

Рис. 48. Рис. 49.
Структура симистора. Вольт-амперная
характеристика
симистора






