Вибрационные мельницы применяют для тонкого помола кварцевого песка, огнеупорной глины, угля, кокса и других материалов. В отличие от шаровых мельниц и бегунов в вибрационных мельницах материал разрушается за счет ударного и истирающего воздействия мелющих тел, что позволяет резко интенсифицировать процесс, а вследствие равномерной и значительной циркуляции мелющих тел достигается высокая однородность помола.
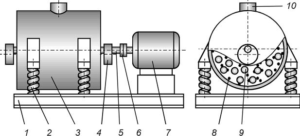
Вибрационная мельница (рис. 59) состоит из станины 1, на которой через пружинные опоры 2 установлена помольная камера 3. Привод осуществляется от электродвигателя 7 через упругую муфту 6 к валу 5 вибровозбудителя. Вибровозбудитель представляет собой вал с дебалансными дисками и может быть установлен с наружной стороны помольной камеры или внутри нее. На рисунке изображен второй вариант. При размещении вибровозбудителя внутри помольной камеры, его вал закрывается цилиндрическим кожухом.
Рис. 59. Вибрационная мельница |
Помольная камера 3 представляет собой стальной полый цилиндр, служащий корпусом мельницы, он футерован листовой сталью в зоне действия мелющих тел и материала. В верхней части камеры имеется загрузочное отверстие 10. В нижней части камеры находится разгрузочное отверстие, с колосниковой решеткой. Решетка пропускает измельченный материал, но задерживает мелющие тела. Во избежание пылевыделения все отверстия закрывают пробками с резиновыми уплотнениями.
|
|
|
Опорную металлическую раму 1 вибрационной мельницы устанавливают на деревянный настил, а между ними прокладывают листовую резину. Это исключает вредное воздействие вибрации на фундамент.
Мелющие тела представляют собой стальные цилиндры диаметром от 10 до 20 мм и высотой 1,5 d. Масса мелющих тел в 2¸3 раза больше массы загружаемого для помола материала. Измельчение материала происходит вследствие истирания при взаимодействии кусков между собой и мелющими телами.
При одной и той же мощности привода производительность вибрационных мельниц в 2 раза больше производительности шаровых мельниц. Вибрационные мельницы менее требовательны к влажности материала. Так, например, при помоле на бегунах и в шаровой мельнице требуется предварительная сушка глины до влажности 2¸3 %, а в вибрационной мельнице можно измельчать глину с влажностью до 6¸8 %.
Собственная масса вибрационных мельниц и их габаритные размеры значительно меньше шаровых для одной и той же мощности привода. Частота колебаний вибратора мельниц обычно составляет 25 с–1, амплитуда колебаний помольной камеры 4¸5 мм.
Конструкция вибрационной мельницы, представленной на рис. 59, не является типовой. Существуют и другие типы вибрационных мельниц, но принцип их работы тот же.
Рис. 59. Вибрационная мельница 





