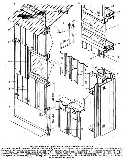
Стены из волнистых асбестоцементных листов (рис. 88) устраивают в неотапливаемых зданиях и в цехах с избыточным тепловыделением. Нижняя часть стены на высоту 1,8—3,6 м, подверженная увлажнению и механическим воздействиям, устраивается из кирпича или железобетонных панелей.
Асбестоцементные листы навешивают на ригели стенового фахверка- Их устанавливают внахлестку в горизонтальном направлении на ширину одной волны, а в вертикальном— на 100 мм. В местах пересечения продольной и поперечной нахлестки (рис. 88,г) углы двух сходящихся листов срезают.
Листы к ригелям фахверка закрепляют крюками с нарезкой для болтов. Водонепроницаемость в местах крепления обеспечивается установкой штампованных шайб с упругой прокладкой. Оцинковка стальных деталей крепления защищает их от коррозии.
Места примыкания к оконным проемам, углы стен и деформационные швы обрамляются листами специального профиля.
Стены неотапливаемых зданий выполняются также из листов волнистого металла и стеклопластика. Конструктивное решение таких, стен аналогично ограждениям из волнистых асбестоцементных листов.







