Приборы и оборудование для контроля и измерения давления, температуры в поверхностных условиях. Устройства для измерения расхода природного газа
Наиболее распространение в технологических процессах добычи, подготовки и транспорта природных углеводородов получили показывающие пружинные манометры. Чувствительным элементов данной группы манометров является трубчатая пружина, так называемая пружина Бурдона, представляющая собой согнутую по кругу трубку овального или эллиптического сечения, малая ось которой совпадает с радиусом. Один конец трубки Бурдона предназначен для подвода измеряемого давления, а другой закрыт заглушкой. Схема устройства показывающего манометра приведена на рисунке 1.

Рисунок 1. Показывающий манометр:
а – общий вид; б – передаточный механизм; 1 – ниппель; 2 – тяга; 3 – зубчатый сектор; 4 – показывающая стрелка; 5 – трубка Бурдона; 6 – триб (шестерня);
7 – спиральная пружина (волосок);
Принцип работы показывающего манометра сводится к следующему. Под действием измеряемого давления на внутреннюю полость пружины 5, её сечение деформируется, приобретая при этом наиболее устойчивую форму окружности. Свободный конец трубки перемещается на величину, пропорциональную измеряемому давлению. С помощью передаточного механизма состоящего из шестерни (триба) 6 и зубчатого сектора 3, достигается преобразование свободного конца пружины 5, во вращательное движение показывающей стрелки 4. Сектор 4 соединенный шарнирно с тягой 2 пружины 5, приводит во вращательное движение триб 6, закрепленный на оси стрелки прибора 3. Спиральная пружина 7, закрепленная одним концом на оси, а другим на кронштейне обеспечивает регулировку зазоров в шарнирных и зубчатых зацеплениях. Поворот показывающей стрелки 4 отсчитывается по круговой шкале с углом охвата в 270 0. Измеряемое давление подводится с помощью ниппеля 1, который имеет резьбу для подключения к объекту, на котором измеряется давление.
|
|
|
В зависимости от класса точности манометры этого типа подразделяются на образцовые и на рабочие. К первой группе относятся манометры с классом точности: 0,16; 0,25; 0,40;0,060. Показывающие манометры выпускаются на предельные значения давления от 0,05 до 200,0 МПа.
Образцовые манометры в основном используются для поверки рабочих манометров и при измерении давления при гидродинамических и прочих видах исследований скважин.
Для измерения давлений находящихся в пределах 0,03 – 1,00 МПа, применяю показывающие манометры, в которых чувствительным элементом служат сильфон (гармониковая мембрана) или пластинчатая мембрана. Манометры этой разновидности в основном используются для измерения давления в загрязненных жидкостях, поскольку мембрана в данном случае выполняет и роль разделителя.
|
|
|
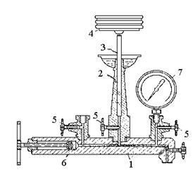
Для поверки образцовых показывающих манометров основным средством являются грузопоршневые манометры, где давление создается с помощью ручного гидравлического пресса и измеряется путём сравнения его массы с массой грузов. Принципиальная схема грузопоршневого манометра приведена на рисунке 2.

Рисунок 2. Принципиальная схема грузопоршневого манометра: 1 – корпус пресса; 2 – цилиндр; 3 – полированный поршень; 4 – тарелка с грузами; 5 – вентиля; 6 – поршень с уплотнительной манжетой (гидравлический пресс); 7 – поверяемый манометр.
Измерительная часть грузопоршневого манометра включает в себя полированный поршень 3, притертый по цилиндру 2. Сверху на поршне 3 закреплена тарелка с тарированными грузами 4. Полость под поршнем 6 заполнена маслом и снабжена уплотнительной резиновой манжетой, и сообщается каналом с прессом винтового гидравлического типа.
Меняя величины грузов можно создавать различные значения давления. Внутренняя полость гидравлического пресса 1 посредством каналов соединена со штуцерами вентилей 5. На штуцера присоединяются поверяемые манометры 7. Перед поверкой манометры необходимо заполнить маслом, а сам поршневой манометр установить п о уровню. Во время поверки манометров необходимо вращатьв ручную тарелку с грузом.
Гидравлический пресс заполняется маслом при помощи поршня 6, из воронки установленной на одном из штуцеров вентиля 5. После установки поверяемого манометра 7 в штуцер 5, с помощью гидравлического пресса: поднимают давление в системе до тех пор, пока измерительный поршень с грузами не начнет подниматься. Проводя аналогичные операции с различным значением (весом) грузов, осуществляют проверку правильности показаний поверяемого манометра в пределах всей его шкалы.
Грузопоршневые манометры типа МП используемые в промысловой практике выпускают на следующие предельные значения давления - 6, 25, 60 и 250 МПа.
Для замера низких значений давления в промысловой практике так же нашли применение жидкостные манометры и дифференциальные манометры. Принципиальная конструкция жидкостных манометров приведена на рисунке 3.
Двухтрубный манометра выполнен в виде U – образной стеклянной трубки (рисунок 3.а) с делениями, нанесенных через 1 мм. U – образная стеклянная трубка заполняется жидкостью – водой, спиртом или ртутью. Один из концов манометра сообщается с атмосферой, а другой с объектом, где производится определение давления.

Рисунок 3. Схема основных жидкостных манометров:
а – U – образного; б - микроманометра; в – однотрубного
Одной из разновидностей двухтрубного манометра является чашечный однотрубный манометр, так называемый, микроманометр. Конструкция микроманометра представляет собой прибор (рисунок 3.б), у которого одно колено трубки выполнено в виде чашки с большей площадью поперечного сечения (в 10 – 20 раз), чем у второго колена. В этой связи, значением уровня в чашке пренебрегают, и показания давления отсчитываются только по изменению уровня в трубке. Такая конструкция манометра позволяет в два раза уменьшить погрешность отсчёта уровня по сравнению с двухтрубным манометром.
При измерении весьма малых значений давлений, используют жидкостные микроманометры с наклонным положением трубки (рисунок 3.в). При таком положении трубки высота столба жидкости уравновешивающая измеренное давление, определяется из выражения вида:
h = l·sinφ, (1)
где l- длина столба жидкости по шкале;
- угол наклона трубки манометра.
В расходомерах, при измерении перепадов давления применяют различные типы дифференциальных манометров – трубные жидкостные, поплавковые, мембранные и сильфонные. Первый тип дифференциального манометра применяют в лабораторных условиях и проверки других приборов на месте их установки.
|
|
|
Рассмотрим конструкцию поплавкового дифференциального манометра, принцип действия которого аналогичен двухтрубному жидкостному дифференциальному манометру. Различие только в том, что отсчёт показаний осуществляется не прямо по высоте столбика ртути, а по перемещению поплавка находящегося на поверхности ртути, в одном из колен.
Принципиальная схема поплавкового дифференциального манометра приведена на рисунке 5. Измерительный прибор данной конструкции имеет два металлических сосуда 1 и 2, соединенных между собой трубкой 11. К сосуду 1 (большего диаметра или так называемому, плюсовому) подаётся более высокое давление, чем в минусовой сосуд 2. Из-за перепада давления ртуть из плюсового сосуда поступает в минусовой сосуд и поплавок 9 опускается в соответствии с изменением уровня ртути в плюсовом сосуде.

Рисунок 4. Дифференциальный манометр поплавкового типа:
1 - плюсовой сосуд; 2 – минусовой сосуд; 3 – запорные вентиля; 4 – уравнительный вентиль; 5, 10 – пробки;
6 – ось; 7 – рычаг; 8 – уплотнительная манжета; 9 – поплавок.
Перемещение поплавка в плюсовом сосуде передается отсчётному устройству прибора механическим или электрическим способом. На приведенном рисунке показан механический способ передачи перемещения поплавка с помощью рычага 7, поворачивается ось 6, которая выведена из сосуда с давлением через уплотнительную манжету 8. На верху дифференциального манометра установлена вентильная головка, включающая в себя два запорных вентиля 3 и один уравнительный вентиль 4.
Под поплавком 9 имеется предохранительный клапан, разобщающий плюсовой и минусовой сосуды в случае превышения допустимых пределов измерения. Заполнение прибора ртутью осуществляют отверстия закрываемые пробками 5 и 10.
Пределы измерения статического давления у дифференциальных манометров марки ДП-430 и ДП-630 равны - 1,6; 2,5; 4,0; 6,0; 10,0; 16,0 МПа, верхние пределы измерения перепада давления – от 40 мм. рт. ст. до 0,01МПа,погрешность измерения приборов составляет 1,0 – 1,5 %. Приборы данной марки обеспечивают одновременную фиксация расхода и статического давления.
|
|
|
Мембранные дифференциальные манометры (ДМ) – это бесшкальные приборы, преобразующие замеренную разность давлений в электрический сигнал воспринимаемый вторичным прибором. Принципиальная схема мембранного дифференциального манометра типа ДМ приведена на рисунке 5.

Рисунок 5. Дифференциальный манометр мембранного типа:
1 – мембранный блок; 2 – стержень - сердечник; 3 – плунжер; 4 – индукционная катушка;5 – импульсные трубки; 6 - запорные вентиля; 7 – уравнительный вентиль
Чувствительным элементом в рассматриваемом типе дифференциального манометра является мембранный блок, состоящий из двух коробок 1, каждая из которых сварена из мембран одинакового профиля, сообщающихся между собой и заполненных дистиллированной водой. Верхняя мембрана через стержень 2, проходящий через её центр связана с плунжером 3, который перемещается внутри индукционных катушек 4. Через запорные вентиля 6 по импульсным трубкам 5
Чувствительным элементом в рассматриваемом типе дифференциального манометра является мембранный блок, состоящий из двух коробок 1, каждая из которых сварена из мембран одинакового профиля, сообщающихся между собой и заполненных дистиллированной водой. Верхняя мембрана через стержень 2, проходящий через её центр связана с плунжером 3, который перемещается внутри индукционных катушек 4. Через запорные вентиля 6 по импульсным трубкам 5 шкалой (молочного цвета) капилляр помещается в стеклянную трубку, припаянную к резервуару.
Основные технические параметры мембранных манометров приведены в таблице 1.
Таблица 1. Характеристика дифференциальных манометров мембранного типа
| Модель дифманометра | Диапазон перепада давления, МПа | Избыточное допустимое давление, МПа | Номинальная сила тока питания преобразователя, мА |
| ДМ - 3573 | 16,00 – 0,63 | 6,3 | |
| ДМ - 3574 | 16,00 – 0,63 | 25,0 | |
| ДМ - 3583 | 16,00 – 0,63 | 16,0 | |
| ДМИ | 6,30 – 0,01 | 6,3 |