Течение реальной жидкости характеризуется различными режимами ее движения, которые могут переходить один в другой при определенных условиях. Экспериментальные исследования гидравлических сопротивлений показывают, что потери напора (потери энергии) зависят от существующего в потоке режима движения.
Существование двух принципиально разных режимов движения жидкости было отмечено Г. Хагеном в 1839 и 1854 г г. В 1880 г. Д. И. Менделеев также высказал суждение о существовании двух режимов движения жидкости вследствие различия законов сопротивления движению. Позже английский физик О. Рейнольдс, а затем профессор Петербургского технологического института Н. П. Петров экспериментально подтвердили наличие двух режимов.
При изучении течения всевозможных капельных жидкостей с различными физическими свойствами. Рейнольдс установил, что движение бывает ламинарным и турбулентным.
“Ламинарный” происходит от латинского слова lamina - слой. Ламинарным называется такой режим, когда поток жидкости движется отдельными струйками или слоями и траектории отдельных частиц между собой не пересекаются. В практике ламинарный режим имеет место при движении жидкостей с большой вязкостью (нефти, смазочных масел), при движении воды через тонкие трубки, в трубопроводах при малых скоростях потока.
“Турбулентный” происходит от латинского слова turbulentus - беспорядочный. Турбулентным называется такой режим, когда струйчатость потока нарушается, все струйки перемешиваются и траектории движущихся частиц приобретают сложную форму, пересекаясь между собой. В практике чаще всего имеет место турбулентный режим движения жидкости.
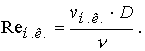
В 1883 г. Рейнольдс в результате экспериментальных исследований установил, что критерием режима движения жидкости является безразмерная величина, представляющая собой отношение произведения средней скорости потока v и характерного для рассматриваемого случая линейного размера L к кинематической вязкости жидкости n:
. Этот критерий называется числом Рейнольдса и обозначается Re. Таким образом, число Рейнольдса имеет вид
(1)
При напорном движении жидкости в круглых трубах за характерный линейный размер L обычно принимают внутренний диаметр трубы D и тогда
(2)
а в остальных случаях - гидравлический радиус R
(3)
Физический смысл числа Рейнольдса состоит в том, что оно выражает отношение сил инерции к силам вязкости:




При преобладании сил вязкости - режим ламинарный, при преобладании сил инерции - режим турбулентный.
Многочисленные экспериментальные исследования гидравлических сопротивлений показывают, что между ними и скоростью движения жидкости имеется зависимость hl = f(v).
Если опытные данные нанести на график в логарифмических координатах (рис. 6), то можно выявить три области: ламинарную (линияAB), турбулентную (линия CD) и неустойчивую, расположенную между точками B и C. Точки В и С называются критическими, то есть точками, в которых происходит изменение режима. Точка В называется нижней критической точкой. Скорости, соответствующие этим точкам, называются критическими скоростями. Для точек В и С характерныо то, что при скоростях меньше vН.К. всегда наблюдается ламинарный режим, а при скоростях больших vВ.К. - турбулентный режим. При изменении скоростей от малых к большим ламинарный режим может удерживаться до точки Е. При изменении скоростей от больших к малым, турбулентный режим может удерживаться до точки В.

Рис. 4. Переход ламинарного режима движения жидкости в турбулентный
Значение числа Рейнольдса, соответствующее нижней критической точке В, называется нижним критическим числом Рейнольдса и равно
(5)
Число Рейнольдса, соответствующее верхней критической точке С, называется верхним критическим числом и равно
(6)
Для напорного движения в цилиндрических трубах нижнее критическое число равно 956, то есть ламинарный режим устойчив, если
Re < 956.
В результате изучения движения жидкости, проведенного многими исследователями, в круглых гидравлически “гладких” трубах на участках, достаточно удаленных от входа, при отсутствии различных источников возмущения установлено критическое число Рейнольдса Re кр = 2000 - 2320. При Re < Re кр имеет место ламинарный режим движения. При Re > Re кр - турбулентный.
Потери напора по длине связаны со скоростью зависимостью, которая выражается уравнением
, (7)
где hl - потери напора по длине; a - коэффициент пропорциональности; v - средняя скорость потока; m - показатель степени.
Прологарифмировав данное уравнение, можно получить линейную зависимость
, (8)
откуда
(9)
Если точки, соответствующие значениям lg hl, lg v, нанести на график, то значение показателя степени m определится как tg a угла наклона прямых в ламинарной и турбулентной областях к горизонтальной оси (рис. 7).
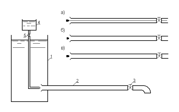
Режимы движения жидкости можно наблюдать визуально, на установке (рис. 8), которая состоит из резервуара 1 с водой, стеклянной трубы 2 с краном 3 на конце, и сосуда 4 с водным раствором красителя, который вводится тонкой струйкой внутрь стеклянной трубы 2 при открытии крана 5.
Если в трубе 2 создать небольшую скорость движения воды и в поток ввести краситель, то увидим, что краситель не будет перемешиваться с потоком воды. Струйка красителя будет отчетливо видна вдоль всей стеклянной трубы, что указывает на слоистый характер движения жидкости, то есть ламинарный режим (рис. 8, а).

Рис. 6. Установка для демонстрации режимов движения жидкости
При постепенном увеличении скорости движения воды в трубе картина движения в начале не меняется, но затем при определенной скорости движения наступает быстрое ее изменение. Струйка красителя по выходе из трубки начинает колебаться, в ней появляются разрывы (рис. 6, б). Затем она размывается и перемешивается с потоком воды, причем становятся заметными вихреобразования и вращательное движение жидкости. Движение становится турбулентным (рис. 6, в).
КОНТРОЛЬНЫЕ ВОПРОСЫ
1. Как определить режим движения жидкости?
2. В чем состоит физический смысл числа Рейнольдса?
3. Доказать, что число Рейнольдса представляет соотношение сил инерции и сил вязкости.
4. Для решения каких задач необходимо знать режим движения жидкости?
5. Во сколько раз изменится число Рейнольдса, если диаметр изменить в 2 раза, а расход и температура не меняются?
6. Как изменится число Рейнольдса, если температура жидкости увеличится?
7. Возможен ли переход турбулентного режима в ламинарный при повышении температуры жидкости?
8. Возможен ли переход ламинарного режима в турбулентный при понижении температуры?
9. Как изменится скорость течения жидкости, если ламинарный режим движения жидкости перейдет в турбулентный, а температура жидкости останется постоянной?
10. Как изменится расход жидкости, если турбулентный режим движения жидкости перейдет в ламинарный, а температура жидкости останется постоянной?