Основное уравнение расхода (2.3) справедливо и для сопел. Расходомерное сопло (рис. 2.3) представляет собой устройство с круглым отверстием, имеющим плавно сужающуюся часть на входе и цилиндрическую часть на выходе.
Точность измерения расхода соплами несколько выше точности измерения диафрагмами благодаря отсутствию дополнительной погрешности на недостаточную остроту входной кромки. Сопла в качестве сужающих устройств для расходомеров распространения не получили, так как потери напора в них немногим меньше, чем в диафрагмах, а изготовление их значительно сложнее.
Сужающим устройством, обладающим высокой точностью измерения расхода и не создающим больших потерь напора, является сопло Вентури.
Соплом Вентури называется сужающее устройство, входная часть которого выполнена по форме стандартного сопла, а в устье имеется конус, служащий для уменьшения потерь напора.
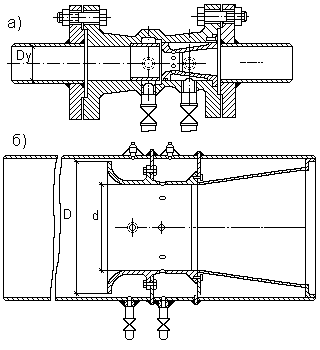
В зависимости от длины и центрального угла конуса различают длинные и укороченные сопла Вентури. В системах водоснабжения и канализации чаще используются укороченные сопла Вентури. Сопла Вентури изготавливают двух типов (рис. 2.4).
|
|
|
Первый тип предназначен для труб условным проходом от 50 до 200 мм, выполняют с соплом из цветных металлов и чугунным корпусом. Второй тип предназначен для труб условным проходом от 250 до 1400 мм, выполняют с чугунным соплом, покрытым антикоррозионным корпусом без фланцев.
При установке сопла Вентури необходимо соблюдать соосность трубы и сопла. Вблизи сопла Вентури должны отсутствовать источники, приводящие к искажению потока.
Трубы Вентури
Трубы Вентури были предложены ранее других сужающих устройств. В зависимости от размеров диффузора трубы Вентури бывают короткими и длинными. Различают три конструктивных исполнения труб Вентури: А - стальные сварные из листового материала на Dу = 200... 1400 мм, Ру до 16 МПа; Б - с литыми необработанными входными частями, обработанной горловиной на Dу = 100... 800 мм Ру до 25 МПа; В - с обработанными входным патрубком, конусом и горловиной на Dу = 50... 250 мм, Ру до 4 МПа.
Наиболее простыми и удобными в изготовлении являются сварные трубы Вентури.
Стандартные трубы Вентури (рис. 2.5) состоят из следующих основных частей: входного цилиндра, сужающего конуса, горловины, расширяющегося конуса и выходного цилиндра. Все части собираются путем сварки. Отбор давления осуществляется из усредняющих кольцевых камер. В нижней части кольцевых камер устанавливаются пробковые краны для спуска жидкости.
Трубы Вентури присоединяют к стальным трубопроводам сваркой. В некоторых случаях допускается присоединение на фланцах.
Особенностью стандартных труб Вентури является их малая металлоемкость. Необходимые длины прямых участков перед трубами Вентури существенно






