Это разновидность комбинированных двигателей, у которых поршневая машина является генератором горячего газа используемого в газовой турбине для совершения полезной работы. СПГГ работает по циклу Дизеля.

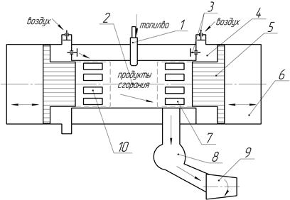
1 – топливная форсунка; 2 – камера сгорания; 3 – впускные клапана; 4 – компрессорная полость; 5 – поршень; 6 – буферная полость; 7 – выпускные окна; 8 – ресивер; 9 – турбина; 10 – впускные окна.
Принцип действия.
1) Воздух из атмосферы вследствие разряжения на обратном ходе поршня поступает в компрессорную полость;
2) Из компрессорной полости воздух вытесняется в камеру сгорания и сжимается за счет энергии газа в буферной полости;
3) Через форсунку в КС впрыскивается топливо и самовоспламеняется от сжатия;
4) Горячие газы под давлением поступают на турбину, расширяются и совершают полезную работу.
Показатели работы СПГГ.
Мощность газовой турбины:

– температура газа перед турбиной;
– расход газа;
– давление окружающей среды;
– давление газа перед турбиной;
– теплоемкость газа.
|
|
|

,
– расходы воздуха и топлива;
– число ходов поршня в минуту;
– плотность на входе;
– коэффициент наполнения компрессорной полости;
– площадь компрессорной части поршня;
– ход поршня;
– цикловая подача топлива.

– индикаторная мощность поршневой части;
– мощность механических потерь;
– индикаторная мощность компрессорной части.

Преимущества:
1) Небольшая масса установки;
2) Хорошая уравновешенность;
3) Возможность работы на тяжелых сортах топлива.
Недостаток:
1) Повышенный удельный расход топлива (пониженный КПД).






