Большое значение в ядерной энергетике приобретает не только осуществление цепной реакции деления, но и управление ею. Устройства, в которых осуществляемся и поддерживается управляемая цепная реакция деления, называются ядерными реакторами. Пуск первого реактора в мире осуществлен в Чикагском университете (1942) под руководством Э. Ферми, в СССР (и в Европе) — в Москве (1946) под руководством И. В. Курчатова.
Дчя пояснения работы реактора рассмотрим принцип действия реактора на тепловых нейтронах (рис.47). В активной зоне реактора расположены тепловыделяющие элементы 1 и замедлитель 2. в котором нейтроны замедляются до тепловых скоростей. Тепловыделяющие элементы (твэлы) представляют собой блоки из делящегося материала, заключенные в герметическую оболочку, слабо поглощающую нейтроны. За счет энергии, выделяющейся при делении ядер, твэлы разогреваются, а поэтому для охлаждения они помещаются в поток теплоносителя (3 – канал для протока теплоносителя). Активная зона окружается отражателем 4, уменьшающим утечку нейтронов.
|
|
|
Управление цепной реакцией осуществляется специальными управляющими стержнями 5из материалов, сильно поглотающих нейтроны (например, В, Сd). Параметры реактора рассчитываются так, что при полностью вставленных стержнях реакция заведомо не идет, при постеленном вынимании стержней коэффициент размножении нейтронов растет и при некотором их положении доходит до единицы. В этот момент реактор начинает работать. По мере его работы количество делящегося материала в активной зоне уменьшается и происходит ее загрязнение осколками деления, среди которых могут быть сильные поглотители нейтронов. Чтобы реакции не прекратилась, из активной зоны с помощью автоматического устройства постепенно извлекаются управляющие (а часто специальные компенсирующие) стержни. Подобное управление реакцией возможно благодаря существованию запаздывающих нейтронов, испускаемых делящимися ядрами с запаздыванием до 1 мин. Когда ядерное топливо выгорает, реакция прекращается. До нового запуска реактора выгоревшее ядерное топливо извлекают и загружают новое. И реакторе имеются также аварийные стержни, введение которых при внезапном увеличении
интенсивности реакции немедленно ее обрывает.

Рис. 47
Ядерный реактор является мощным источником проникающей радиации (нейтроны, γ-излучение), примерно в 10 11 раз превышающей санитарные нормы. Поэтому любой реактор имеет биологическую защиту – систему экраном из защитных материалов (например, бетон. свинец, вода), располагающуюся за его отражателем, и пульт дистанционного управления.
|
|
|
Ядерные реакторы различаются:
1) по характеру основных материалов, находящихся в активной зоне (ядерное топливо, замедлитель, теплоноситель); в качестве делящихся и сырьевых веществ используются
U,
Pu,
U
U,
Th, в качестве замедлителей — вода (обычная и тяжелая), графит, бериллий, органические жидкости и т. д., в качестве теплоносителей – воздух, вода, водяной пар, Не, СО2 и т. д.
2) по характеру размещения ядерного топлива и замедлители в активной зоне: гомогенные (оба вещества равномерно смешаны друг с другом) и гетерогенные (оба вещества располагаются порознь в виде блоков);
3) по энергии нейтронов (реакторы на тепловых и быстрых нейтронах; в последних используются нейтроны деления и замедлитель вообще отсутствует),
4) по типу режима (непрерывные и импульсные):
5) по назначению (энергетические, исследовательские, реакторы по производству новых делящихся материалов, радиоактивных изотопов и т.д.).
В соответствии с рассмотренными признаками и образовались такие названия как уран-графитовые, водо-водяные. графито-газовые и т. д.
Среди ядерных реакторов особое место занимают энергетические реакторы-размножитсли. В них наряду с выработкой электроэнергии идет процесс воспроизводства ядерного горючего за счет реакции (265.2) или (266.2). Это означает, что в реакторе на естественном или слабообогащенном уране используется не только изотоп
U, но и изотоп
U. В настоящее время основой ядерной энергетики с воспроизводством горючего являются реакторы на быстрых нейтронах.
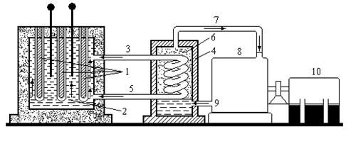
Впервые ядерная энергия для мирных целей использована в СССР. В Обнинске под руководством И. В. Курчатова введена в эксплуатацию (1054) первая атомная электростанция мощностью 5 МВт. Принцип работы атомной электростанции на водо-водяном реакторе приведен на рис. 48. Урановые блоки 1 погружены в воду 2, которая служит одновременно и замедлителем, и теплоносителем. Горячая вода (она находится под давлением и нагревается до 300 °С)из верхней части активной зоны реактора поступает через трубопровод 3в парогенератор 4, где она испаряется и, возвращается через трубопровод 5 в реактор. Насыщенный пар 6 через трубопровод 7 поступает в паровую турбину 8, возвращаясь после отработки через трубопровод 9 в парогенератор. Турбина вращает электрический генератор 10, ток от которого поступает в электрическую сеть.

Рис. 48