Предназначены для создания благоприятных условий, для завершающей стадии процесса коагуляции, чему способствует плавное перемешивание потока жидкости. По принципу действия камеры хлопьеобразования делятся:
-гидравлические (водоворотные камеры, перегородчатые, вихревые, зашламлённого типа);
-Механические (флокуляторы);
Для получения крупных хлопьев, вода должна находится в камере от 10 (вихревые) до 40 минут и более (механические) при постоянном перемешивании. Тип камеры хлопьеобразования выбирается в зависимости от качества исходной воды и конструкции последующего отстойника. Если в схеме основных сооружений предусмотрен вертикальный отстойник, удобно применять водоворотную камеру, так как она может встраиваться в вертикальный отстойник. При применении горизонтальных отстойников, применяют вихревые, перегородчатые, и камеры зашламлённого типа.
2.1 Водоворотная камера хлопьеобразования.
![]() |
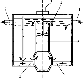
Рис. 8.3. Вертикальный отстойник с водоворотной камерой хлопьеобразования:
|
|
|
1 - подача воды;
2 - распределительные сопла;
3 - камера хлопьеобразования;
4 - решетка-гаситель;
5 - вертикальный отстойник;
6 - сборный карман;
7 - отвод
осветленной воды
8 - удаление осадка;
9 - сборный кольцевой желоб
Водоворотная камера хлопьеобразования совмещена с вертикальным отстойником и размещается в центральном стакане. Вода подаётся по трубопроводу 1 и заканчивается Соплом 2. Выходя из Сопла (скорость 2-3 м/с), ударяясь о стенку, струи воды приобретают вращательное движение вдоль стенок камеры хлопьеобразования, при этом двигается сверху вниз. Для гашения вращательного движения потока и скорости на выходе из камеры хлопьеобразования устраивают гаситель 5, высотой 0,8-1м., и ячейки 0,5
0,5м. Время пребывания воды в этой камере 15-20 минут.
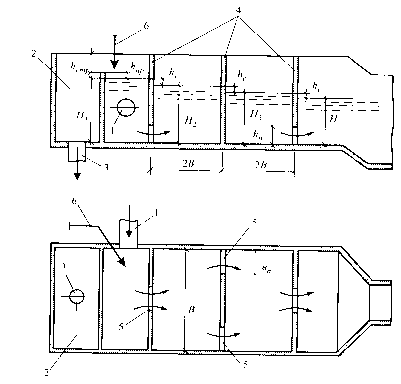
2.2 Перегородчатая камера хлопьеобразования.
Конструкцию данных камер применяют на очистных сооружениях при расходах более 40-45 тыс. м
/сут. (с горизонтальным движением воды), при расходах менее 40 тыс.м
/сут. применяются перегородчатые камеры с вертикальным движением воды.
![]() |
Рисунок 2. Перегородчатый смеситель:
1 - трубопровод подачи воды на смеситель; 2 - переливная камера; 3 - переливной трубопровод; 4 - перегородки; 5 - проходы для воды в перегородках; 6 - трубопровод ввода реагента
Данная камера представляет собой железобетонный резервуар с перегородками (продольными, а) или (перпендикулярными, б), образующих каналы или ячейки. Ширина коридоров не менее 0,7м. По ходу движения воды, ширина коридоров увеличивается, в виду чего скорость движения воды падает от 0,2-0,3 м/с в начале движения до 0,05-0,1 м/с в конце камеры хлопьеобразования. Нижний предел скорости берётся для расчётов мутных вод (мутность 250-1500 мг/л), верхний предел скоростей для цветных вод и низких температурах воды в зимний период. С помощью подключения или отключения коридоров, регулируется время пребывания воды в камере(20-30 мин). Днище камеры хлопьеобразования устраивается с уклоном 20-30% для удаления осадка.
|
|
|
2.3 Вихревая камера хлопьеобразования.
Применяют на станциях при любых расходах. Выполняется в виде железобетонного, пирамидального, конического. Конструкция данной камеры похожа на конструкцию вихревого смесителя. Угол конусности от 50-70°.

Рисунок 3
Данные камеры обычно встраиваются в отстойник или пристраиваются вплотную к нему. Принципы работы заключаются в плавном перемешивании воды при движении снизу вверх и значительном снижении скорости, скорость выхода воды из распределительных труб 0,7-1м/с. Скорость движения воды по камере хлопьеобразования 40-50мм/с. Время пребывания воды в этой камере от 6 до 12 мин.
2.4 Камера хлопьеобразования зашламлённого типа (со слоем взвешенного осадка).
Используются на станциях с любой производительностью для осветления средних и мутных вод. Выполняются встроенными в горизонтальный отстойник из расчёта одна камера на одну секцию отстойника. Дно выполняется пирамидальным с углом конусности 45. В основании пирамиды помещают распределительную трубу. Расстояние от стенки камеры хлопьеобразования до трубы не более 1м. Расстояние между водораспределительными трубами не более 2м. Скорость восходящего потока 0,65-1,6 мм/с. Для средних вод 0,8-2,2мм/с для мутных вод. При такой скорости движения воды образуется и поддерживается во взвешенном состоянии слой осадка, который является центром коагуляции. Хлопья образуются устойчивые.

Рисунок 4. Встроенная камера хлопьеобразования со слоем взвешенного осадка:
1 - подача воды;
2 - трубопровод опорожнения;
3 - камера хлопьеобразования;
4 - поперечные перегородки;
5 - водослив;
6 - полупогружная перегородка;
7 - горизонтальный отстойник;
8 - водораспределительные трубы;
9 - сброс осадка из отстойника
2.5 Механические камеры хлопьеобразования (флокуляторы)
Перемешивание воды достигается вращением мешалок, которые приводятся в движение с помощью электродвигателя. Различают лопастные камеры с вертикальной и горизонтальной осью вращения мешалок. Флокулятор представляет собой железобетонный резервуар, рассчитанный на 10-60 минутное пребывание воды В центре камеры располагается вертикальная ось с сидящим на ней барабаном и закреплёнными на барабане лопатками. Средняя скорость движения воды 0,2-0,5 м/с. Чаще всего эти камеры представляют собой единое сооружение по смешиванию воды с реагентами и отстаиванию обработанной воды.
![]() |
Рисунок 5. Механический смеситель пропеллерного типа:
1 - трубопровод подачи воды на смеситель;
2 - трубопровод ввода реагентов;
3 - электродвигатель;
4 - лопастной винт;
5 - трубопровод отвода воды со смесителя;
6 - смесительная камера









