Рис. 1. Линейный график результатов испытаний подшипников
Технические характеристики машин для испытаний подшипников на долговечность
Назначение и виды испытаний.
Испытания в зависимости от назначения разделяют на три вида:
-ресурсные испытания (испытания на фактический ресурс целью которых является определение динамической грузоподъемности подшипников определенного типоразмера;
-контрольные испытания, выполняемые для сравнительной оценки качества подшипников, выпускаемых подшипниковыми заводами;
-специальные испытания, при выполнении которых оценивается эффективность применения новых материалов, смазок, конструктивных или технологических мероприятий.
Все подшипники делят по внутренним диаметрам на четыре диапазона размеров в зависимости от испытательных машин на которых их будут испытывать.
Для контрольных испытаний выбирают от каждого типа и диапазона размеров один или несколько типоразмеров подшипников (по 30—33 подшипника в партии).
Принято, что испытанный типоразмер характеризует долговечность всех подшипников данного типа и диапазона размеров, изготовленных по одинаковой технологии.
| Технические характеристики | Марка машины | |||
| ЦКБ-72 | ЦКБ- 50 | ЦКБ-59 | ЦКБ-44К | |
| Диаметры отверстий подшипников, мм | 15-30 | 30—60 | 60—120 | 100—150 |
| Наружные диаметры подшипников, мм | 35—62 | 62—120 | 110-215 | 180—320 |
| Количество одновременно испытываемых подшипников под нагрузкой: радиальной осевой или комбинированной | ||||
| Наибольшая нагрузка на один подшипник, кгс: радиальная осевая | 31 000 11 000 | |||
| Частота вращения внутреннего кольца подшипника, об/мин | От 3200 до 16 000 | До 5000 | От 500 до 5000 | От 500 до 1500 |
| Привод машины: Мощность электродвигателя, кВт Частота вращения электродвигателя, об/мин | 2,8 | 2,8/2,1 1420-2950 | 4,5 | |
| Система смазки подшипников | Циркуляционная |
Режимы испытаний и методы обработки результатов.
Методика 1
Нагрузка на подшипники назначается из условия получения ресурса (Lh) в 100—300 ч, а для ускоренных испытаний в 50—200 ч.
Меньшие и средние значения рекомендуемых интервалов ресурса для небольших радиальных подшипников (шариковых и роликовых с короткими цилиндрическими роликами).
-Радиальные подшипники обычно испытывают при радиальной нагрузке (Fr)
-радиально-упорные — при комбинированной радиальной и осевой ( Fr и Fa).
Для подсчета испытательной нагрузки предварительно определяют приведенную нагрузку

где С — коэффициент работоспособности по каталогу;
п — частота вращения внутреннего кольца, об/мин;
Lh — расчетный ресурс подшипников, ч.
Для радиальных подшипников условно принимают осевую нагрузку Fа = Q.
Приведенную нагрузку для радиально-упорных подшипников определяют из формулы

где Fa — действительная осевая нагрузка на подшипник;
S == 1,3 Fr tg a — осевая составляющая от радиальной нагрузки на подшипник;
a — номинальный угол контакта;
т — коэффициент приведения (выбирают по каталогу для данного типа подшипника).
Обычно принимают
Fa — S < 0,25 Fr для подшипников с углом контакта до 20°
Fa — S < 0,5 Fr при a > 20°.
Испытания производят при вращении внутреннего кольца. Для подшипников, предназначенных для нормальных условий эксплуатации, частоту вращения принимают равной 0,4—0,6 от предельной для данного типоразмера по каталогу и округляют по ряду: 500, 750, 1000, 1500, 2000, 2500, 3500, 4000, 5000, 7500 и 10 000 об/мин. Подшипники смазывают минеральным маслом (индустриальное-12).
Температура наружного кольца в процессе испытания не должна была превышать 90° С.
Испытуемые подшипники закрепляют на валу на тугой подшипниковой посадке (m6), за исключением шариковых радиальных однорядных подшипников, для которых была принята напряженная подшипниковая посадка (k6). Во всех случаях наружное кольцо устанавливают в корпус по скользящей подшипниковой посадке (H7).
Результаты испытаний фиксируют на линейных графиках (рис. 1).
Гарантированный ресурс

Работоспособность подшипников оценивают по следующим показателям:
-гарантированному ресурсу — наработке до предельного состояния, которую обеспечили 90% подшипников испытываемой партии; (при определении гарантированного ресурса учитывали только те подшипники, которые вышли из строя в результате усталостного разрушения);
-контрольному ресурсу — наработке до предельного состояния, которую обеспечили 90% подшипников испытываемой партии независимо от характера разрушения;
-среднему ресурсу (ч)

где Lhi — суммарный ресурс п подшипников испытываемой партии, вышедших из строя в результате усталостного разрушения колец и тел качения;
-коэффициенту рассеяния ресурсов

где Lh наиб и Lh наим—соответственно наибольший и наименьший ресурсы подшипников испытанной партии, вышедших из строя в результате усталостного разрушения колец и тел качения;
-коэффициенту эксплуатационной стойкости — числу, характеризующему процент подшипников в партии, ресурс которых не ниже расчетного,

где
Z — количество подшипников в испытуемой партии;
z n, — количество подшипников в партии, ресурс которых ниже расчетного.
Методика 2
Предусматривает, вероятностно-статистический метод оценки результатов испытаний. Принято, что ресурс подшипников по усталостному разрушению подчиняется двухпараметрическому распределению Вейбулла.
В методике 2 сохранено количество подшипников в испытываемой партии (20 шт.).
В результате обработки экспериментальных данных определяется ресурс подшипников при 90 и 50%-ной вероятности безотказней работы.
Особенности данной методики заключаются в следующем.
1. Для каждого типа подшипников выбрано контактное напряжение, при котором следует испытывать все типоразмеры данной конструктивной группы подшипников.
Такая регламентация позволяет сравнивать между собой по ресурсу результаты испытаний, проведенных на подшипниках, имеющих конструктивные различия и изготовленных и испытанных на разных ГПЗ.
Максимальные контактные напряжения были установлены для каждой конструктивной группы подшипников по кривым усталости, построенным по результатам испытаний более 10 000 подшипников. В методике указаны для каждого типоразмера подшипников радиальные и осевые испытательные нагрузки, подсчитанные при установленных уровнях контактных напряжений.
2. При испытаниях партий подшипников используют метод усеченных выборок. Партию подшипников из 20 шт. испытывают до выхода из строя восьми подшипников. Остальные 12 подшипников испытывают до наибольшего ресурса, выявленного при испытаниях восьми подшипников, вышедших из строя по усталостному разрушению.
3. Ресурс подшипников оценивают по результатам испытаний, используя современные методы математической статистики. Обработку производят методом максимального правдоподобия при помощи ЭВМ. Разработан также приближенный метод обработки результатов испытаний.
На ГПЗ-1 широко применяется графическая обработка результатов испытаний с использованием логарифмической сетки Вейбулла-Гнеденко(рис.2).

Рис. 2. График обработки результатов испытаний подшипников с использованием логарифмической сетки Вейбулла—Гнеденко
Режимы испытаний радиальных шарикоподшипников.
Максимальное контактное напряжение Gн = 31 000 кгм/см2, частота вращения вала п = (0,4 — 0,6) n пp, где п пр - предельная частота вращения по каталогу.
Исходя из заданной величины Gн, находим радиальную нагрузку на один испытуемый подшипник. КГС:

где z — число шариков в подшипнике; Dw — диаметр шарика, см;

Для этого необходимо дополнить исследования оценкой третьего параметра и установить зависимость его от геометрии подшипника и условий работы. Анализ работы [25] позволяет сделать следующие выводы:
· оценка характера распределения для малых вероятностей отказов особенно важна для особо ответственных машин (например: авиационные газовые турбины, гироскопические приборы и др.);
· возможность применить логарифмически нормальное распределение представляет большой практический интерес, так как при этом оказывается возможным выравнивать начальные участки кривой распределения без определения величины третьего параметра; оценки ресурса при этом могут быть получены быстрее и экономичнее, чем с использованием распределения Вейбулла;
· для окончательного решения вопроса следует получить больше выборок.
ИСПЫТАТЕЛЬНЫЕ МАШИНЫ
Для ресурсных испытаний подшипников применяют машины, изготовленные по двум принципиальным схемам, отличающимся главным образом конструкцией испытательных головок.
Схема1 
В испытательных головках, выполненных по схеме 1, испытуемые подшипники расположены в отдельных корпусах 2. Коренные подшипники в корпусе 1 также могут являться испытуемыми. Коренной вал 3 машины вращается от шкива 4 ременной передачи. Корпуса испытываемых подшипников подвижны в радиальном направлении относительно корпуса коренных. Нагружение радиальной силой Fr осуществляется с помощью рычажной или гидравлической системы. Принципиально возможно и осевое нагружение испытуемых подшипников, расположенных в корпусах 2. Расположение испытываемых подшипников в отдельных корпусах на консолях валов способствует перекосу колец, особенно если корпуса не имеют надежных направляющих.
Наличие шкива ременной передачи между коренными подшипниками приводит к увеличению расстояния между ними, что неблагоприятно сказывается на величине перекоса.
Усилие натяжения приводного ремня дополнительно нагружает коренные подшипники, поэтому при постановке на их место дополнительных испытываемых подшипников снижается точность оценки нагружения.
Схема2 
Вторая, более совершенная, схема испытательной головки показана на рис. 7.5. В массивном жестком литом корпусе 1 устанавливают сменную оснастку с четырьмя подшипниками: испытываемыми 3 и коренными 4. Коренные подшипники могут также являться испытываемыми.
Гидростатические системы 2, 5 могут нагружать все четыре подшипника радиальными Fr силами и осевой Fa или комбинированной (Fr + Fa) силами два крайних подшипника 3. Привод машин состоит из электродвигателя, клиноременной передачи со сменными шкивами 8 и муфты 6. Опоры приводного шкива 7 установлены в отдельном корпусе, что обеспечивает разгрузку испытываемых подшипников от сил натяжения ремня. Для повышения частоты вращения между ременной передачей и коренным валом испытательной головки возможна установка дополнительного зубчатого ускорителя. Смазка подшипников — циркуляционная с регулируемым расходом масла.
Отличия и преимущества этой схемы:
-более высокая жесткость узлов;
-гидростатическая системой нагружения радиальной и осевой силами;
-более точная оценка величины нагрузок, так как испытываемые подшипники не нагружены силами натяжения ремня;
-принудительное проточное охлаждение жидким маслом, обеспечивающим постоянство рабочих температур подшипников в процессе испытаний.
Все эти усовершенствования позволили сократить сроки испытаний за счет применения форсированных режимов.
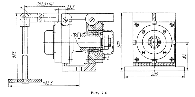
Машина ВНИПП-ГУ-50 (рис. 7.6), предназначена для испытаний четырех и более испытательных головок, однако сварная конструкция из швеллеров обеспечивает недостаточную жесткость и при испытаниях возникают сильные шум и вибрации.

Этот недостаток устранен в машине ЭНИИПП-4-56 где две испытательные головки установлены на массивной литой станине.

Головка испытательной машины ЭНИ11ПП-4-56. Машина выполнена по принципиальной схеме, показанной па рис. 7.4. Радиальная нагрузка в ней создастся с помощью гидростатической системы 1 и передается на корпус 2 испытываемых подшипников 4 через поршень рабочего цилиндра. Усилия замеряются с помощью манометра. Наибольшая нагрузка равна 1000 кгс. Давление в системе нагружения не превышает 36 кгс/см2. Опорные подшипники 3 коренного вала могут также являться испытуемыми. Максимальная частота вращения — 10 000 об/мин. Смазка — пластичная. Замеряют температуры наружных колец термопарами и пирометрическими милливольтметрами. Машина предназначена для испытаний радиальных подшипников с размерами отверстий от 30 до 40 мм и наружными диаметрами от 72 до 80 мм. Привод машины — электродвигатель переменного тока (мощностью 2,8 кВт, частотой вращения 2950 об/мин) и плоско-ременная передача.
7.2. ИСПЫТАНИЯ ДЛЯ ОЦЕНКИ ПРЕДЕЛЬНОЙ ЧАСТОТЫ ВРАЩЕНИЯ ПОДШИПНИКОВ
Предельную частоту вращения подшипников в настоящее время принято оценивать параметром d,n'n^ где d,n —диаметр окружности, проходящей через центры шариков или через точку, лежащую на оси ролика и делящую пополам его эффективную длину, мм; ^пр — предельная частота вращения, об/мин.
Предельная частота вращения подшипников данного типоразмера зависит не только от конструкции и материалов подшипника, но и от нагрузки, условий смазки и охлаждения. Таким образом, понятие о предельной частоте вращения является условным. Для практических целей принято под предельной частотой вращения, указываемой в каталогах, понимать такое число оборотов в минуту, при котором подшипник может проработать под нагрузкой несколько сотен часов. Кратковременно (несколько минут) подшипник может работать со значительно большей частотой (п — предельное кратковременное). Предельные ресурсные частоты вращения определяются по методике ВНИПП оценкой допустимости скоростного режима по рабочей температуре и выходу из строя подшипников при ступенчато возрастающих скоростных режимах [23].
Испытания выполняют на десяти подшипниках одной технологической партии. Подшипники типовых конструкций классов точности 0 и 6 испытывают при последовательно возрастающих частотах вращения 0,75^пр, 1,25/Znp, 1,75ппр» 2^np (и если возможно при еще большей частоте). Испытания на каждом режиме продолжаются 24 ч, после чего их прерывают для охлаждения подшипников до температуры окружающей среды. Нагрузку на подшипники поддерживают постоянной, причем выбирают ее исходя из расчетного ресурса 150—400 ч при максимальной ожидаемой частоте вращения. В рекомендуемом диапазоне ресурс выбирают с учетом интенсивности тепловыделения в подшипнике.
Так, для шарикоподшипников, отличающихся сравнительно малыми моментами трения, при выборе нагрузки можно ориентироваться на ресурс в 150 ч; для конических подшипников следует ориентироваться на максимальный ресурс.
1 В процессе испытаний каждый час фиксируют температуру наружных колец подшипников. Эта температура повышается с переходом на более высокие частоты вращения. Режим, при котором прирост температуры относительно окружающей среды превысит 50° С, считается предельным. Предельные частоты вращения в некоторых случаях ограничиваются работоспособностью сепаратора. Если на каком-либо режиме два или более подшипника выйдут из строя в результате разрушения сепаратора, то за предельный принимается ближайший предшествующий режим.
7.3. ИСПЫТАНИЯ ТЕПЛОСТОЙКИХ ПОДШИПНИКОВ ПРИ ПОВЫШЕННЫХ И ВЫСОКИХ ТЕМПЕРАТУРАХ
Для подшипников качения «нормальными» принято считать температуры от —60° до 100° С, при которых подшипники из стали ШХ15, изготовленные по обычной технологии (температура отпуска колец после закалки 150° С), могут работать без заметного снижения грузоподъемности. Повышенными считают тем-• пературы, при которых допустимо применение колец и тел качения из стали ШХ15 с высоким отпуском. К диапазону повышенных относят температуры от 100° до 200° С (в некоторых случаях для узлов, в которых усталостная стойкость не является причиной выхода из строя до 250° С). Температуры выше 200—250° С условно называют высокими.
Испытания теплостойких подшипников проводят для выбора и оценки теплостойких материалов для деталей подшипников и их термообработки, а также теплостойких смазок, для оценки ресурса и других характеристик работы подшипников при повышенных и высоких температурах и уточнения расчетных зависимостей.
Испытания теплостойких подшипников выполняют по индивидуальным методикам.ъ
Машина ВНИПП-ГУ-50 (рис. 7.6), предназначена для испытаний четырех и более испытательных головок, однако сварная конструкция из швеллеров обеспечивает недостаточную жесткость и при испытаниях возникают сильные шум и вибрации.

Этот недостаток устранен в машине ЭНИИПП-4-56 где две испытательные головки установлены на массивной литой станине.

Головка испытательной машины ЭНИ11ПП-4-56. Машина выполнена по принципиальной схеме, показанной па рис. 7.4. Радиальная нагрузка в ней создастся с помощью гидростатической системы 1 и передается на корпус 2 испытываемых подшипников 4 через поршень рабочего цилиндра. Усилия замеряются с помощью манометра. Наибольшая нагрузка равна 1000 кгс. Давление в системе нагружения не превышает 36 кгс/см2. Опорные подшипники 3 коренного вала могут также являться испытуемыми. Максимальная частота вращения — 10 000 об/мин. Смазка — пластичная. Замеряют температуры наружных колец термопарами и пирометрическими милливольтметрами. Машина предназначена для испытаний радиальных подшипников с размерами отверстий от 30 до 40 мм и наружными диаметрами от 72 до 80 мм. Привод машины — электродвигатель переменного тока (мощностью 2,8 кВт, частотой вращения 2950 об/мин) и плоско-ременная передача.






