ИСПЫТАНИЕ РЕДУКТОРОВ
Целью испытаний редукторов является
- проверка их работоспособности,
- долговечности
- качества изготовления.
Редукторы испытывают на стендах с замкнутым контуром, тормозных стендах и стендах периодического действия.
Существуют стенды для испытания одного и двух редукторов. Преимущественно применяются многоредукторные стенды. Применение таких стендов обусловлено их большей производительностью и малыми затратами времени па наладку. Однако такие стенды обладают и недостатками, проявляющимися в неодинаковом нагружении редукторов вследствие различной последовательности потерь в силовой цепи стендов и в работе части редукторов в режиме мультипликаторов, т. е. в условиях, отличных от эксплуатационных. Кроме того, в многоредукторных стендах часть редукторов обкатывается по нерабочим профилям зубьев. Изменение направления вращения или силового потока и последующая обкатка рабочих профилей зубьев нереверсивных редукторов требует удвоенного времени обкатки, не считая времени на переналадку нагружающих устройств.
|
|
|
Тормозные многоредукторные стенды выполняют с механическим (рис. 2.88, а) и электрическим (рис. 2.88, б) торможением.
Экспериментальные значения КПД передач служат для энергетической оценки их конструкций, качества изготовления и сборки, а также коэффициентов трения на зубьях. Повышенная точность измерений в сочетании с возможностью раздельной оценки потерь в элементах силовой цепи стендов с замкнутым контуром обусловливает целесообразность их применения для определения КПД зацеплений. КПД редукторов также обычно определяют при испытаниях на стендах с замкнутым контуром, реже на тормозных стендах.
При испытаниях на стендах с замкнутым контуром непосредственно раздельная оценка КПД зацепления только одной передачи связана с усложнением конструкции стендов, поэтому КПД вычисляют исходя из его общего значения для двух передач, образующих замкнутый контур. Работа одной передачи в режиме редуктора, а другой в режиме мультипликатора (за исключением случая, когда передаточное число равно единице) и отличие в условиях работы этих передач вследствие неодинаковой нагруженности из-за разной последовательности потерь в силовой цепи обусловливает разницу в КПД. Для большинства практических случаев эта разница несущественна, и ею пренебрегают.
При испытаниях на тормозных стендах достижение требуемой точности измерений ведет не только к усложнению конструкции стендов, но и требует оснащения тормозов автоматическими устройствами для стабилизации их работы. Наиболее простой способ повышения точности измерений заключается в одновременном испытании нескольких одинаковых редукторов, соединенных последовательно, т. е. в увеличении общих потерь до величин, которые могут быть измерены достаточно точно. КПД каждого из них определяют как среднее из общего КПД всех редукторов. Однако в этом случае различие в нагрузках редукторов может быть значительным и тем большим, чем больше число редукторов. Потери в передачах складываются из потерь непосредственно в зацеплениях (на трение зубьев и выдавливание масла из впадин зубьев); в подшипниках и муфтах; на взбалтывание масла при смазке окунанием и на трение вращающихся деталей о воздух.
|
|
|
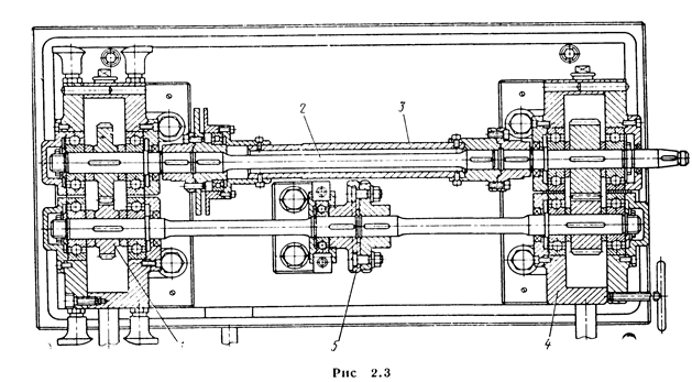
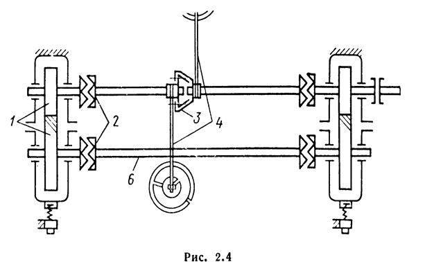
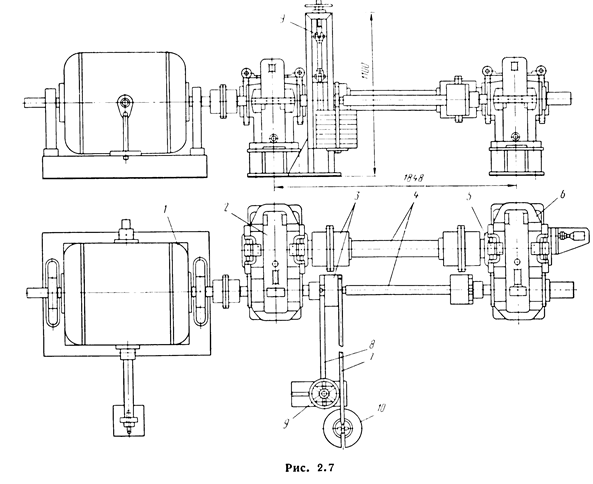
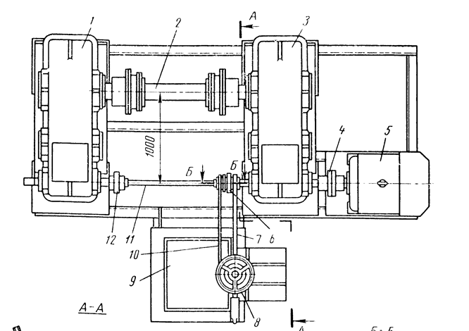
В стендах с поперечно-свертными, конусными, глухими и зубчатыми муфтами закрутку торсионных валов производят грузами (рис. 2.3, 2.4, 2.7, 2.9), подвешиваемыми к съемным рычажным ключам, или домкратами (рис. 2.1, 2.5).






Для точной закрутки валов на требуемый угол отверстия под болты поперечно-свертных муфт выполняют в виде окружных пазов (рис. 2.9) или в одной полумуфте число отверстий делают на одно больше, чем в другой (рис. 2.2).

