Данный метод организации виртуальной памяти направлен на сочетание достоинств страничного и сегментного методов управления памятью. В такой комбинированной системе адресное пространство пользователя разбивается на ряд сегментов по усмотрению программиста. Каждый сегмент в свою очередь разбивается на страницы фиксированного размера, равные странице физической памяти. С точки зрения программиста, логический адрес в этом случае состоит из номера сегмента и смещения в нем. С позиции операционной системы смещение в сегменте следует рассматривать как номер страницы определенного сегмента и смещение в ней (рис. 6.20).

Рис. 6.20. Сегментно-страничная организация памяти
С каждым процессом связана одна таблица сегментов и несколько (по одной на сегмент) таблиц страниц. При работе определенного процесса в регистре процессора хранится начальный адрес соответствующей таблицы сегментов. Получив виртуальный адрес, процессор использует его часть, представляющую номер сегмента, в качестве индекса в таблице сегментов для поиска таблицы страниц данного сегмента. После этого часть адреса, представляющая собой номер страницы, используется для поиска номера физической страницы в таблице страниц. Затем часть адреса, представляющая смещения, используется для получения искомого физического адреса путем добавления к начальному адресу физической страницы.
|
|
|
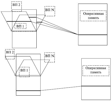
Сегментация удобна для реализации защиты и совместного использования сегментов разными процессами. Поскольку каждая запись таблицы сегментов включает начальный адрес и значение длины, программа не в состоянии непреднамеренно обратиться к основной памяти за границами сегмента. Для того чтобы отличить разделяемые сегменты от индивидуальных, записи таблицы сегментов содержат 1-битовое поле, имеющее два значения: shared (разделяемый) или private (индивидуальный). Для осуществления совместного использования сегмента он помещается в виртуальное адресное пространство нескольких процессов, при этом параметры отображения этого сегмента настраиваются так, чтобы они соответствовали одной и той же области оперативной памяти (делается это указанием одного и того же базового физического адреса сегмента).
Возможен и более экономичный для ОС метод создания разделяемого виртуального сегмента – помещение его в общую часть виртуального адресного пространства, т.е. в ту часть, которая обычно задействуется для модулей ОС. В этом случае настройка соответствующей записи для разделяемого сегмента выполняется только один раз, а все процессы пользуются такой настройкой и совместно используют часть оперативной памяти.
|
|
|
Оба рассмотренных подхода к разделению сегмента можно иллюстрировать схемами, показанными ниже на рис. 6.21.
По второй схеме организована виртуальная память систем, работающих на процессоре Pentium. В Windows 2000 поддерживается 16 К независимых сегментов. У каждого процесса 4 Гбайт виртуального адресного пространства (из них 2 Гбайт отводится под ОС и 2 Гбайт – пользовательским программам). Основа виртуальной памяти Windows 2000 представляется двумя таблицами: локальной таблицей дескрипторов LDT (Local Descriptor Table) и глобальной таблицей дескрипторов GDT (Global Descriptor Table). У каждого процесса есть своя собственная таблица LDT, но глобальная таблица дескрипторов одна, ее совместно используют все процессы. Таблица LDT описывает сегменты, локальные для каждой программы, включая ее код, данные, стек и т.д.; таблица GDT несет информацию о системных сегментах, включая саму операционную систему.

Рис. 6.21. Разделяемые сегменты
В каждый момент времени в специальных регистрах GDTR и LDTR хранится информация о местоположении и размерах глобальной таблицы GDT и активной таблице LDT. Регистр LDTR указывает на расположение сегмента LDT в оперативной памяти косвенно – он содержит индекс дескриптора в таблице GTD, в котором содержится адрес таблицы LDT и ее размер.
Процесс обращается к физической памяти по виртуальному адресу, представляющему собой пару – селектор и смещение. Селектор определяет номер сегмента, а смещение – положение искомого адреса относительно начала сегмента. Селектор состоит из трех полей (рис. 6.22). Индекс задает пользовательский номер дескриптора в таблице GDT или LDT (всего 213 = 8 К сегментов). Таким образом, виртуальное адресное пространство процесса состоит из 8 К локальных и 8 К глобальных сегментов, всего из 16 К сегментов. Учитывая, что каждый сегмент имеет максимальный размер 4 Гбайт при чисто сегментной частосегментной? организации виртуальной памяти (без включения страничного механизма), процесс может работать в виртуальном адресном пространстве в 64 Тбайт.

Рис. 6.22. Сегментно-страничная организация памяти в Windows
Поле из двух битов селектора задает требуемый уровень привилегий, и используется механизм защиты. В системах на базе микропроцесса Pentium поддерживается 4 уровня защиты, где уровень 0 является наиболее привилегированным, а уровень 3 – наименее привилегированным. Эти уровни образуют так называемые кольца защиты (рис. 6.23).

Рис. 6.23. Кольца защиты в Windows
Система защиты манипулирует несколькими переменными, характеризующими уровень привилегий:
- DPL (Descriptor Privilege Level) – задается полем DPL в дескрипторе сегмента;
- RPL (Requested Privilege Level) – запрашиваемый уровень привилегий, задается полем RPL селектора сегмента;
- CPL (Current Privilege Level) – текущий уровень привилегий выполняемого кода, задается полем RPL селектора кодового сегмента;
- EPL (Effective Privilege Level) – эффективный уровень привилегий запроса.
Под запросом понимается любое обращение к памяти. Уровни привилегий DPL и RPL назначаются операционной системой при создании новых процессов и во время их загрузки в память. Уровень привилегий определяет не только возможности доступа к сегментам и дескрипторам, но и разрешенный набор инструкций. В каждый момент времени работающая программа находится на определенном уровне, что отмечается 2-битовым полем в регистре слова состояние программы (PSW). Уровень привилегий кодового сегмента DPL определяет текущий уровень привилегий CPL, фиксируемый в PSW.
Контроль доступа процесса к сегментным данным осуществляется на основе сопоставления эффективного уровня привилегий EPL запроса и уровня привилегий DPL дескриптора сегмента данных. Доступ может быть разрешен, если:
EPL
DPL,
где EPL = max {CPL, RPL}.
Значение RPL – уровня запрашиваемых привилегий – определяется полем RPL-селектора, указывающего на запрашиваемый сегмент.