Участники.
В соответствии с классической теорией организации участник рассматривается как инструмент, выполняющий порученную ему задачу. Задача участников состоит в том, чтобы наиболее эффективно выполнить задание. Этот подход применим для исследования поведения производственной бригады, обслуживающей автоматическую линию. Он не годиться для рассмотрения деятельности таких участников, как управляющие, директора и другие лица, принимающие решения.
Мотивационная теория организаций проявляет особый интерес к участникам организаций. Эта теория изучает реакцию участника и воздействия на него из вне и изнутри организации. Эта теория организаций рассматривает участника независимо от того, какое место в opганизации он занимает. Т.о. поведенческие теории организации акцентируют свое внимание на личных качествах участников, а не на их роли в организации.
В системно-ориентированных теориях организаций (в частности в промышленной динамике) отсутствует выделение участников. Эволюция организации исследуется без учета влияния человеческого фактора.
|
|
|
Классическая теория организации предполагает стабильную структуру организации. Отражает иерархию подчиненности своих членов. Элементам на схеме предписываются их задачи или функции.
Поведенческая теория организации делает акцент на участниках, как членах неформальных групп. Иерархическая структура рассматривается косвенно, и иерархия играет второстепенную роль.
Системно-ориентированные теории отводят иерархической структуре второстепенное место. Основной объект для исследования - эволюция системы во времени. Система может обладать любой структурой, которая обеспечивает требуемую зависимость входа и выхода.
Классическая теория организации основывается на наблюдениях за действительными процессами и на решении задач в реальных организациях.
Поведенческая теория кладет в основу наблюдения за психологическими реакциями и за действиями участников. Используются неформальные модели. Однако согласовать теоретические выводы и реальные наблюдения не всегда возможно.
Системные исследования проводятся с помощью ЭВМ и сводятся к машинному моделированию. Это имитационное моделирование, основанное на наблюдениях за реакциями системы на внешние воздействия. Модель всегда носит субъективный характер, т.к. зависит от особенностей исследователя.
Классификация теорий организаций не предполагает резких различий между ними. Наиболее рациональным является подход, который использует некоторые стороны каждой теории, нaпpимер, существует подход Саймона. Теория многоуровневых систем имеет много общего с перечисленными классами теории организации, поэтому ее можно использовать и в теории организации:
|
|
|
1) Теория многоуровневых систем рассматривает иерархические структуры в рамках организационных блок-схем классической теории. Иерархическое расположение элементов обычно рассматривается как одна из важных характеристик организации.
2) Теория многоуровневых систем позволяет рассматривать участников организации как элементы, которые принимают свои решения на основе поведенческих (мотивационных) подходов, позволяет учитывать уровни удовлетворения и уровни расхождения между действительными и фактически наблюдаемыми целями. Т.е., основной элемент общего математического подхода, называемый в теории многоуровневых систем решающим блоком, а в теории организаций - лицо, принимающее решение (ЛПР), должно получить «удовлетворение» на своем уровне.
3) Теория многоуровневых систем учитывает факт, что наиболее важной особенностью организации является ее "организующая" и "координирующая" роль в налаживании взаимосвязей между отдельными подсистемами (ЛПР), которые принимают собственные решения.
Теория многоуровневых систем в применении к теории opганизаций позволяет:
1) создать единую основу для различных подходов с помощью использования единой системы методов и понятий. С ее помощью все различные теории сравниваются, противопоставляются и взаимно дополняют друг друга;
2) математически строго формулировать как основные понятия теории организации, так и полученные результаты.
3) использовать для исследования различные аспекты анализа и проектирования организации, математические методы и моделирование на ЭВМ.
1.6 Формализация основных понятий теории opганизаций в рамках теории многоуровневых систем
а) Моделирование поведения участников организации (используются поведенческие теории).
Понятие ЛПР включает в себя в качестве элемента - администратора, добивающегося удовлетворения, основывается на понятиях поведенческих теорий. Т.е. элементы, принимающие решения, «решающие блоки» из теории многоуровневых систем, обладают особенностью ЛПР из теории организации: «свободой действий». Таким образом, отклик ЛПР на воздействие определяется проблемой удовлетворения, которая в общем случае не является однозначной.
б) Отношения между руководителем и подчиненными.
Руководитель влияет на подчиненных следующим образом:
1) Вмешательство на уровне целей.
2) Вмешательство на уровне представлений (ожидаемое последствие решения).
3) Вмешательство на уровне ограничений (связано с альтернативными действиями руководителя).
в) Координация (взаимодействие с подчинёнными).
При появлении конфликтов организация реагирует следующим образом:
1) Применение аналитических процессов (решение проблем или воздействие методом побуждения).
2) Нахождение компромисса (использование теории игр).
Метод решения проблем соответствует вмешательству на уровне представлений. Задачи сводятся к правильной постановке целей для вышестоящего лица (координатора) и подчиненных. Проблема принятия решений состоит в отыскании удовлетворительного решения. При решении проблем, связанных с прогнозированием, происходит поиск новых альтернатив, т.е. вмешательство на уровне ограничений.
Метод побуждений соответствует вмешательству на уровне целей. Координация осуществляется вмешательством на вышестоящем уровне в индивидуальные цели, разногласие которых устраняется на основе достижения общих целей.
При анализе взаимодействий по методу побуждения или решения проблем уточняются основные состояния организации (в материальном плане). При этом создаются новые алгоритмы поведения организации, позволяющие определить, каким образом осуществляется процесс координации.
|
|
|
Описание аналитических процессов или формализация - это шаг в направлении математического описания в теории организации, которого нет.
Другим подходом к математическому описанию в теории организации является применение теории игр для нахождения компромиссных решений.
г) Иерархия.
Составляющие систему элементы обладают ограниченной решающей способностью, общая цель организации разбивается на подцели. Иногда эти подцели параллельны, иногда последовательны. Надо различать иерархию целей и иерархию элементов, принимающих решение. Таким образом, организация представляется в виде организационной структуры, состоящей из элементов, принимающих решения в узловых точках организационной структуры.
д) Специализация и координирование.
Координированием в теории организации называется управление, которое делится на две части:
1) Установление правил, предписывающих членам организации - каким образом они должны действовать (управление в большом).
2) Практическое обеспечение выполнения этих правил в деятельности организации (управление в малом).
Координация - обычно управление в малом.
Специализация вытекает из децентрализации, ей сопутствует координация. Специализация приводит к образованию целевых или функциональных органов, появлению линейных и вспомогательных элементов. Линейные элементы определяют, что и когда будет сделано. Вспомогательные элементы вырабатывают рекомендации - как сделать это наилучшим образом (оптимизирующие элементы).
Один из основных вопросов, возникающих при специализации, - это степень самостоятельности специализированных элементов организации. Проблема координации связана, прежде всего, с расчетом взаимодействий нижестоящих элементов. Решение такой задачи проводится с помощью принципов координации (согласования и взаимодействия). Они определяют стратегию поведения координатора и нижестоящих элементов.
|
|
|
Всякая специализация отражает некоторую степень децентрализации. В организации устанавливаются отдельные независимые центры, отделы, обеспечивающие прибыль. Проблема децентрализации сводится к выбору налагаемых на отделы ограничений, чтобы обеспечить максимальное преуспевание в целом. Стандартный способ координации состоит в использовании механизма цен. Децентрализация сводится к выбору внутренних цен, если у экономической системы имеются общие цели.
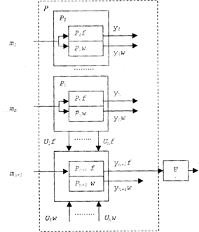
Рассмотрим пример экономической системы в сфере обслуживания рис. 1.5.

Рисунок 1.5 Схема взаимосвязи процессов на предприятии
Р - процесс функционирования экономической системы.
P1...Pn - подпроцессы производства или отдельные корпорации в составе сложной экономической системы.
Pn+1 - сектор потребления.
Каждая подсистема производства имеет 1 вход и 2 выхода. Входы отдельных подсистем - есть уровни их загрузки, а выходы - производственные продукты или товары.
Выходы yif..ynf - выпускаемые товары, на которые имеется спрос.
Выходы y1w...ynw -продукты или товары, которые необходимы для технического функционирования отдельных подсистем.
Подсистема Рn+1 объединяет подсистемы производства и имеет тоже 2 выхода. Взаимодействия между подсистемами производства являются входами для подсистемы потребления. Вход подсистемы Pn+1 - есть спрос. Подсистема Рn+1 состоит из: части Рn+1f, которая представляет собой взаимосвязь: потребитель - произведенный товар и Рn+1w - обмен продуктами и товарами внутри системы по внутренним ценам.
Результатом функционирования системы в целом является функция качества - F или функция полезности, которая применяется для оценки эффективности функционирования системы в целом. Функция полезности зависит только от выходов подсистемы потребления yn+1f. Цель деятельности системы - максимизировать функцию полезности F(yn+1f) за счет изменения входных показателей отдельных подсистем. Это задача распределения ресурсов при заданном уровне техники.
Задача координирования может быть решена на основе полной централизации. Управление отдельными подсистемами Рi и подсистемой Рn+1 осуществляется с помощью органов локального управления, управляющими (или элементами, принимающими решения D). Элемент D в Рn+1 называют в теории организаций «кормчим». Он учитывает действия вышестоящих органов управления (вплоть до правительства), которые влияют на поведение потребителя. Чтобы эффективно управлять системой в целом, необходимо поставить перед всеми элементами D соответствующие задачи: определить и реализовать оптимальное значение тi по отношению к глобальной функции качества F. Т.е. управляющие Di и «кормчий», преследуя свои интересы, обязаны привести к максимуму общую функцию цели системы (благосостояние).

Рисунок 1.6 Схема управления «координатор-кормчий»
Предположим, что используется координирование, на основе принципа согласования взаимодействий. В данном случае этот принцип выступает, как принцип развязывания взаимодействий. Координатор предполагает независимость (развязывание) отдельных подсистем друг от друга и применяет принцип согласования взаимодействий для их координирования. Чтобы достигнуть глобального оптимума, элементы нижнего уровня обязаны максимизировать свои функции качества с одной стороны по локальному управлению, а с другой стороны по взаимодействиям. Координатор выбирает координирующие параметры таким образом, чтобы сбалансировать отдельные взаимодействия. При этом он выбирает параметры с учетом оптимальных значений, которые выбраны кормчим. Для эффективного функционирования системы в целом необходимо согласование работы координатора и кормчего.
е) Экономическая интерпретация процесса координирования.
Управление максимизирует прибыль. Координирующими параметрами являются цены на продукты и товары, внутренние цены. Прибыль кормчего - разница между получаемой общественной выгодой и стоимостью производства. Координатор выбирает координирующие переменные таким образом, чтобы сбалансировать входы и выходы системы (входы - поставки, выходы - спрос на товары). Таким образом, координатор в сбалансированной экономике как бы представляет собой рыночный механизм, а координирующие параметры - цены. Использование принципа согласования взаимодействий позволяет получить классическое описание оптимальной координации с помощью рыночного механизма. Эффективность управления требует соблюдения следующих условий и принципов:
1) принцип оптимизации децентрализации;
2) принцип координации взаимодействий (механизм цен);
3) принцип оценки взаимодействий на основе нахождения удовлетворительного решения для решающих элементов нижнего уровня.
В конце XX века характерно образование гигантских экономических организаций, которые оказались в противоречии с новыми информационными технологиями управления, позволяющими осуществлять более выгодную децентрализацию компании.
1.7 Предметная область
Любая экономическая система представляет собой совокупность связанных ресурсов и процессов, которые можно описать в терминах предметной области.
Предметной областью называются элементы материальной системы, информация о которых хранится и обрабатывается в ЭИС.
Для описания предметной области используются следующие термины: объект, свойство объекта, взаимодействие (связь) объектов, свойство взаимодействия.
1) Объектом называется любой элемент некоторой системы. В экономических приложениях это любой предмет, занимающий место в пространстве. Следует различать отдельный физический объект (отдельный предмет) и объект - понятие, который охватывает множество физических объектов. Отдельный предмет называется экземпляром объекта, а различные множества предметов называются типами объектов.
Первоначальная группировка экземпляров в некоторые множества-классы называется классификацией.
Объекты экономической сферы группируются в три крупных типа, имеющих название средств производства, предметов труда и исполнителей.
2) Свойством объекта называется некоторая величина, которая характеризует состояние объекта в любой момент времени. Отдельный экземпляр объекта можно точно описать, если указать достаточное количество значений его свойств.
Объекты одного класса описываются одноименными свойствами. Объекты, входящие в некоторый тип, содержат ряд свойств, характерных для типа в целом. Так, все экземпляры объектов, образующих тип «основные фонды», характеризуются свойством балансовая стоимость, которое отсутствует у других типов, например у типа «исполнители».
Среди свойств, описывающих объект, необходимо выделить идентифицирующие свойства, т.е. свойства, по значению которых можно однозначно отличить данный экземпляр объекта от любого другого (в том числе и в пределах класса объектов, содержащего этот экземпляр).
Искусственный идентификатор, как правило, соответствует обычной нумерации экземпляров объектов, например Инвентарный номер.
Пренебрежение вопросами идентификации объектов является серьезной проектной ошибкой. Отсутствие идентифицирующих свойств объектов помешает расширению перечня решаемых задач, затруднит совместимость с другими ЭИС, сделает невозможными некоторые виды информационного поиска.
3) Взаимодействием объектов называется факт участия нескольких объектов в каком-либо процессе, который протекает и во времени, и в пространстве.
4) Свойством взаимодействия называется такое свойство, которое характеризует совместное поведение объектов, но не относится ни к одному объекту в отдельности. Например, при производстве изделий взаимодействуют объекты Рабочий, Материал, Оборудование, Изделие. Количество изделий, произведенных за определенный день, является свойством взаимодействия, но никак не характеризует указанные выше объекты, взятые в отдельности.






