Геодезические работы выполняют средствами измерений необходимой точно-
сти. Поэтому в зависимости от характеристики объектов строительства СНиП
3.01.03-84 устанавливает величины средних квадратических погрешностей построения разбивочной сети строительной площадки и величины средних квадратических погрешностей разбивочных работ. Например, средняя квадратическая погрешность разбивочных работ для здания свыше 5 и до 15 этажей:
-линейные измерения — 1:5000 (±1 см на 50 м);
-угловые измерения — 20";
-определение превышения — 2,5 мм.
Для выполнения указанных точностей в СНиП 3.01.03-84 даны условия обеспечения той или иной точности. Так, для производства линейных измерений с точностью 1:5000 устанавливается следующая методика:
- средняя квадратическая погрешность компарирования стальной рулетки – 0,5 мм;
- уложение в створ – по теодолиту
- натяжение рулетки – по динамометру с усилием 10 кгс
- учет разности температур компарирования и измерения — термометром (бо-
лее 3 C);
- количество отсчетов — две пары и один сдвиг;
- фиксация центров знаков — керном;
- определение превышения концов измеряемой линии — нивелированием;
- тип рулетки — ОПК2-20АНТ/1, ОП К2-50АНТ/1.
Перевод средних квадратических погрешностей в допуски и предельные отклонения производят по формуле (5).


Высотная геодезическая основа
По назначению
![]() | ![]() |
Главная Рабочая
Главная высотная геодезическая основа
создается геометрическим нивелированием
![]() | ![]() |
замкнутые нивелирные полигоны отдельные нивелирные хода

Рабочая высотная геодезическая основа
создается от точек главной высотной основы также геометрического нивелирования
![]() | ![]() |


Не менее 2-х реперов Реперы через 0,5 км
у отдельного сооружения вдоль линейных сооружений
Координаты (X, Y, H) геодезической основы получают от пунктов ГГС.
Точки геодезической основы закрепляются знаками (временными или долговременными) и их положение обозначено на строительном генеральном плане, рабочем чертеже.
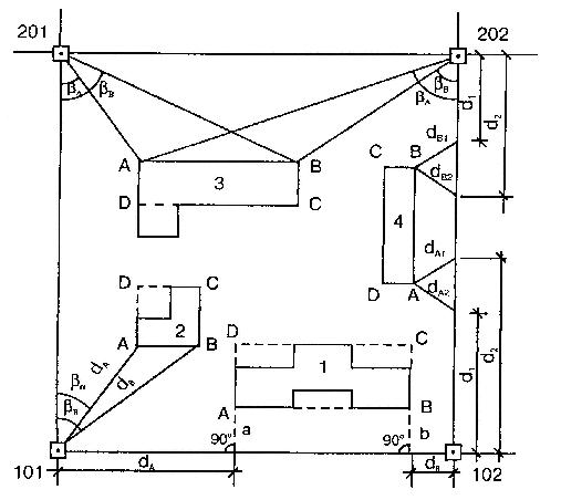
Вопрос 3. Перенесение на местность зданий или сооружений
Здания и сооружения. переносят на местность от знаков разбивочной основы стро-
ительной площадки или существующих зданий. При этом начинают перенесение
с выноса двух крайних точек А и В (рис. 4), определяющих положение наиболее
длинной продольной оси. При сложной конфигурации здания (сооружения) ее
преобразуют в более простую (см. здания 1, 2, 3).

Рис. 4. Способы перенесения на местность точек.
Перенесение точек А и В осуществляют способом прямоугольных координат или перпендикуляров (здание 1), полярных координат (здание 2), угловых засечек (здание 3) и линейных засечек (здание 4).
Точки С и D здания или сооружения определяют на местности от точек А и B построением в них прямых углов и откладыванием проектных длин ВС и АD.
Контролем построения контура здания АВСО служит измерение диагоналей АC и BD или углов в точках С и D и сравнение этих значений с проектными размерами.
Применение какого-либо способа определяется допустимыми максимальными расстояниями от знаков разбивочной сети до переносимой точки, например, способ прямоугольных координат или перпендикуляров.
- при глазомерном построении перпендикуляров — длина перпендикуляра не более 6 м;
- при построении перпендикуляров теодолитом — длина перпендикуляра не более 40 м;
- способ полярных координат, при измерении расстояний нитяным дальномером — dА и dВ ≤ 50 м, при измерении расстояний дальномерами с точностью 1:5000 и менее — dА и dВ ≤ 300 м;
- способ угловых засечек — угол при переносимой точке (между лучами засечки) должен быть не менее 50о и не более 130 о, а длины лучей — не 6oлее 300 м;
- способ линейных засечек — длина засечек dА1 и dА2, dВ1 и d В2 не более длины мерного прибора.





