РАЗДЕЛ №2
Законы распределения случайных величин.
Описание реальных процессов, наблюдаемых за состоянием технических объектов и технологических систем, осуществляются вместе с математическим анализом с помощью таких разделов математики, как теория вероятностей, теория распознавания образов, теория массового обслуживания и др. Наиболее часто находят применение законы распределения случайных величин в связи с предположением о случайной природе отказов и неисправностей.
Известно, что величины могут быть детерминированными или случайными. В отличие от детерминированной величины, принимающей определенные заранее известные значения, случайная – это такая переменная величина, значения которой определить заранее можно только с известной степенью вероятности.
Случайные величины делятся на дискретные и непрерывные. Дискретная случайная величина принимает значения, которые можно перечислить. Следовательно, множество значений дискретной случайной величины может быть конечным или счетным. Например, число отказов машины или ее детали за определенный период Т, расход запасных частей, в ремонтном предприятии или число отремонтированных бывших и употреблении деталей за период Т.
Непрерывная случайная величина принимает значения, непрерывно заполняющие некоторый промежуток, границы которого могут быть конкретными или неопределенными (расплывчатыми). В первом случае область определения непрерывной случайной величины есть конечный промежуток, во втором — бесконечный с одной или с двух сторон. Например, длительность t работы машины или детали до первого отказа: 0£t£t, если деталь, отработавшую срок службы (, обязательно сменяют; 0£t<¥, если срок ее службы не ограничивается. Такие случайные величины, как ошибка измерения, абсцисса точки попадания при выстреле и др. имеют областью определении всю действительную ось.
Для описания случайной величины и характера ее изменения служат законы распределения. Это такие соотношения, которые устанавливают связь между возможными значениями случайной величины и соответствующими им вероятностями. Аналитическим выражением закона распределения случайной величины Х может служить функция распределения F(х), равная вероятности того, что X принимает значения, меньшие x.
F(х)=Р(Х<х). (2.1)
Функция распределения F(х) определена на всей действительной оси и обладает следующими свойствами:
1. F(-∞) = 0, F(+∞) = 1 (2.2)
2. F(х1) ≤ F(х2), если х1<х2. (2.3)
3. Р (a£ X <b)= F (b)- F (a). (2.4)
Закон распределения дискретной случайной величины Х может быть задан в виде ряда распределения — таблицы (табл. 2.1) пар чисел (x i, p i), где – x 1, x 2,…, x n— все возможные значения случайной величины X; р 1, р 2 ,…, pп — соответствующие им вероятности
p 1 = Р(Х=х 1). (2.5)
Таблица 2.1
| x i | x 1 x 2 … x n |
| p i | р 1 р 2 … pп |
В табл.2.1 должно обязательно выполняться условие нормирования
. (2.6)
В таком случае функция распределения
(2.7)
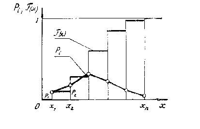
График функции (2.7) (ступенчатая ломаная) и многоугольник (полигон) распределения, соответствующий табл. (2.1), показаны на рис. 2.1.

Рис. 2.1
В качестве примеров распределений, описывающих изменение целочисленной неотрицательной случайной величины Х (Х =0, 1, 2,...), можно привести закон Пуассона к отрицательное биномиальное распределение (табл. 2.2).
Распределение непрерывной случайной величины Х полностью характеризуется непрерывной функцией F (x), обладающей свойствами (1-1) — (1- 3). Свойство (1- 4) для непрерывных функций можно заменить более широким.
F (b)- F (a) = Р (a£ X <b)= Р (a£ X £b) = Р (a< X £b) = Р (a< X <b). (2.8)
В табл. 2.2 приведены 11 различных законов распределения непрерывной случайной величины.
Нормальный закон описывает случайную величину, значения которой неограниченны с двух сторон. Законы логарифмически нормальный, Вейбулла-Гнеденко, Релея и гамма-распределение описывают случайную величину, принимающую любые неотрицательные значения. Случайная величина, значения которой ограничены с двух сторон, описывается бета-распределением (в табл. 2.2 рассматриваются его частные случаи: равномерное, треугольные и параболическое).
Практически различные законы распределения применяются и в тех случаях, когда диапазон возможных значений изучаемой случайной величины меньше области определения. Тогда применяются усеченные распределения, имеющие порог чувствительности.
В теории надежности, например, приведенные законы распределения имеют следующее применение.
Если интенсивность отказов деталей постоянная величина, то длительность безотказной работы машины подчиняется экспоненциальному закону. Такое положение наблюдается в периоде нормальной эксплуатации для внезапных отказов. В периоде появления износовых отказов более подходящим является нормальный закон.
Нормальное распределение имеет место, когда случайная величина зависит от множества различных независимых между собой факторов, особенности которых нивелируются, так как все они равномерно играют в общей сумме относительно малую роль. Без исследования применение во всех случаях нормального распределения является ошибочным.
Таблица 2.2
| Основные характеристики законов распределения | Законы распределения случайных величин | ||
| нормальный | равномерный | Вейбулла-Геденко | |
| Определяющие параметры |
|
|
|
| Область изменения случайной величины |
|
|
|
| Плотность распределения f (x) |
|
|
|
| Функция распределения F (x) |
|
|
|
![]() ![]() ![]()
График плотности f (x)
| f(x)
0 x
| f(x)
h
0 x
| f(x) a=4 a=3 1 a=2 a=1 0 x |
| Среднее значение величины ` x |
|
|
|
| Среднее квадратическое отклонение s |
|
|
|
| Коэффициент вариации u |
|
|
|
| Асимметрия a s | |||
| Эксцесс e k | -1,2 | ||
| Примечание |
|
|
|
Продолжение табл. 2.2
| Основные характеристики законов распределения | Законы распределения случайных величин | ||
| гамма-распределение | логарифмически-нормальный | Эрланга | |
| Определяющие параметры |
|
|
|
| Область изменения случайной величины |
|
|
|
| Плотность распределения f (x) |
|
|
|
| Функция распределения F (x) |
|
|
|
![]() ![]() ![]() ![]() ![]()
График плотности f (x)
| f(x)
0 x
| f(x) б=0.1 б=0.3 0.10 б=0.5 0 x | f(x)
1
0 x
|
| Среднее значение величины ` x |
|
|
|
| Среднее квадратическое отклонение s |
|
|
|
| Коэффициент вариации u |
|
| 0,707 |
| Асимметрия a s |
|
| 1,414 |
| Эксцесс e k |
|
| 4,242 |
| Примечание |
|
|
Продолжение табл. 2.2
| Основные характеристики законов распределения | Законы распределения случайных величин | ||
| Релея | экспоненциаль-ный | Пуассона | |
| Определяющие параметры |
|
|
|
| Область изменения случайной величины |
|
| m=0,1,2,3,… |
| Плотность распределения f (x) |
|
|
|
| Функция распределения F (x) |
|
|
|
![]() ![]() График плотности f (x)
| f(x) 1 0 x б0 | f(x) λ 0 x | pm m 0 2 4 6 8 |
| Среднее значение величины ` x |
|
| l |
| Среднее квадратическое отклонение s |
|
|
|
| Коэффициент вариации u | 0,524 |
| |
| Асимметрия a s | 0,63 | ||
| Эксцесс e k | 0,25 | ||
| Примечание |
|
|
Продолжение табл. 2.2
| Основные характеристики законов распределения | Законы распределения случайных величин | |||
| отрицательный биномиальный | треугольные | параболический | ||
| Определяющие параметры |
|
|
|
|
| Область изменения случайной величины |
|
|
|
|
| Плотность распределения f (x) |
|
|
|
|
| Функция распределения F (x) |
|
|
|
|
![]() ![]() ![]() ![]() ![]() ![]() ![]() ![]() ![]() ![]() ![]() ![]() ![]() ![]() ![]() ![]() ![]() ![]() ![]() ![]() ![]() ![]() График плотности f (x)
| Pm 0,2 m 0 3 7 10 | f(x)
0 a β х
| f(x)
0 a β х
| f(x)
a β x
|
| Среднее значение величины ` x |
|
|
|
|
| Среднее квадратическое отклонение s |
|
|
|
|
| Коэффициент вариации u |
|
|
|
|
| Асимметрия a s | -0,564 | 0,564 | ||
| Эксцесс e k | 0,6 | 0,6 | -0,857 | |
| Примечание |
|
Изучение характеристик потока отказов показало, что распределение длительности безотказной работы деталей и узлов тепловозов может подчиняться законам: экспоненциальному, нормальному, логарифмически нормальному, Вейбулла-Гнеденко, Релея, Эрланга и гамма-распределению.
Частные случаи бета-распределения — равномерное, треугольные и параболическое — не содержат трансцендентных функции, и расчеты, связанные с ними, сводятся к простейшим алгебраическим уравнениям. Поэтому их иногда применяют в качестве простых аппроксимаций более сложных симметричных и асимметричных распределений: параболическое распределение аппроксимирует нормальное, а треугольное с большой приближенностью — гамма-распределение.
Приведенный в табл. 2.2 список распределений не является полным. В литературе описаны и другие законы, например. Применение каждого теоретического распределения для описания изменения наблюдаемой случайной величины должно быть обосновано.



График плотности f (x)





График плотности f (x)


График плотности f (x)




















График плотности f (x)
0 a β х
a
β x






