При конструировании модулей первого уровня выполняются следующие работы:
• изучение функциональных схем с целью выявления одинаковых по назначению подсхем и унификации их структуры в пределах конкретного изделия, что приводит к уменьшению многообразия различных подсхем и, следовательно, номенклатуры различных типов ТЭЗ;
• выбор серии микросхем, корпусов микросхем, дискретных ЭРЭ;
• выбор единого максимально допустимого числа выводов соединителя для всех типов модулей (за основу принимают число внешних связей наиболее повторяющегося узла в наборе узлов изделия с учетом цепей питания и нулевого потенциала и 5... 10 %-ного запаса контактов на возможную модификацию);
• определение длины и ширины печатной платы. Ширина платы, как правило, кратна или равна длине соединителя с учетом полей установки и закрепления платы в модуле второго уровня. Требования по быстродействию и количество устанавливаемых на плату компонентов влияют на ее длину;
• собственно конструирование печатной платы;
|
|
|
• выбор способов защиты модуля от перегрева и внешних воздействий.
Широкое распространение получила плоская компоновка модуля, когда
компоненты схемы устанавливают в плоскости платы с одной или двух сторон (рис. 2, 3 и 4 цветной вклейки). Для плоской компоновки характерна малая высота установки компонентов по сравнению с длиной и шириной платы. Простота выполнения монтажных работ, легкость доступа к компонентам и монтажу, улучшенный тепловой режим являются основными преимуществами плоской компоновки. Если для внешней коммутации модуля вводится соединитель, то подобную конструкцию называют ТЭЗ (рис. 1). На печатную плату устанавливают микросхемы 4 и для исключения влияния на работу микросхем помех по электропитанию — развязывающие конденсаторы 5.
Рис. 1. Типовой элемент замены:
/ — лицевая панель; 2 — невыпадающий винт; 3 — печатная плата; 4 — микросхема; 5 — развязывающий конденсатор; 6 — электрический соединитель
Лицевая панель выполняет одновременно несколько функций. На ней располагают элементы индикации и управления, контрольные гнезда, иногда электрические соединители, которые коммутируются с платой проводным монтажом. На панели в резьбовое отверстие помещают невыпадающий винт 2, которым ТЭЗ жестко фиксируется на несущей конструкции модуля второго уровня, наносится адрес, позволяющий отличить ТЭЗ среди подобных в наборе, реализующем конструкцию ЭА, а также предотвратить неправильную установку ТЭЗ. Несоответствие адреса установочного места в блоке с адресом лицевой панели ТЭЗ указывает о неправильной его установке.
|
|
|
Лицевые панели совместно с монтажными панелями модулей высших уровней направляют охлаждающий аппаратуру воздух к теплонагруженным компонентам. Чтобы предотвратить утечку воздуха из установочных мест, где по каким-либо причинам ТЭЗ отсутствуют, вместо них устанавливают заглушки (только лицевые панели ТЭЗ). Панель и электрический соединитель крепят к печатной плате винтовым или заклепочным соединением. В условиях жестких механических воздействий плату ТЭЗ устанавливают на рамку, что увеличивает жесткость конструкции.
При большом числе внешних цепей на ТЭЗ устанавливают несколько соединителей, располагающихся на одной или нескольких сторонах платы. В приведенной на рис. 2 конструкции ТЭЗ с двусторонним расположением соединителей стрелками показаны направления установки ТЭЗ в приборные соединители шасси блока, а затем кабельного соединителя, закрепленного на кронштейне, в приборный соединитель ТЭЗ.
| Рис. 2. ТЭЗ с тремя соединителями: 1 — ТЭЗ; 2 — кронштейн с кабельным соединителем; 3 — шасси блока |
В блоках транспортируемой аппаратуры печатные платы модулей, как правило, закреплены жестко на несущей конструкции. Модули первого уровня коммутируются между собой приборными соединителями печатного монтажа (рис. 3, а, б), непосредственной подпайкой проводов к монтажным отверстиям плат (рис. 3, в), с использованием переходных штырьков (рис. 3, г) и колодок (рис. 3, д) (на рисунках показан вид сбоку на печатную плату).
Соединители обеспечивают наиболее быструю и легкую замену модулей и бывают прямого и косвенного сочленения. Вилка соединителя прямого сочленения является частью печатной платы, на которой одним из известных методов выполнения рисунка печатного монтажа получают контакты соединителя (печатные ламели). Розетка соединителя прямого сочленения бывает открытого и закрытого исполнения. В розетках открытого исполнения прорезь для установки печатной платы открыта с концов (отсюда подобное название), что позволяет устанавливать в нее различные по ширине платы. Розетки закрытого типа с концов ограничены торцевыми поверхностями и служат для установки плат фиксированной ширины. Взаимная ориентация модуля и розетки осуществляется перегородкой в розетке и пазом под эту перегородку в концевой части печатной платы. Фиксация модуля в розетке открытого исполнения производится за счет пружинящих контактов розетки, в розетке закрытого исполнения — еще и торцевыми поверхностями соединителя.

Рис. 3. Коммутация модулей первого уровня:
а — прямое сочленение ТЭЗ; б — косвенное сочленение ТЭЗ; в, г, д — коммутация паяным соединением; 1 — печатная плата; 2 — вилочный печатный соединитель; 3 — вилка соединителя косвенного сочленения; 4 — розетка; 5 — провод; б — прижимная планка; 7—переходной штырек; 8 — переходная колодка
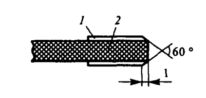
Соединитель прямого сочленения разрабатывается под плату определенной толщины. Расстояние между соседними печатными ламелями выбирается из ряда: 1,25; 2,5;3,75 и 5 мм.
|
| Рис. 4. Концевая часть вилочного печатного соединителя платы: 1 — печатная ламель; 2 — диэлектрическое основание |
Надежная установка при вставлении модуля и предотвращение отслаивания печатных ламелей от платы обеспечивается некоторым заост рением концевой части платы с ламелями (рис. 4). Малое омическое сопротивление и высокая износостойкость контактной пары ламель—пружинящий контакт розетки при низких усилиях контактирования достигается покрытием медных поверхностей ламелей серебром, палладием, золотом, родием. Толщина покрытия варьируется в пределах 3...50 мкм.
При конструировании печатных плат необходимо решать задачи:
• выбора проводниковых и изоляционных материалов, формы и размеров печатных плат, способов установки компонентов;
|
|
|
• определения ширины, длины и толщины печатных проводников, расстояний между ними, диаметров монтажных и переходных отверстий, размеров контактных площадок;
• трассировки печатного монтажа;
• оформления конструкторской документации.