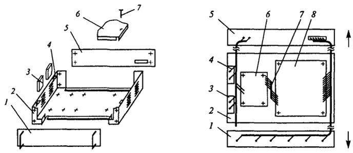
К модулям второго уровня относятся блоки различных видов. Конструкция одноплатного бескаркасного настольного прибора со встроенным блоком питания приведена на рис. 5 и 6. Несущей конструкцией прибора является основание 2. Хотя размеры основания могут быть большими (300 х 450 мм и более), его обычно изготовляют из тонкого листового материала, а для придания жесткости в углах конструкции задается определенная форма.
Для закрепления модулей в основании прибора выполнены выдавки с отверстиями, в которые вставляют резьбовые втулки под винты.
Крышка 6 сдвигается, перемещаясь по вертикальным боковым стенкам детали 2. Это позволяет на крышке 6 располагать техническое описание прибора, электрические схемы, измерительные приборы. Для закрепления крышки на основании предусмотрены кронштейны 4, фиксируемые заклепками.
|
Рис. 5. Прибор настольный бескаркасный:
1 — лицевая панель; 2 — основание; 3 — вентилятор; 4 — кронштейн; 5 — задняя панель; б — крышка; 7 — винт
Рис. 6. Электромонтажная схема прибора настольного бескаркасного:
/ — лицевая панель; 2 — основание; 3 — вентилятор; 4 — провод; 5 — задняя панель; 6 — блок питания; 7 — жгут; 8 — плата электроники
На основание прибора устанавливают блок питания, плату операционного устройства (электроники) и вентиляторы, обеспечивающие нормальный тепловой режим прибора.
На электромонтажной схеме (см. рис. 6) задняя и передняя панели развернуты относительно установочной плоскости основания на 90°. В конструкцию введены: жгут сетевого напряжения, подводящий 220 В частотой 50 Гц к блоку питания и вентиляторам, жгут подвода постоянного напряжения от блока питания к плате электроники и жгут сигнальных проводов.
В том случае, если максимальные размеры платы 8 каким-нибудь образом ограничены, например, производственными возможностями или размерами основания прибора, то на плату электроники можно установить вместе с компонентами схемы электрические соединители, в которые, в свою очередь, установить ТЭЗ с недостающими компонентами схемы прибора (рис. 7). Таким образом, объединительная плата, представленная на рис. 7, является модификацией платы электроники. В зарубежной литературе такие платы называют motherboard — материнской платой.
Может случиться, что схема, реализуемая на плате, потребует размеров, которые не могут быть обеспечены современным производством. Тогда эта гипотетическая плата разбивается на несколько плат меньших размеров, объединяемых конструктивно в блоке монтажной панелью.
Возможные компоновочные формы блоков представлены на рис. 8. При одинаковых физических объемах блоков сферическая форма обеспечивает минимальную длину линий связей. Однако форма ТЭЗ в виде полукруга не является технологичной. При конструировании блоков ЭА применяют

Рис. 7. Объединительная (материнская) плата:
1 — микросхема; 2 — объединительная плата; 3 — ответный электрический соединитель ТЭЗ; 4 — ТЭЗ

Рис. 8. Компоновочные схемы блоков в виде параллелепипеда (а), цилиндра (б), сферы (в):
1 — ТЭЗ; 2 — монтажная панель
стеллажный, этажерочный и книжный варианты конструкций в форме параплелепипеда в негерметичном и герметичном исполнении.
Блоки стеллажного типа (рис. 9) компонуются из ТЭЗ, которые устанавливаются в один или несколько рядов перпендикулярно монтажной панели. Основным конструктивным элементом блока является каркас 1 с монтажной панелью и соединителями 4. В зависимости от ориентации в пространстве монтажной панели существуют три разновидности компоновочных схем блоков, приведенные на рис. 9.
Блоки с защитными кожухами и крышками являются самостоятельными изделиями (приборами) и в таком виде эксплуатируются. Обычно на переднюю панель прибора настольного типа устанавливают элементы индикации, измерительные узлы, элементы управления (кнопки, тумблеры и т. п.), электрические соединители. Элементы управления и соединители, не требующие частого доступа, а также предохранители выносят на заднюю панель. При компоновке изделий необходимо обеспечить свободный доступ к электрическим соединителям монтажных панелей для контроля и к ТЭЗ

Рис. 9. Вертикальное поперечное (а), вертикальное продольное (в), горизонтальное (в) расположение монтажной панели блоков стеллажной конструкции: / — каркас; 2 — лицевая панель; 3 — монтажная панель; 4 — соединитель; 5 — ТЭЗ
для их замены. Если монтажная панель ориентирована горизонтально, то крышку и поддон прибора необходимо выполнять съемными, если вертикально — лицевую и заднюю панели нужно делать съемными или откидными.
При комплектации блоками рам и стоек шкафного типа в конструкции блоков не вводят кожухи или крышки. При значительной длине ТЭЗ (например, кассетной конструкции из нескольких плат) блок с вертикальным поперечным расположением монтажной панели (рис. 9, а) можно устанавливать непосредственно в стойку. Однако в современной аппаратуре длина одноплатных ТЭЗ редко превышает 200 мм, поэтому блоки данного типа следует устанавливать в промежуточный конструктивный элемент — раму, что позволит повысить плотность компоновки стоек.-Поскольку глубина блока с вертикальным продольным расположением монтажной панели (рис. 9, б) зависит от количества установочных мест для ТЭЗ, то подобные блоки устанавливаются непосредственно в стойку, минуя раму.
Горизонтальное расположение монтажной панели (рис. 9, в) затрудняет охлаждение блоков естественной конвекцией, поэтому их обычно используют в приборах настольного типа с низкой плотностью компоновки, либо совместно с вентиляторами, направляющими потоки охлаждающего
воздуха вдоль каналов, образованными рядами плат расположенных по соседству ТЭЗ.
Конструктивное исполнение блоков весьма разнообразно, но у всех блоков можно отметить обязательное наличие монтажной панели (шасси), каркаса, направляющих и элементов фиксации в модуле высшего уровня. Упростить проектирование, контроль, наладку аппаратуры, а также получить функционально законченные блоки высокой плотности компоновки возможно при разработке нескольких блоков конструкционной системы на разное число ТЭЗ. Для этого разрабатывают несколько типоразмеров основных базовых деталей блоков и, в первую очередь, монтажных панелей.
На монтажных панелях выделяют центральную и периферийную зоны. В центральной зоне располагают ответные части соединителей ТЭЗ, направляющие, в периферийной — колодки или соединители внешней коммутации, жгуты, узлы подвода напряжения питания и нулевого потенциала. Желательно ответные соединители ТЭЗ устанавливать на многослойную печатную плату. Однако практика конструирования показала, что получить все соединения печатным способом трудно из-за необходимости разработки плат с большим числом слоев, низкой разрешающей способности многослойного монтажа и несовершенства программ трассировки. В процессе отработки аппаратуры часто появляется необходимость во внесении изменений, которые проще всего выполнить проводным монтажом. Поэтому при конструировании блоков кроме печатного используется монтаж одиночным проводом, свитой парой, жгутовой монтаж.
При монтаже блоков свитой парой около выходных контактов ответных частей каждого соединителя ТЭЗ необходимо иметь контакты заземления, к которым коммутируются нулевые провода свитых пар. Это можно выполнить, если землю реализовать в виде сплошного фольгированного слоя односторонней печатной платы. При монтаже блоков одиночными проводами и свитыми парами необходимость в поддержке монтажа не возникает. При использовании жгутов на монтажной панели блока предусматривают пазы или углубления, в которых жгуты размещают и закрепляют.
Направляющие вводятся в конструкции для быстрого сочленения ТЭЗ с ответными частями соединителей без заклинивания, зажима или перекоса, поддержки платы ТЭЗ при ударах и вибрациях, создания пути для кондуктивного отвода теплоты. Для входа и перемещения платы в направляющих по краям платы предусматривают свободную от печатного монтажа зону шириной 2—3 мм. Длина направляющих зависит от длины платы ТЭЗ. Различают коллективные направляющие, предназначенные для установки одновременно нескольких ТЭЗ (рис. 10, а), и индивидуальные (рис. 10,6).
В качестве конструкционных материалов направляющих используется пластмасса и металл. Тепловое сопротивление RT металлических направляющих ниже, чем пластмассовых, и зависит от конкретной конструкции. На рис. 11 представлены конструкции четырех направляющих с указанием относительных величин их тепловых сопротивлений. Минимальным тепловым сопротивлением обладает клиновая направляющая. После установки ТЭЗ клин 3 винтом плотно прижимается к поверхности платы. Для бокового перемещения клина в направляющей под винт должно быть выполнено фигурное отверстие.
Надежная коммутация ТЭЗ с ответной частью соединителя в блоке обеспечивается расчетом на сочленение соответствующих размерных цепей блока. При этом определяют по известному допуску замыкающего звена допуски составляющих размеров, либо номинальный размер и допуск замыкающего звена по заданным размерам и допускам составляющих звеньев.
|
| Рис. 10.Направляющие печатных плат ТЭЗ: 1 — печатная плата |
|
Рис. 11. Металлические направляющие:
/ — направляющая; 2 — плоская пружина; 3 — клин
Элементы крепления и фиксации должны исключить возможность выпадения ТЭЗ при воздействии ударов и вибраций. Предусматривается индивидуальное или групповое крепление ТЭЗ. Для индивидуального крепления рекомендуется использовать невыпадающие винты, защелки. В большинстве случаев групповое крепление осуществляется прижимной крышкой с наклеенной с внутренней стороны пористой прокладкой. После установки всех ТЭЗ в блок со стороны лицевых панелей крепится винтами прижимная крышка.






