Монтаж надземных трубопроводов и прокладка дюкеров
Назначение и область применения. Надземные переходы трубопроводов устраивают при прокладке водоводов через различные естественные или искусственные преграды, например, глубокие ущелья, реки, железные или автомобильные дороги, т.е. в тех случаях, когда применить подземную прокладку невозможно или нецелесообразно. По своей конструкции надземные переходы трубопроводов могут быть подвесные, висячие, а также выполненые по балочной, арочной, трапецеидальной и мостовой схемам. При устройстве таких переходов возникают проблемы обеспечения их повышенной прочности и устойчивости, например, от ветровых и снеговых нагрузок, наледи. Особое значение приобретают задачи защиты труб от коррозии, что требует применения для устройства таких переходов труб с повышенной толщиной стенки и покрытия их изоляцией усиленного и весьма усиленного типа. Кроме того, их необходимо защитить от электрокоррозии, особенно переходов труб над электрифицированными железными дорогами.
Дюкер - это участок напорного трубопровода, проложенный по склонам и дну глубокого оврага, балки или под руслом реки (канала), под дорогой, расположенной в выемке. Особую трудность при устройстве дюкеров представляет доставка и укладка труб на крутых склонах оврагов или балок, равно как и отрывка траншей в таких условиях. Но наиболее сложным и трудоемким является процесс прокладки дюкеров через водные преграды – реки, каналы. При этом требуется применять специальные способы работ при устройстве подводных траншей и прокладке труб, их защите от коррозии и принятия мер против всплытия.
Подвесные и висячие переходы стальных трубопроводов чаще всего устраивают в местах пересечения трассы трубопроводов глубокими ущельями или реками.
Монтаж подвесных трубопроводов. Вначале возводят береговые и русловые опоры (пилоны), а затем на верхних ригелях пилонов устанавливают двухстоечные стреловые краны нужной грузоподъемности, оснащают их специальными траверсами для подъема, наводки и укладки рабочих канатов в опорные гнезда-башмаки на пилонах.
Пролетные строения однопролетных переходов монтируют на берегу по оси перехода до подъема несущих канатов на пилоны (первый способ) или на весу с временных опор после подъема канатов на пилоны (второй способ). При первом способе размеченные несущие канаты раскладывают по оси перехода, а концы их закрепляют в анкерных опорах. Далее к этим канатам прикрепляют распорки и узлы подвесок, после чего их поднимают на пилоны и закрепляют, подвески прикрепляют к седлам трубной плети. При втором способе монтажа (рис. 6.39, а), применяемом для устройства переходов длиной более 100 м, на пилонах поднимают только канаты, после закрепления которых монтируют подвески трубопровода (одновременно с двух сторон перехода), используя для этого телескопические вышки. Закрепив все подвески с необходимыми деталями, приступают к монтажу трубопровода.
Готовые блоки трубопровода из двух плетей (длиной до 40 м) скрепляют между собой жесткими связями и подают в зону монтажа на баржах и понтонах. Монтаж ведут одновременно с правого и левого берегов, равномерно и последовательно загружая несущие канаты. В проектное положение плети с барж поднимают системой полиспастов, прикрепленных к несущим канатам перехода, а береговые плети монтируют методом надвижки с помощью тех же полиспастов. После закрепления плетей трубопроводов в проектном положении и подвесках их центрируют и сваривают Окончив монтаж, выверяют прогиб несущих канатов и положение пилонов, окончательно закрепляют все элементы перехода. В заключение трубопровод испытывают, окрашивают его и устраивают тепловую изоляцию (при необходимости). Аналогично монтируют подвесные трубопроводы через дороги, глубокие овраги и т.д. Многопролетные переходы монтируют описанным выше способом по пролетам.
Монтаж висячих трубопроводов. Монтаж труб на пилоны осуществляют методом подъема или надвижки. При обоих методах вначале устанавливают пилоны и массивные железобетонные якоря с прикрепленными к ним оттяжками. Затем монтируют стояки с компенсационными петлями трубопровода. Далее между пилонами на поплавках или временных опорах выкладывают плеть трубопровода. При монтаже трубопровода методом

Рис. 6.39 – Монтаж подвесных и висячых трубопроводов
1 – пилоны, 2 – полиспасты, 3 – рабочий канат с подвесками, 4 – отводные блоки, 5 – якорь, 6 – постоянные опоры, 7 – лебедка с полиспастами, 8 – подвесной трубопровод, 9 – временная опора, 10 – блоки (ролики) на подвесках через 12... 14 м, 11, 12 – тяговый и монтажный трос, 13 – несущий трос, 14 – катки, 15 – протаскиваемая секция трубопровода, 16 – катковая опора, 17 – понтон с катковой опорой, 18 – трос к лебедке
подъема плеть в проектное положение поднимают синхронно действующими на обоих пилонах полиспастами, после чего его соединяют с узлами подвесок и магистральным водоводом. При монтаже методом надвижки (рис. 6.39, б) между пилонами на блоках натягивают временный монтажный трос, а к трубопроводу, уложенному у одного из пилонов, крепят тяговый трос и через каждые 14 - 15 м на жестких стойках - ролики. Оба троса перебрасывают через блоки на вершинах пилонов и крепят к тягачу на противоположном берегу. Затем двумя или четырьмя кранами-трубоукладчиками подготовленную плеть трубопровода поднимают и подают так, чтобы она перемещалась к противоположному пилону, опираясь роликами на монтажный трос. Плети придают проектный прогиб, прикрепляют ее к подвескам пилонов и сваривают в одну нить с участками трубопроводов по обе стороны перехода.
При монтаже вантовых переходов, доступных для плавучих средств, для монтажа трубопроводов устраивают площадки, расставляемые по створу перехода в пределах зеркала воды на минимально возможном расстоянии друг от друга (рис. 6.39, в). Несущие и ветровые канаты протаскивают с помощью временного тягового каната и лебедки в натянутом состоянии, чтобы они не соприкасались с водой, после чего их поднимают на пилоны. Монтаж, сварку и гидравлическое испытание подготовленной плети трубопровода выполняют на монтажной площадке, расположенной в створе перехода на берегу. Готовую плеть протаскивают с помощью лебедки или трактора и тягового каната. В зависимости от длины пролета и высоты берега плеть протаскивают по плавучим опорам или по опорным седлам пролетного строения.
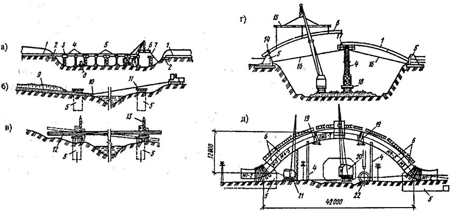
Монтаж балочных и арочных самонесущих трубопроводов. Балочные переходы монтируют в два этапа: вначале устанавливают опоры, а затем надвижкой или подъемом монтируют трубопровод. Если пролет превышает 50 м, устанавливают промежуточные опоры (рис. 6.40, а). При методе надвижки плети трубопровода на катках лебедками (тяговой и тормозной) надвигают на опоры. При устройстве однопролетных балочных переходов из одной секции или плети при доступном переходе для машин сборку, сварку и гидравлическое испытание плети ведут на дне препятствия. Если необходимо в таких условиях смонтировать многопролетный переход, то плети доставляют непосредственно к его опорам и затем кранами укладывают в проектное положение (рис. 6.40,а). При недоступности перехода для машин плети доставляют к месту монтажа по воде и затем монтируют плавучими кранами. Простейшие однопролетные балочные переходы через водные препятствия монтируют способом протаскивания (рис. 6.40, б) с последующим подъемом и укладкой кранами на опоры (рис. 6.40, в).
Арочные переходы трубопроводов монтируют из укрупненных блоков - полуарок (рис. 6.40, г). Начинают монтаж с устройства береговых упоров с оставленными гнездами и забетонированными металлическими

Рис. 6.40 – Монтаж балочных и арочных самонесущих трубопроводов
1 – уложенный трубопровод, 2 – якорь, 3 – монтажный стык, 4, 5 – опоры (временные и постоянные), 6 – монтажные элементы, 7 – оттяжки, 8 – электросварочный агрегат, 9 – протаскиваемая секция трубопровода, 10 – заглушка со скобой, 11 – трос к трактору или лебедке, 12 – укладываемая секция трубопровода, 13 – автокран или трубоукладычик, 14 – муфта с подпятником, 15 – траверса, 16 – растяжки, 17 – опора с домкратом, 18 - железнодорожная платформа с монтажной опорой, 19 – бандажи для замыкания арки, 20 – железнодорожный кран, 21 – гученичный кран, 22 – площадка укрупнительной сборки секций, М1-2, М-3, М4-5, М6-7 – монтажные элементы арочного перехода
опорными рамами. Затем на специальных стендах готовят к подъему монтажные элементы (полуарки). При пересечении железнодорожных путей арочный переход монтируют железнодорожными кранами с использованием передвижной временной монтажной опоры (рис. 6.40, д).
6.21.2 Технология строительства дюкеров через «сухие» овраги (балки), и водные преграды
Прокладка трубопроводов дюкера по дну сухих оврагов и балок осложняется необходимостью производства работ в условиях крутых склонов. При этом в зависимости от их крутизны применяют различные методы монтажа труб, в том числе «сверху вниз», «снизу вверх» и комбинированным методом. Монтаж «снизу вверх» ведут с доставкой трубных секций на склон кранами-трубоукладчиками (рис. 6.41, а), тракторами или лебедками, установленными на верху склона (рис. 6.41, б). При уклоне до 20° и хорошем состоянии грунта трубы или секции доставляют к месту монтажа тракторами и наращивают последовательно. Пристыковку производят с помощью одного или двух трубоукладчиков. При монтаже с помощью лебедки длина секций может быть значительной. Монтаж трубопровода дюкера методом «сверху вниз» можно вести на любых склонах, но более целесообразно при крутых (рис. 6.41, в). При этом сборку и сварку труб или их секций ведут без работающих на склонах машин и механизмов. Первую секцию опускают в траншею одним или двумя кранами-трубоукладчиками Т1 и Т2 и крепят ее тросами к трактору Тр1 внизу и Тр2 вверху. Трактор Тр1 протаскивает наращиваемый трубопровод вниз, а Тр2 удерживает его от самопроизвольного сползания при стыковке каждой последующей секции. После пристыковки вверху очередной секции трубопровода протаскивают вниз на длину этой секции (рис. 6.41, г). Во избежание повреждений изоляционного покрытия трубопровода поверх изоляции делают футеровку из деревянных реек. Дюкеры через малые овраги монтируют из одного или нескольких элементов, которые изолируют, футеруют, укладывают в проектное положение и затем соединяют с трубопроводом.
Процесс прокладки дюкеров через водные преграды отличается повышенной сложностью и трудоемкостью работ, и поэтому к нему необходима тщательная подготовка. Для этого следует устроить и оборудовать береговую и плавучую монтажную площадку; спланировать участок строительства и устроить подъезды; установить стапели; подготовить транспортные средства и такелаж (лебедки, полиспасты, якоря и др.); подготовить силовые и электроосветительные сети; доставить плавучие средства - баржи, понтоны, катера и др. Также закрепляют створ перехода (дюкера), проводят гидрологические и гидрогеологические измерения (замеряют уровень воды и скорости потока, проверяют состояние дна и соответствие его проектному профилю, наличие наносов и т.п.). Затем приступают к разработке береговых и подводных траншеи.

Рис. 6.41 – Схемы укладки трубопроводов на склонах оврагов и балок при строительстве дюкеров
1 – укладываемый трубопровод, 2 – стыкуемая секция труб, 3 – якорящий трос, 4 – доставляемая секция, 5 – тяговый трос, 6 – лебедка, 7 – траншея, 8, 9, 10, а также Т, Т1 и Т2 – трубоукладчики, 11 – изолированная труба, 12 – зажимный захват, 13 – монтажная площадка, 14 – наращиваемая плеть трубоукладчика, 15 – санки, 16 – заглушка, Тр1, Тр2 - тракторы
Дюкеры через мелкие реки и ручьи сооружают в основном в траншеях, прокладываемых в период мелководья. При этом могут быть использованы следующие способы работ: с временным перекрытием русла дамбой; с проходом экскаватора по дну водотока; с отводом водного потока на период прокладки дюкера в другое русло; работой экскаватора с берега. При устройстве дюкеров через большие и глубокие водные преграды работы значительно усложняются и в зависимости от характера и величины преграды, времени прокладки дюкера (летом или зимой) применяют различные методы работ и механизмы.
Технологический процесс прокладки подводных трубопроводов дюкеров включает следующие операции: завоз труб, материалов и оборудования; рытье подводных траншей; сварку труб в секции затем в плети с проверкой качества стыков; гидравлическое испытание плети; устройство антикоррозионной изоляции и футеровки; балластировку трубопровода (к моменту окончания подводных земляных работ плеть трубопровода дюкера должна быть полностью готова к укладке; к этому сроку должны быть готовы также все спусковые устройства и монтажные механизмы); укладку трубопровода на дно и засыпку траншеи. При сооружении подводных трубопроводов их монтаж, сварку стыков, изоляцию и испытание выполняют чаще всего на береговой площадке.
Для укладки подводных трубопроводов применяют универсальные плавучие краны грузоподъемностью 10 - 60 т, а также сухопутные краны, устанавливаемые на баржах.
Выполнив необходимые подготовительные работы, приступают к земляным работам, причем вначале на берегах - к разработке подходов и траншей к водному препятствию, а на одном из берегов - к планировке площадки для сварочных и изоляционных работ. Затем переходят к работам по устройству подводных траншей, которые являются наиболее сложными, трудоемкими, дорогостоящими и продолжительными в общем комплексе работ по строительству дюкеров.