Бестраншейная прокладка труб продавливанием отличается тем, что прокладываемую трубу открытым концом, снабженным ножом, вдавливают в массив грунта, а грунт, поступающий в трубу в виде плотного керна (пробки), разрабатывают и удаляют из забоя. При продвижении трубы преодолевают усилия трения грунта по наружному ее контуру и врезания ножевой части в грунт.
Для продавливания труб применяют нажимные насосно-домкратные установки из двух, четырех, восьми и более гидродомкратов усилием по 500...3000 кН каждый с ходом штока 1,1... 2,1 м, работающие от насосов высокого давления. Количество домкратов в установке зависит от необходимого нажимного усилия
(6.10)
где qc- удельное сопротивление вдавливанию ножа в грунт, кН; l - периметр ножа, м; ξ0- коэффициент бокового давления грунта; MT - масса 1 м трубы (футляра), кг; L- длина продавливания трубы, м; tg φ - коэффициент трения трубы о грунт; P1 - вертикальное давление на 1 м длины трубы;
(6.11)
где ρ - плотность грунта, т/м3; DK - диаметр кожуха (футляра), м; tкp - коэффициент крепости грунта по проф. М.М. Протодьякову.
|
|
|
Приближенное необходимое усилие для продавливания трубы
(6.12)
где I - сила трения грунта по поверхности трубы, равная 20... 25 кН на 1 м2 поверхности трубы, м; Dтр - наружный диаметр трубы, м; L - общая длина продавливания трубы, м.
Способом продавливания ведут прокладку не только стальных труб, но и железобетонных коллекторов и тоннелей из элементов различной замкнутой по периметру формы.
Поскольку при продавливании труб больших диаметров, особенно в твердых грунтах, применяют особо мощные нажимные установки из нескольких домкратов, способных создать усилия более 10000 кН, для них необходимы прочные упорные стенки. Длина рабочих котлованов для продавливания труб диаметром 720 - 1420 мм составляет 10 - 12 м, а глубина их равна глубине заложения трубопровода или коллектора плюс 0,2 м. Ширина котлована в зависимости от диаметра продавливаемых труб принимается: для труб диаметром 720 мм - 2,8 м; 820 мм - 2,9; 920 мм - 3; 1020 - 4; 1220 -4, 5 и 1420 - 5 м. Приемный котлован служит для отсоединения рабочего органа или кольцевого ножа после продавливания трубопровода, что обусловливает его размеры и тип крепления.
Нажимное устройство состоит из силовой установки и приспособлений, передающих усилие на продавливаемую трубу. Усилие от домкратов на торец трубы передается при ее продавливания в грунт на длину хода штоков домкратов через нажимные патрубки. Поскольку при продавливании железобетонных труб и элементов коллекторов непосредственная передача усилий на них не допускается, между нажимным патрубком и их торцом устанавливают нажимную раму, а в стыках - прокладки из мастики. Работы по продавливанию трубопроводов делятся на подготовительный и основной периоды. В подготовительный период устраивают рабочий и приемный котлованы, ограждают их, монтируют упорную стенку и направляющие, продавливаемую трубу с нажимной установкой, а в основном периоде циклично выполняют работы по продавливанию трубы, включающие операции по продавливанию трубы, в забой на длину штока домкрата, обратного хода штока и постановки патрубка. При подготовке следующей трубы к продавливанию нажимной патрубок отводят в конец направляющих до соприкосновения со штоком домкрата, подают в рабочий котлован следующую трубу, выравнивают на направляющих и изолируют стык, опробывают нажимную установку. Таким образом, цикл продавливания повторяют до полного продавливания всего трубопровода или всей секции коллектора.
|
|
|
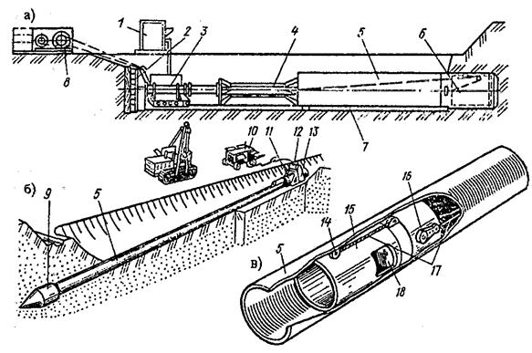
Способ продавливания бывает с ручной разработкой грунта и механизированной (рис. 6.31).
Применение ручной разработки грунта при продавливании малоэффективно, так как из-за неудобства удаления грунта из забоя снижаются производительность таких установок и общая скорость проходки. Поэтому для бестраншейной прокладки трубопроводов чаще всего применяют установки с механизированной разработкой и удалением грунта
Ножевую секцию (см. рис. 6.31, б) с диффузором приваривают к переднему концу прокладываемой трубы. При вдавливании ножа в грунт он проходит через диффузор и поступает в телескопический ковш, который тросом извлекают из трубопровода через отверстие в траверсе и после отсоединения от троса удаляют из котлована. Опорожненный ковш затем снова укладывают в корпус рабочего органа и с помощью каната подают в забой.

Рис. 6.31 – Установка для прокладки труб методом продавливания
а - продавливание с ручной разработкой грунта, б - продавливание с механизированной разработкой грунта; 1 - насосная станция, 2 - трубопровод, 3 - рабочий котлован, 4 - водоотводной котлован, 5 - трубопровод (футляр), 6 - лобовая обделка (нож), 8 - приямок для сварки труб, 9 - направляющая рама, 10 - нажимной патрубок, 11 - нажимная заглушка, 12- гидродомкраты, 13 - башмак, 14 - упорная стенка, 15, 18 - канаты, 16 - ролики, 17 - ковш, 19 - барабан-накопитель, 20 - уравнитель, 21 - нажимные штанги, 22 - траверса, 23 - поворотные фланцы, 24 - лебедка, 25 - шпалы направляющей рамы
Бестраншейную прокладку труб диаметром 1220 мм способом продавливания в сухих и увлажненных грунтах I - III групп можно производить также с помощью установки У-12/60 конструкции Гипронефтеспецмонтажа (рис. 6.32, а). Этой установкой, имеющей массу 12,7 т, при усилии продавливания 3400 кН и мощности приводных электродвигателей 18 кВт, можно продавливать трубы указанного диаметра на длину 60 м. Головку установки приваривают к продавливаемому трубопроводу для восприятия лобового сопротивления грунта. Грунт удаляется челноком, находящимся внутри головки.
Работа установки заключается в периодическом вдавливании прокладываемой трубы на длину хода домкрата (1000 мм) с последующим извлечением челнока из трубы и его разгрузкой. После каждого цикла надавливания производят операции по удалению нажимных патрубков, зачистке места установки челнока в головке, наращиванию или установке нажимных патрубков большей длины для последующего надавливания. Заполнение челнока грунтом обеспечивается вдавливанием трубы гидравлическим домкратом. Разгрузку челнока производят в отвал или на транспорт.

Рис. 6.32 – Установка У-12/60 для продавливания труб больших диаметров и виброударная установка УВГ - 51
1 – гидропривод, 2 – упорный башмак, 3 – гидродомкрат, 4 – нажимной патрубок, 5 – труба (футляр), 6 – головка, 7 – направляющая, 8 – лебедка, 9 – конусный наконечник, 10 - передвижная электростанция, 11 – корпус установки с расположенным внутри него вибромолотом горизонтального действия, 12 – электродвигатель, 13 – портальная рама, 14 – неподвижный блок, 15 – стакан, 16 – вибромолот с электроприводом, 17 – канаты для перемещения желонки внутри трубы (футляра), 18 – окно для разгрузки грунта
|
|
|
Виброударной установкой УВГ-51 (рис. 6.32, б) можно продавливать трубы (кожухи) диаметром 530 - 1020 мм, причем диаметром до 530 мм без эвакуации грунта из скважины, а диаметром до 1020 мм - с эвакуацией грунта. При прокладке труб способом виброударного прокола (диаметром до 530 мм) к забойному концу трубы (кожуха) приваривают глухой конусный наконечник, забивают трубу, нанося удары вибромолотом с дополнительной статической нагрузкой (до 50 т) или без нее.
При прокладке труб способом виброударного продавливания на забойном конце трубы наконечник не устанавливают, а приваривают сверху серповидную накладку для обеспечения зазора (10 - 15 мм) между скважиной и трубой, а в задней части трубы прорезают два боковых симметрично расположенных разгрузочных окна для удаления грунта. Внутрь трубы (кожуха) помещают виброударную желонку (рис. 6.32, в). При проходке труба (кожух) открытым концом внедряется в грунт на определенное расстояние (заходку), а затем желонка подается канатом к ее забойному концу, внедряется с помощью вибромолота в грунт, забирает его и с помощью каната перемещается к разгрузочным окнам, где под действием ударов вибромолота грунт высыпается через окна желонки в разгрузочные окна кожуха на дно траншеи.
Процесс проходки состоит из отдельных периодически повторяющихся циклов, в которых каждое внедрение в грунт трубы на 1 - 5 диаметров чередуется с выбором грунтового керна виброударной желонкой, причем при необходимости в забойной части кожуха может оставаться грунтовая пробка длиной 1 - 3 диаметра, исключающая отбор лишнего грунта и, тем самым, возможность образования пустот в грунтовом массиве.
Иногда применяют также способы с разработкой грунта гидроразмывом и удалением его из забоя в виде пульпы. Возможно также более простое по конструкции и надежно действующее устройство для продавливания труб домкратами с разработкой грунта в забое гидромонитором и удалением его с помощью шнека. С помощью такой установки можно прокладывать трубы диаметром 400 - 1220 мм на длину до 100 м при средней скорости 12 - 15 м в смену.
|
|
|
Железобетонные трубы и элементы коллекторов продавливают с помощью металлического ножа, опорное кольцо которого соответствует форме торца продавливаемых труб или указанных элементов. При разработке грунта в забое вручную или с помощью малогабаритных гидроэкскаваторов грунт убирают только в пределах выходного отверстия ножа, оставляя впереди грунтовую пробку. В пластичных грунтах в ножевую секцию встраивают решетку, разрезающую грунт на отдельные блоки, которые затем удаляют.
Способ продавливания тоннельных секций может быть применен в различных инженерно-геологических условиях. Этим способом можно продавливать тоннели и коллекторы длиной до 20 - 50 м, а при использовании промежуточных домкратных установок - длиной до 300 м и более. Однако существенным недостатком при этом является разрушение стыков и появление в стенах тоннелей трещин. Для устранения этих недостатков разработана технология прокладки тоннелей, при которой внутри каждого кольца соосно монтируют секцию упорной металлической обечайки (сердечника), на которой закрепляют, не касаясь друг друга, элементы тоннеля или коллектора. Сжимающее усилие в этом случае воспринимаются не железобетонными элементами, а обечайкой. Благодаря этому появляется возможность не только продавливать в грунт тоннельные секции с полной их сохранностью, но и уменьшать толщину стенок секций и увеличить длину продавливания.






