Графическая модель разложения общего эффекта изменения цены на эффект замены и эффект дохода по Слуцкому изображена на рис. 11.1.
Рис. 11.1
На рис. 11.1 показаны нормальные (полноценные) блага, спрос на которые увеличивается при росте дохода. Исходя из этого при понижении реального дохода соответствующая компонента в уравнении Слуцкого отрицательна. Сумма двух отрицательных величин также отрицательна, поэтому общий итог повышения цены для нормальных благ состоит в уменьшении объема спроса на них. Влияние эффекта замены и эффекта дохода однонаправленно, что мы видим на рис. 11.1.
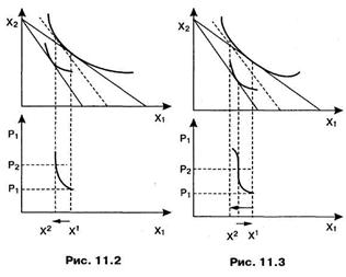
На рис. 11.2 показаны нейтральные блага. В том случае, когда потребитель считает данное благо нейтральным, при изменении дохода спрос на такое благо не изменяется, а эффект дохода равен нулю. Общее же изменение потребления этого блага совпадает с эффектом замены. В данном случае наклон кривой спроса будет более крутым в сравнении с наклоном кривой спроса на нормальное благо (рис. 11.1).
На рис. 11.3 изображен график неполноценного блага, спрос на которое при росте дохода сокращается, однако абсолютная величина эффекта дохода меньше величины эффекта замены. Общий результат роста цены будет отрицательным, хотя он будет еще меньше по абсолютной величине, нежели в случае с нейтральными благами.
|
|
|
В случае с неполноценным благом, когда эффект замены и эффект дохода равны по абсолютной величине, спрос на такое неполноценное благо будет абсолютно неэластичным (рис. 11.4).
В данном случае закон спроса продолжает действовать, однако его влияние нейтрализуется равносильным уменьшением реального дохода для неполноценных благ.
Когда же абсолютная величина эффекта дохода при изменении цены менее ценного блага превышает величину эффекта замены, то общий эффект повышения цены становится положительным.
Такой товар называется благом Гиффена, и кривая спроса на это благо имеет положительный наклон (рис. 11.5).

18.Товары бывают:
1. Нормальные (dQx/dI положительна): а) первой необходимости (с ростом дохода спрос на них увеличивается замедленным темпом) (d2Qx/d2I отрицательна) б) роскоши (при росте дохода спрос на них увеличивается ускоренным темпом) (d2Qx/d2I отрицательна)
2. Инфериорный (dQx/dI отрицательна): с ростом дохода уменьшаем потребление блага, (абсолютно инфериорных благ не бывает, в основном при низких доходах все блага – нормальные)
19. Кривые расходов Энгеля
Кривая доход-потребление позволяет построить индивидуальную кривую Энгеля характеризующую связь между объемом потребления товара и доходом потребителя при неизменных ценах и предпочтениях. Для нормальных товаров кривая Энгеля имеет положительный наклон. Кривая Энгеля может быть построена путем установления связи между оптимальными объемами потребления товара X и соответствующими уровнями дохода KL и KL 1 на рис. 3.11. Например, если E 1(Х 1, Y 1) и E 2(Х 2, Y 2) представляют оптимум потребителя при доходе KL и KL 1, то точки E 1(I 1, Х 1) и E 2(I 2, Х 2) на рис. 3.14 и есть точки кривой Энгеля товара X. Таким образом, линия FF ≈ кривая Энгеля товара X. Линия FiFi ≈ кривая Энгеля товара X, соответствующая линии доход-потребление, изображенной на рис. 3.13,а.
|
|
|


На практике мы чаще интересуемся расходами на агрегированные группы товаров ≈ продовольственные, непродовольственные, услуги и т.д. В этом случае кривая Энгеля модифицируется в кривую расходов Энгеля, характеризующую зависимость расходов на ту или иную группу товаров от уровня дохода покупателя.
Кривая расходов Энгеля показывает различие между нормальными, некачественными и высококачественными товарами. На рис. 3.15, где по ординатам отложены расходы на товар X (вместо количеств этого товара на рис. 3.14), представлены три кривые расходов Энгеля, соответствующие линиям доход-потребление на рис. 3.12 и 3.13. На каждой из трех частей рис. 3.15 проведены лучи из начала координат под углом 45╟. Если бы кривые расходов Энгеля совпадали с этими лучами, это означало бы, что весь доход потребитель расходует лишь на один товар X (или соответственно на одну агрегированную группу товаров). Поэтому такие лучи образуют верхние пределы реальных кривых расходов Энгеля.
На рис. 3.15,арасходы на товар X растут медленнее, чем растет доход. На рис. 3.15,в расходы на X растут быстрее, чем растет доход. Следовательно, товар X в данном случае является высококачественным (рис. 3.13,6). Наконец, на рис. 3.15,б расходы на товар X с увеличением дохода снижаются. Следовательно, в этом случае товар X является некачественным (рис. 3.13,о).
В XIX в. Э.Энгель на основе данных о расходах семей с разным уровнем дохода установил, что с ростом дохода доля его, направляемая на продовольствие, снижается, доля, направляемая на жилье и связанные с ним расходы, а также на одежду, остается примерно неизменной, а доля других расходов возрастает.
21. Максимизация функции Лагранжа. Правило долей