Контрольные вопросы
Октановое число определяется как объемная доля (%) изооктана в смеси с нормальным гептаном, равноценной по своей детонационной стойкости испытуемому топливу при стандартных условиях испытания.
Контрольные вопросы
Методы очистки масел
Методы очистки топлив
Очистка топлив и масел
1. Для снижения концентрации кислых продуктов (органических кислот, сероводорода) дистиллят обрабатывают раствором щелочи, а затем промывают чистой водой.
2. Для удаления смол дистиллят очищают серной кислотой, а затем последовательно промывают щелочными растворами и чистой водой.
3. Дистиллят с большим содержанием сернистых соединений подвергают гидрогенизации в присутствии катализатора (гидроочистке), в результате чего содержание серы в топливе снижается в 10...20 раз.
4. При изготовлении зимних сортов дизельных топлив из них удаляют парафиновые углеводороды, имеющие высокие температуры плавления. Процесс депарафинизации заключается в смешивании топлива с карбамидом, образующим кристаллические комплексы с парафинами нормального строения, и последующей его фильтрации. Очищенное таким образом топливо сохраняет текучесть до -60°С.
1. С 70-х годов XIX века для очистки масел применяют концентрированную серную кислоту, которая растворяет смолы и некоторые сернистые соединения, и щелочь.
2. Очень широко для очистки масел используют отбеливающие глины, на поверхности которых адсорбируются смолы, серная и органические кислоты и другие вещества. Зачастую контактная очистка с помощью глины заменяет обработку кислого масла щелочью.
3. Селективным методом очистки с помощью фенола и фурфурола получают масло с высокой химической стабильностью, т.е. масло-рафинат, и экстракт-смолку, которую используют как присадку к трансмиссионным маслам.
I. Назовите элементный состав нефти.
2. Углеводороды, каких классов составляют основную массу нефти?
3. Как осуществляется прямая перегонка нефти?
4.Расскажите о вторичных процессах переработки нефти.
5. Как определяют теплоту сгорания топлива по элементному составу?
6. Что называют низшей теплотой сгорания?
7. Как определяют теплоту сгорания жидкого топлива опытным методом?
ТЕМА 2 ОБЩИЕ СВОЙСТВА ТОПЛИВ
Топливом называют горючие вещества, способные при сжигании выделять тепловую энергию. Топливо может быть жидким, твердым и газообразным в зависимости от физического состояния.
2.2 СГОРАНИЕ ТОПЛИВА В ДВИГАТЕЛЕ
Под " сгоранием " применительно к автомобильным двигателям понимают быструю реакцию взаимодействия углеводородов и содержащихся в топливе соединений с кислородом воздуха. Такая реакция сопровождается свечением и выделением значительного количества тепла. Речь идет о сложном и не до конца изученном процессе. Общая картина физико-химических превращений топлива в процессе горения разработана в трудах Н.Н. Семенова, Ю.Б. Свиридова, А.С. Соколика и других ученых.
Окисление происходит в форме горения при условии быстрого перемещения активных частиц и разветвления цепей реакций. Это возможно только в газовой среде, поэтому жидкое топливо, сначала газифицируется, а затем воспламеняется. Воспламенение жидкого топлива осуществляется как от внешнего источника, так и в результате экзотермических реакций внутри самого топлива.
В составе жидкого топлива преобладают углерод и водород. При сгорании топлива наблюдаются следующие реакции

Сера реагирует с кислородом согласно уравнению

В процессе горения происходят такие процессы: связи в молекулах разрываются, атомы меняют положение, при этом выделяются различные пары и газы (их температура достигает 1500-2400°С), образующие при соединении с кислородом пламя (остаток топлива сгорает без пламени). Углекислый газ, пары воды, окислы серы, если она содержится в топливе, – конечные продукты горения.
От количества подаваемого воздуха во многом зависит процесс сгорания. Горение протекает медленно, температура невысока, если его недостаточно. Кроме того, при этом образуются продукты неполного сгорания (окись углерода, сажа и др.), а отработавшие газы становятся темными и даже черными. Если количество воздуха выше определенного предела, то много тепла будет расходоваться на нагревание азота – основного компонента воздуха – и избыточного кислорода; тогда температура снижается, скорость сгорания уменьшается и, как следствие, перерасходуется топливо.
Количество воздуха в горючей смеси, теоретически необходимое для полного сгорания 1 кг топлива, называют стехио метрическим. Для некоторых топлив эти значения (в килограммах) следующие (табл. 2.1):
Таблица 2.1 Количество воздуха в горючей смеси, теоретически необходимое для полного сгорания 1 кг топлива
| Авиационный бензин | 14,9 |
| Автомобильный бензин | 14,7 |
| Дизельное топливо | 14,4 |
| Этиловый спирт | 9,0 |
| Метиловый спирт | 6,5 |
| Бензол | 13,2 |
Полного сгорания топлива при условии наличия теоретически необходимого количества воздуха в действительности не происходит. Состав топливо-воздушной смеси, поступающей в камеры сгорания, при различных условиях и режимах работы двигателя может не совпадать с теоретически необходимым. Избытку или недостатку воздуха в смеси соответствует коэффициент избытка воздуха α, представляющий отношение массы действительно расходуемого воздуха к массе воздуха, теоретически необходимого для полного сгорания топлива (стехиометрич ескому)

где L – масса действительно расходуемого воздуха;
L0 – масса воздуха, теоретически необходимого для полного сгорания топлива.
Горючую смесь стехиометрического (теоретического) состава называют нормальной при α = 1, богатая смесь характеризуется значением α < 1, бедная α > 1.
Коэффициент избытка воздуха при неполном сгорании определяются по формуле:
,
а при полном – по формуле:
,
где O2,CO, N2 – процентное содержание в продуктах сгорания кислорода, окиси углерода (определяют анализом на специальных приборах, называемых газоанализаторами) и азота (подсчитывают по разности
.
В бедных смесях (α > 1) топливо сгорает полностью, выделяя всю химическую энергию. В богатых смесях (α< 1) воздуха для полного сгорания недостаточно, поэтому они менее экономичны. В то же время богатые смеси горят быстрее и устойчивее, выделяя за единицу времени больше тепла, чем при сгорании стехиометрической и бедной смеси, и двигатель развивает большую мощность. Поэтому бедные смеси называют экономичными, а богатые смеси - мощностными. Величина α зависит от вида применяемого топлива, условий его сжигания, конструкции двигателя (табл. 2.2).
Двигатели внутреннего сгорания в обычных условиях работают на слегка обедненной рабочей смеси, что обеспечивает наиболее экономичный режим. При перегрузках прибегают к некоторому переобогащению смеси, хотя в этом случае топливо расходуется неэкономно.
Таблица 2.2 Ориентировочные значения коэффициента избытка воздуха
| Вид топлива | α |
| Газообразное топливо | 1,05... 1,20 |
| Бензин | 0,90 … 1,15 |
| Дизельное топливо | 1,20... 1,40 |
| Бурый уголь, торф, дрова | 1,50 … 2,0 |
| Кокс, антрацит | 1,40 … 1,60 |
Компоненты отработавших газов по характеру их воздействия на человека подразделяют на ядовитые (окись углерода, соединения свинца), канцерогенные бенз(а)пирен, раздражающие (окислы азота, серные соединения, альдегиды) и загрязняющие (сажа и альдегиды).
Продукты неполного сгорания топлива загрязняют, как известно, окружающую атмосферу, оказывают вредное действие на живые организмы и растительный мир. Поэтому наряду с обеспечением полного сгорания топлива, что повышает экономичность двигателя, не меньшее значение имеет проблема снижения токсичности отработавших газов автомобиля.
Автомобильные топлива и продукты их сгорания в общем загрязнении атмосферного воздуха могут составлять в крупных городах и ряде регионов страны более 80%. В табл. 2.3 представлен примерный состав отработавших газов автомобильных двигателей.
Таблица 2.3 Основной состав отработавших газов автомобильных двигателей внутреннего сгорания, млн-1
| Показатель | Топливо | ||
| Дизельное | Природный газ | Бензин | |
| Оксид углерода | 200-400 | 10-8000 | 300-50000 |
| Летучие углеводороды | До 300 | До 600 | До 10000 |
| Альдегиды | До 20 | Следы | До 40 |
| Оксиды азота | 200-2000 | 300-800 | 1000-4000 |
| Сажа, мкг/м3 | До 0,25 | Следы | До 0,05 |
| Бенз(а)пирен, мкг/м3 | До 20 | До 0,8 | До 80 |
| Озонообразующий потенциал, мг/миля | До 270 | До 50 | До 550 |
Рассмотрим влияние токсичных компонентов отработавших газов на организм человека.
Окись углерода вызывает кислородное голодание организма, поражение центральной нервной системы. Острые отравления окисью углерода могут вызвать головную боль, паралич, кровоизлияние в сетчатку, инфаркт миокарда, потерю сознания и даже привести к смертельному исходу.
Окислы азота (в бензиновых двигателях 95% окислов азота находится в виде NО, небольшое количество – в виде NО2 и N2О5, попадая в организм человека, соединяются с водой, образуя азотистосодержащие кислоты. Максимальное количество окислов азота образуется при α = 1,05 … 1,10. Симптомы отравления появляются в виде кашля, удушья, возможен нарастающий отек легких.
Альдегиды (акролеин) вызывают сильное раздражение верхних дыхательных путей и воспаление слизистых оболочек глаз.
Углеводороды, оказывая вредное воздействие на центральную нервную систему, при острых отравлениях вызывают головокружение, головную боль, тошноту, судороги, расширение зрачков, расстройство дыхания и сердечной деятельности, поражение печени и почек.
Наибольшей активностью из полициклических ароматических углеводородов обладает бенз(а)пирен: аккумулируясь организмом до критических концентраций, приводит к раковым заболеваниям.
В нашей стране действует система государственных и отраслевых стандартов, определяющих пределы содержания токсичных веществ в отработавших газах автомобилей.
На токсичность отработавших газов влияют состав топливо- воздушной смеси, нагрузка, частота вращения коленчатого вала двигателя, тепловой режим, техническое состояние двигателя и другие факторы. Для улучшения процесса сгорания топлива в двигателях и снижения токсичности отработавших газов необходимы правильный подбор бензина для двигателя в соответствии с климатическими условиями, периодическая промывка системы смазки специальным промывочным маслом, систематическая промывка топливных и воздушного фильтров системы питания двигателя, своевременная регулировка карбюраторов для обеспечения оптимального состава смеси и другие мероприятия эксплуатационного и организационно-технического характера.
2.2 ТЕПЛОТА СГОРАНИЯ ТОПЛИВ
При "сгорании" горючей смеси в двигателе химическая энергия топлива превращается в тепловую и далее в механическую. Количество тепла при этом зависит от состава горючей смеси и от свойств самого топлива.
Теплота сгорания (теплотворность, теплотворная способность) – количество тепла, которое выделяется при полном сгорании единицы массы топлива - 1 кг жидкого или твердого, 1 м5 газообразного. По международной системе единиц СИ ее измеряют в джоулях (Дж) или чаще в килоджоулях (кДж). Этот показатель является одной из важнейших характеристик топлива: по его величине оценивают энергетические возможности топлива, его влияние на экономическую эффективность.
Различают высшую и низшую теплоту сгорания. За высшую теплоту сгорания Нв принимают все тепло, выделяющееся при сгорании 1 кг топлива, включая количество тепла, которое выделяется при конденсации паров как воды, образовавшейся при сгорании содержащегося в топливе водорода, так и воды, содержащейся в самом топливе. При определении низшей теплоты сгорания Нн тепло, выделяющееся при конденсации паров воды из продуктов сгорания, не учитывается. Оценивая теплоту сгорания топлива, обычно пользуются значениями низшей теплоты сгорания.
Теплоту сгорания определяют как расчетным путем, так и экспериментально. Рассчитывают теплоту сгорания, пользуясь эмпирическими формулами, предложенными Д.И. Менделеевым:


где Н„ - высшая теплота сгорания топлива, кДж/кг; Нн - низшая теплота сгорания топлива, кДж/кг; С, Н, О, S, содержание в топливе углерода, водорода, кислорода, серы, воды, % (об.).
От теплоты сгорания зависит энерговооруженность автомобиля - запас хода, размеры и масса топливного бака, возможность выполнения транспортной работы на одной заправке.
Теплота сгорания топлива зависит от его химического состава. Причем наибольшей массовой теплотой сгорания обладает водород 121000 кДж/кг (теплота сгорания углерода 34100 кДж/кг). Поэтому углеводороды, богатые водородом (например, парафиновые), имеют большую массовую теплоту сгорания, чем углеводороды с меньшим содержанием водорода (например, ароматические) - табл. 3, т.е. теплота сгорания углеводородов зависит от соотношения С:Н. Объемная теплота сгорания возрастает от парафиновых углеводородов к нафтеновым и ароматическим в связи с увеличением их плотности.
Таблица 2.4 Теплота сгорания углеводородов
| Углеводороды | Плотность, кг/м3 | Теплота сгорания, кДж/кг | ||
| массовая | объемная | |||
| Парафиновые: | ||||
| метан | 55 496 | 23 690 | ||
| октан | 702,5 | 47 800 | ||
| декан | 729,9 | 47 464 | ||
| Нафтеновые: | ||||
| циклопентан | 745,4 | 46 928 | 34 986 | |
| циклогексан | 778,6 | 46 626 | 36 243 | |
| метилциклогексан | 769,4 | 35 908 | ||
| Ароматические: | ||||
| бензол | 36 872 | |||
| толуол | 42 528 | 36 704 | ||
| изопропилбензол | 866,8 | 43 576 | ||
В двигателе сгорает не чистое топливо, а его смесь с воздухом. Теплота сгорания этой смеси определяется, с одной стороны, теплотой сгорания самого топлива, а с другой – количеством находящегося в нем воздуха. Смесь бензина с воздухом при полном сгорании выделяет 3430...3480 кДж/м3 или 2780...2830 кДж/кг. Однако на деле в двигателе тепла выделяется значительно меньше. Это обусловлено неоднородностью состава смеси, что приводит к различным отклонениям от стехиометрического соотношения топлива с воздухом (α = 1) в разных местах камеры сгорания. Таким образом, теплота сгорания смеси, а не теплота сгорания топлива влияет на мощность двигателя

(при α < 1 часть топлива не сгорает).
При экспериментальном определении теплоты сгорания топлива в калориметрах сжигают определенное его количество и по разности теплосодержания воды и стенок калориметра до и после сгорания устанавливают теплотворную способность топлива, которая, как видно из табл. 2.5, примерно одинакова для всех видов углеводородных топлив.
Таблица 2.5 Теплота сгорания топливовоздушной смеси
| Топливо | Теплота сгорания. кДж/кг | |
| топлива | горючей смеси | |
| Бензин | ||
| Дизельное топливо | ||
| Спирт этиловый | ||
| Спирт метиловый | ||
| Бензол | – |
Теплота сгорания топлива влияет на топливную экономичность: чем она выше, тем меньше топлива содержится в 1 м3 смеси, так как с увеличением теплоты сгорания топлива возрастает количество воздуха, теоретически необходимого для его полного сгорания.
2.3 ПОНЯТИЕ "УСЛОВНОЕ ТОПЛИВО"
Все топлива имеют неодинаковую теплоту сгорания, так как отличаются по составу, физическим и химическим свойствам. Для сопоставления различных топлив в качестве эталона принято " условное топливо ", у которого низшая теплота сгорания для жидких и твердых топлив равна 29307 кДж/кг, для газообразного топлива - 29307 кДж/мЗ (700 ккал/кг, 700 ккал/мз).
Для расчетов (например для замены одного вида топлива на другой) используют калорийный (Экал) и технический (Этех) эквиваленты.


где Нн - низшая теплота сгорания топлива; ηн - средний КПД котла (используется для расчета разных топлив, применяемых в котельных установках).
В таблице 2.6. приведены значения калорийных эквивалентов для основных видов топлив.
Таблица 2.6 Калорийные эквиваленты
| Топливо | Теплота сгорания Нн кДж/кг | Калорийный эквивалент, Экал |
| Условное топливо | 1,00 | |
| Каменный уголь (К) | 1,00 | |
| Антрацит (АП) | 1,03 | |
| Бурый уголь (БК) | 14 235 | 0,49 |
| Торф | 0,46 | |
| Древесина | 0,43 | |
| Нефть | 1,42 | |
| Бензин | 1,57 | |
| Дизельное топливо | 1,45 | |
| Мазут | 1,40 | |
| Газы: | ||
| природный | 1,21 | |
| водяной | 0,37 | |
| светильный | 0,63 | |
| сжиженный | 1,56 |
Контрольные вопросы.
1. Что понимают под сгоранием топлива?
2. Какие продукты неполного сгорания топлива загрязняют окружающую атмосферу?
3. На что влияет теплота сгорания топлива?
4. Какое топливо принято за "условное"?
ТЕМА 3 (1 часть) АВТОМОБИЛЬНЫЕ БЕНЗИНЫ
Введение
Автомобильный транспорт является основным потребителем нефтяного топлива.
В настоящее время в мире эксплуатируется около 1 млрд автомобилей.
Автомобильный парк Украины составляет менее 1% от численности эксплуатируемых в мире автомобилей. В то же время это один из самых динамично развивающихся секторов мирового автомобильного рынка. За последнее десятилетие количество автомобилей в стране возросло в 1,7 раза и продолжает расти.
Суммарное мировое потребление моторных топлив составляет около 1,75 млрд т/год, в том числе на долю автомобильных бензинов приходится более 800 млн т/год.
Еще недавно считалось, что моторное топливо нефтяного происхождения будет активно вытесняться альтернативными видами топлива: сжиженным нефтяным газом, сжатым и сжиженным природным газом, спиртами, водородом и др.
Однако освоение альтернативных видов топлив встречает определенные технические и экономические трудности, поэтому есть уверенность, что жидкое топливо нефтяного происхождения останется на ближайшие десятилетия основным как для двигателей с искровым зажиганием, так и для дизельных двигателей.
Ассортимент и качество вырабатываемых и применяемых бензинов определяются структурой автомобильного парка страны, техническими возможностями отечественной нефтеперерабатывающей и нефтехимической промышленности, а также экологическими требованиями, которые в последнее время стали определяющими.
Отрицательное влияние выбросов автотранспорта на окружающую среду приводит к необходимости ужесточать нормы на состав отработавших газов автомобилей.
Продукты сгорания бензинов, содержащиеся в отработавших газах автомобиля, поступают в атмосферу, загрязняя окружающую среду. Особенно сильное загрязнение воздушного бассейна отработавшими газами наблюдается в крупных городах с большим числом эксплуатируемых автомобилей.
С целью снижения вредных выбросов автомобилями их стали оборудовать каталитическими системами нейтрализации отработавших газов, что потребовало ужесточения требований к качеству применяемого бензина.
Совершенствование конструкции двигателей и автомобилей, повышение качества вырабатываемых и применяемых бензинов должно сопровождаться общим повышением культуры эксплуатации автомобильного транспорта.
Экологические свойства бензинов обеспечиваются ограничениями по содержанию отдельных токсичных веществ по групповому углеводородному составу по содержанию низкокипящих углеводородов, а также серы и бензола.
Эти ограничения позволяют обеспечить надежную работу каталитической системы нейтрализации ОГ и способствую уменьшении воздействия автомобильного парка на загрязнение окружающей среды.
В табл. 3.1 приведены требования к автобензинам в странах Европейского Экономического Сообщества.
В связи с присоединением Украины к европейским экологическим программам возникла острая необходимость в организации промышленного производства автомобильных бензинов, соответствующих европейским требованиям (EN - 228).
Требования к автомобильным бензинам Европейского Экономического сообщества
Таблица 3.1 Требования к автобензинам в странах Европейского Экономического Сообщества
| Евро-2 | Евро-3 2002 г. | Евро-4 2005 г. | |
| Содержание бензола, макс., % | 5,0 | 1,0 | 1,0 |
| Содержание серы, макс. | 0,05% | 150 ррм | 50 ррм |
| Содержание ароматических | – | ||
| Содержание олефиновых | – | ||
| Содержание кислорода, макс, % | – | 2,3 | 2,7 |
| Фракционный состав: % | |||
| до 100ºС перегоняется, не менее | – | ||
| до 150ºС перегоняется, не менее | – | ||
| Давление насыщенных паров, кПа, не более | – | ||
| Наличие моющих присадок | – | обязательно |
3.1 ЭКСПЛУАТАЦИОННЫЕ ТРЕБОВАНИЯ
Для двигателей внутреннего сгорания с принудительным воспламенением в качестве топлива используется бензин. Бензин представляет собой смесь углеводородов, выкипающих при температуре от 35 до 215°С.
Топлива для бензиновых двигателей должны иметь такие физико-химические свойства, которые обеспечивали бы:
– нормальное и полное сгорание полученной смеси в двигателях (без возникновения детонации);
– образование топливовоздушной смеси требуемого состава;
– бесперебойную подачу бензина в систему питания двигателя;
– отсутствие коррозии и коррозионных износов деталей двигателя;
– возможно меньшее образование отложений во впускном трубопроводе, камерах сгорания и других частях двигателя;
– сохранение качества при хранении, перекачках и транспортировке;
– образовывать минимальное количество продуктов сгорания, загрязняющих окружающую среду.
3.2 КАРБЮРАЦИОННЫЕ СВОЙСТВА
Бензин, подаваемый в систему питания двигателя с искровым зажиганием, образует с воздухом топливовоздушную смесь. Для полного сгорания необходимо обеспечить однородность смеси с определенным соотношением паров бензина и воздуха, состав рабочей смеси определяется дозирующим устройством карбюратора. Образование рабочей смеси происходит сначала в смесительной камере карбюратора и заканчивается в цилиндрах двигателя. Процесс смесеобразования длится всего 0,01...0,02 с.
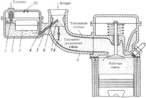
На рис. 3.1 показана схема простейшего карбюратора.

Рис. 3.1. Схема простейшего карбюратора
1 - игольчатый клапан; 2 - поплавковая камера; 3 - поплавок; 4 - жиклер; 5 - распылитель; б - диффузор; 7 - смесительная камера; 8 - дроссельная заслонка; 9 - впускной трубопровод; 10- отверстие в поплавковой камере
Бензин подается в поплавковую камеру 2 насосом, воздушная полость которой соединена с атмосферой через отверстие 10. Постоянный уровень в поплавковой камере поддерживается при помощи поплавка - 3 и запорной иглы - 1. Из поплавковой камеры бензин через жиклер - 4 засасывается в смесительную камеру - 7 вследствие разрежения, которое создается в диффузоре - 6 во время такта впуска. Максимальный расход топлива происходит при полном открытии дроссельной заслонки - 8. Во впускном трубопроводе - 9 бензин распадается на мелкие капли, средний диаметр которых составляет 0,1-0,2 мм и испаряется. На установившемся режиме испарение бензина начинается в карбюраторе, продолжается во впускном трубопроводе и заканчивается в цилиндрах двигателя. Но часть капель бензина при выходе из диффузора карбюратора оседает на стенках впускного трубопровода и образует пленку жидкого топлива, что приводит к неравномерности распределения смеси по цилиндрам.
Процесс образования смеси необходимого состава схематически можно представить следующим образом:
– из поплавковой камеры карбюратора топлива вследствие разности давлений проходит через жиклеры, дозирующие его количество, и вытекает из распылителя, расположенного в смесительной камере:
– вытекающее топливо распыляется на мельчайшие капельки в струе воздуха, засасываемого в цилиндры двигателя через смесительную камеру карбюратора;
– начинается испарение распыленного топлива, продолжающееся во впускном трубопроводе двигателя; пары топлива и воздух при этом взаимно диффундируют, образуя топливовоздушную смесь.
Совершенствование систем внешнего смесеобразования привело к созданию разнообразных конструкций устройств питания нового типа с впрыском бензина через электромагнитные форсунки непосредственно во впускной патрубок. В таких системах питания обеспечивается большая по сравнению с карбюраторными двигателями равномерность распределения топливной смеси по цилиндрам, уменьшается сопротивление на впуске и улучшается наполнение цилиндров, достигается более гибкая коррекция состава смеси при изменении режима работы двигателя, создаются предпосылки для оптимального управления двигателем на всех режимах с применением микропроцессорной техники. В итоге улучшаются показатели топливной экономичности на 12-18% по сравнению с традиционными карбюраторными системами. Кроме того, наблюдается резкое снижение содержания ряда вредных продуктов в отработавших газах. В результате системы питание с впрыском бензина получает все большее применение, несмотря на более высокую стоимость и сложность эксплуатации.
На процесс образования рабочей смеси необходимого состава оказывают наибольшее влияние следующие физико-химические показатели топлива: плотность, вязкость, фракционный состав, давление насыщенных паров.
Плотность топлива. Под плотностью, как известно, понимают массу вещества, отнесенную к единице его объема. В СИ плотность измеряется в кг/м3, однако, на практике до сих пор применяют и другие единицы - г/см3, кг/л. Плотность бензина (как и его вязкость) влияет на расход топлива через калиброванные отверстия жиклеров карбюратора. Уровень бензина в поплавковой камере зависит от плотности. Поэтому величина плотности для автомобильных бензинов при +20°С должна находиться в пределах 690-780 кг/м3. Применение бензина со значительно пониженной плотностью может привести к повышению его уровня в поплавковой камере карбюратора и самопроизвольному вытеканию топлива из распылителя.
Поскольку топлива с одинаковой плотностью, но различного происхождения и химического состава имеют разные свойства, плотность как таковая не характеризует их свойств.
Плотность топлива определяют ареометром, гидростатическими весами и пикнометром. Из-за простоты и быстроты в определении плотности ареометром этот метод применяют чаще всего, хотя он и менее точный по сравнению с двумя другими.
Зная температуру, при которой была определена плотность, можно привести ее к стандартной температуре (+20°С):

где рt - плотность испытуемого продукта при температуре испытаний, кг/м3; г - температура испытания, °С;
- температурная поправка плотности (определяется по расчетной таблице, изменяется в пределах 0,515-0,910 кг/м3).
Плотность бензина с понижением температуры на каждый 10°С возрастает примерно на 1%.
Вязкость (внутреннее трение) - свойство жидкостей, характеризующее сопротивление действию внешних сил, вызывающих их течение. Вязкость топлива зависит от температуры, химического состава и структуры углеводородов.
Величина вязкости может быть выражена в абсолютных единицах динамической и кинематической вязкости или в условных единицах. В СИ за единицу динамической вязкости Л принята вязкость такой жидкости, которая оказывает сопротивление силой в 1 Н взаимному сдвигу двух слоев жидкости площадью 1 м2, находящихся на расстоянии 1 м один от другого и перемещающихся с относительной скоростью 1 м/с (рис.3.2).
Динамическую вязкость определяют в капиллярном вискозиметре или в ротационном вискозиметре РВ-7. При определении динамической вязкости в капиллярном вискозиметре измеряют время истечения жидкости через капилляр вискозиметра под действием определенного давления (не ниже 13,3 кПа). Динамическую вязкость рассчитывают по формуле:

Рис. 3.2. Схема определения единицы динамической вязкости: а) начальное положение, б) момент смещения

Рис. 3.3. Вискозиметры:
а) капиллярный - (вискозиметр Пинкевича) (1,3,4 - расширительные объемы, 2 - капилляр); б) вискозиметр для определения условной вязкости (вискозиметр Энглера); в) схема истечения нефтепродукта через калибровочное отверстие
Кинематическая вязкость - это динамическая вязкость, разделенная на плотность жидкости, определенной при той же температуре, при которой определялась вязкость,

где
- кинематическая вязкость;
- плотность.
В соответствии с действующей системой измерения (СИ) единицей динамической вязкости (η) является Па • с (паскаль-секунда), а кинематической (n) м2/с. В старой системе измерения (СГС) за единицу динамической вязкости был принят- 1 П (пуаз), а кинематической - 1 Ст (стоке). Взаимосвязь между системами СГС и СИ следующая - для динамической вязкости 1П (пуаз) = = 0,1 Па • с, а сотая часть 1 сП (сантипуаз) = 1 мПа • с, для кинематической вязкости - 1 Ст (стоке) = 1СИ м2/с = 1 см2/с, сотая часть стокса 1 сСт (сантистокс) = 1 мм2/с.
Определение кинематической вязкости основано на измерении времени перетекания определенного объема жидкости под действием силы тяжести при заданной температуре. Наиболее распространено определение кинематической вязкости с помощью капиллярных вискозиметров (рис. 3.3). Этот метод основан на том, что вязкость жидкостей прямо пропорциональна времени протекания одинаковых количеств их через один и тот же капилляр, обеспечивающий ламинарность потока. Вискозиметр калибруют с помощью жидкостей, вязкость которых точно известна. Для поддержания температуры, при которой проводится определение вязкости вискозиметр помещают в термостат или в водяную баню. Определяют время истечения нефтепродукта через калибровочное отверстие. Зная это время, кинематическую вязкость рассчитывают по формуле

где С - постоянная вискозиметра, мм2/с;
- время перетекания нефтепродукта через капилляр, с.
Иногда определяют условную вязкость.
Условной вязкостью называется вязкость, выраженная в условных единицах, получаемых на различных вискозиметрах. Принято выражать условную вязкость в градусах ВУ (вязкость условная), которые соответствуют градусам Энглера.
Для перевода единиц кинематической и динамической вязкости в условные единицы пользуются таблицами либо формулами пересчета (см. ГОСТ 33-82). Пересчет условной вязкости (°ВУ,) или градусов Энглера (°ЕГ) в кинематическую производится по следующей формуле:

Вязкость автомобильных бензинов при температуре +20°С может находиться в пределах от 0,5 до 0,7 мм2/с.
При изменении температуры бензина изменяется его плотность и вязкость.
При снижении температуры бензина возрастает его плотность, что приводит к увеличению расхода топлива. Снижение температуры одновременно вызывает увеличение вязкости бензина, а это приводит к уменьшению его расхода.
Большее влияние на снижение расхода в суммарном эффекте изменения вязкости и плотности бензина оказывает вязкость. Вязкость оказывает также превалирующее влияние на весовое количество топлива, протекающее через жиклер в единицу времени, что видно из зависимости, представленной на рис. 6. Расход бензина через жиклер при изменении температуры от 40 до -40 °С снижается на 20-30%.
Поверхностное натяжение. На степень распыливаниябензина влияет, в первую очередь кроме вязкости поверхностное натяжение: чем меньше их величины, тем меньших размеров получаются капли. Величина поверхностного натяжения характеризуется работой, необходимой для образования 1 м2 поверхности жидкости (т.е. для перемещения молекул жидкости из ее объема в поверхностный слой площадью в 1 м2) и выражается в Н/м.
Испаряемость топлива. Под испаряемостью топлива понимают его способность переходить из жидкого состояния в парообразное.
Автомобильные бензины должны обладать такой испаряемостью, чтобы обеспечивались легкий пуск двигателя, его быстрый прогрев и полное сгорание бензина после этого, а также исключалось образование паровых пробок в топливной системе.
Скорость и полнота перехода топлива из жидкого в газообразное состояние при данных условиях определяются его химическим составом и зависят от внешних условий (температуры, скорости движения потока газов и др.). Так как в различных двигателях эти условия неодинаковы, требования к испаряемости топлива связаны с конструкцией двигателя, для которого оно предназначается. Сгоранию всегда предшествуют испарение жидкого топлива и перемешивание его паров с воздухом с образованием в карбюраторе горючей смеси. При плохой испаряемости часть топлива не переходит в газообразное состояние и не сгорает.
Различают статическое (с неподвижной поверхности в неподвижный воздух) и динамическое (топливо и воздух движутся относительно друг друга) испарения топлив.
Статическое испарение проявляется прежде всего при хранении нефтепродуктов в резервуарах, причем с тем большей скоростью, чем меньше внешнее давление, выше температура нефтепродукта и окружающей среды, давление насыщенных паров, коэффициенты диффузии, теплопроводности и теплоемкости, теплота испарения и больше размеры резервуара. На скорость динамического испарения (оно наиболее ярко выражено при подготовке топлив к сгоранию в двигателях) влияют те же факторы, что и при статическом, однако в большей степени влияет фактор движения сред относительно друг друга и степень распыливания топлива.
Об испаряемости топлив можно судить (правда, приближенно) по величине плотности и температуре кипения углеводородов. Практически испаряемость топлив для двигателей оценивают, определяя их фракционный состав (для бензинов измеряют еще и давление насыщенных паров).
Фракционным составом нефтепродуктов называют содержание в них тех или иных фракций, выраженное в объемных или массовых процентах и определяемое для бензинов и дизельных топлив на стандартном аппарате для разгонки нефтепродуктов. Бензин, представляя собой смесь углеводородов, не имеет фиксированной температуры кипения: он испаряется в интервале температуры 35-215 °С.
При определении фракционного состава бензин (100 мл) нагревают в специальном приборе, а образующиеся пары охлаждают. Конденсируясь, они превращаются в жидкость, которую собирают в мерный цилиндр. Фиксируют температуры начала кипения - падения первой капли в цилиндр, выкипания 10, 50, 90% топлива и конца кипения.

Рис. 3.4 Фракционный состав бензина
Характерные температурные точки разгонки топлива приводят в стандартах и паспортах качества, по этим точкам оценивают, в частности, эксплуатационные качества бензинов.
Легкие фракции бензина, характеризующиеся интервалом по кривой (рис. 3.4) от начала кипения до выкипания 10%, определяют пусковые свойства топлива: чем ниже температура выкипания 10% топлива, тем они лучше. Для запуска холодного двигателя необходимо, чтобы 10% бензина выкипали при температуре не выше 55°С (зимний сорт). По температуре выкипания 10% можно приблизительно определить минимальную температуру окружающего воздуха, при которой возможен пуск двигателя, по формуле:

Если температура окружающего воздуха ниже минус 25 - минус 30 °С, то пуск холодного двигателя без предварительного подогрева или использования специальных пусковых жидкостей затруднен. При использовании зимнего вида бензина в летний период легкие фракции начинают интенсивно испаряться в топливном баке и бензопроводах, снижается коэффициент наполнения цилиндров, падает мощность, двигатель перегревается, в топливоподающей системе образуются паровые пробки, возникают перебои в работе, двигатель глохнет. Поэтому количество легкокипящих углеводородов в бензине летнего сорта ограничивают.
Качество горючей смеси при разных режимах работы двигателя, продолжительность прогрева (перехода с холостого хода на рабочий режим), приемистость (возможность быстрого перехода с одного режима на другой) зависят от испаряемости рабочей фракции (по кривой разгонки от 10 до 90%), которая по стандарту нормируется 50% точкой. Чем ни же температура этой точки, тем однороднее состав рабочей смеси по отдельным цилиндрам, тем устойчивее работает двигатель, улучшается его приемистость.
Температуру выкипания 90% топлива, характеризующую его склонность к конденсации, обычно называют точкой росы. Склонность топлива к конденсации тем меньше, чем меньше интервал температур от 90% до конца кипения, когда испаряются тяжелые углеводороды. Поскольку тяжелые углеводороды испаряются не полностью, то, оставаясь в капельножидком состоянии, они могут проникать через зазоры между цилиндром и поршневыми кольцами в картер двигателя, что приводит к смыванию смазочной пленки, увеличению износа деталей, разжижению масла, увеличению расхода топлива. Поэтому считают, что чем меньше интервал температуры от 90% до конца кипения и, следовательно, склонность топлива к конденсации, тем выше его качество, лучше экономичность и ниже темп изнашивания деталей двигателя.
Давление насыщенных паров Наличие в топливе самых легких фракций, влияющих на запуск двигателя и образование паровых пробок в топливоподающей системе определяют дополнительно по показателю " давление насыщенных паров ". Чем выше этот показатель, тем быстрее и полнее испаряется бензин и тем легче запуск двигателя (рис. 3.5)

Рис. 3.5 Влияние давления насыщенных паров бензина на минимальную температуру пуска двигателя
Поэтому для зимних видов бензинов он должен быть выше чем для летних.
Под давлением насыщенных паров жидкого топлива подразумевают давление паров, находящихся в состоянии равнове сияс жидкостью при данной температуре и определенном соотношении объемов жидкой и паровой фаз. Чем больше легких фракций в бензине, тем выше давление насыщенных паров.
От давления насыщенных паров зависят склонность бензина к образованию паровых пробок, возможные потери его при хранении, транспортировке и заправке автомобиля, легкость пуска двигателя. Чем больше в бензине углеводородов с низкой температурой кипения, тем выше его испаряемость и давление насыщенных паров, а следовательно, и склонность к образованию паровых пробок.
Чем выше давление паров при испарении топлива в замкнутом пространстве, тем интенсивнее процесс их конденсации. Давление паров испаряющегося бензина на стенки емкости называют упругостью паров, которая зависит от химического и фракционного состава бензина. Упругость (давление) паров возрастает при повышении температуры. Она тем выше, чем больше содержится в топливе легкокипящих углеводородов.
Стандартом ограничивается верхний предел давления паров до 670 кПа летом и от 670 до 930 кПа зимой, так как бензины с высокой упругостью паров склонны к повышенному образованию паровых пробок в топливоподающей системе; их использование влечет за собой снижение наполнения цилиндров, падение мощности.
Ограничение давления насыщенных паров обусловлено увеличением вероятности образования паровых пробок в системе питания двигателя, особенно в летний период эксплуатации.
Давление насыщенных паров определяют по методу Рейда (ГОСТ 1756-2000; ИСО 3007-99). Сущность метода заключается в измерении давления насыщенных паров топлива в двухкамерной бомбе при температуре 37,8ºС. Схема прибора показана на рисунке 3.6, а. Металлическая бомба состоит из топливной камеры 1 (рис. 3.6, б) с одним отверстием и воздушной камеры 2, которые соединяются при помощи резьбы. Отношение объемов воздушной и топливной камер составляет 3,95:4,05. В верхней части воздушной камеры находится ниппель 3 с газовым краном 4 и наконечником для резиновой трубки.

Рис. 3.6 Прибор для определения давления насыщенных паров стандартным методом:
а – схема прибора: 1 – водяная баня; 2 – бомба; 3 – ртутный манометр; 4 – термостат; б – устройство бомбы: 1 и 2 – топливная и воздушная камеры. 3 – ниппель; 4 – газовый кран.
Давление измеряют ртутным или пружинным манометром. Ртутный манометр 3 (см. рис. 6, а) представляет собой U -образную стеклянную трубку, наполненную ртутью. На один коней манометра надевают резиновую трубку, которую затем соединяют с воздушной камерой бомбы.
При проведении испытаний собранный аппарат опрокидывают. При этом находящийся в топливной камере бензин стекает в воздушную камеру. Затем аппарат сильно встряхивают несколько раз в направлении, параллельном его оси. Далее аппарат возвращают в нормальное положение и погружают в водяную баню, кран при этом должен также находиться в воде. Температуру бани поддерживают 37,8ºС. Аппарат выдерживают в бане в течение 5 мин. Затем его вынимают из бани, переворачивают, сильно встряхивают вдоль оси и ставят обратно в баню. Операцию изъятия и встряхивания повторяют после 5 мин выдержки, затем снова ставят аппарат в баню. По истечении 2 мин открывают газовый кран и регистрируют показания манометра. Испытания продолжают до тех пор, пока два последовательных показания не станут одинаковыми. Длительность испытания обычно составляет 20...30 мин. Конечное показание манометра снимают с точностью до 1 кПа.
При подсчете давления насыщенных паров бензина в показания манометра вносят поправку на изменение давления воздуха и насыщенных паров воды в воздушной камере, вызванное различием между исходной температурой воздуха и температурой водяной бани.
Низкотемпературные свойства бензинов.
Низкотемпературные свойства бензинов обусловливают их возможности по обеспечению работоспособности топливоподающей системы при отрицательных температурах.
При низких температурах может произойти прекращение подачи бензина в двигатель вследствие выпадения кристаллов льда или образования ледяных отложений на деталях карбюратора и впускной системы (обледенение карбюратора). Поскольку подавляющее большинство углеводородов, входящих в состав бензинов, застывает при очень низких температурах, а температура застывания автомобильных бензинов обычно ниже минус 60 °С, этот показатель для них не регламентируется.
Наибольшие осложнения при эксплуатации двигателей в условиях низких температур связаны с образованием в бензинах кристаллов льда. В бензинах в растворенном состоянии может содержаться всего лишь несколько сотых процента воды. Установлено, что с понижением температуры растворимость воды в бензинах уменьшается. При повышенной влажности воздуха и положительных температурах содержание воды даже в обезвоженном бензине почти мгновенно резко увеличивается. При быстром охлаждении бензина излишняя влага, не успевшая перейти в воздух, выделяется в виде мелких капель, которые при отрицательных температурах превращаются в кристаллы льда. Забивая фильтры, кристаллы нарушают подачу бензина в двигатель.
Чем больше в бензинах ароматических углеводородов, тем выше растворимость воды. Наиболее гигроскопичен бензол. Поэтому с точки зрения снижения опасности образования кристаллов льда при охлаждении бензинов содержание ароматических углеводородов в них, и в частности бензола, должно быть ограниченным.
Для предотвращения образования кристаллов льда в бензины добавляют присадки.
Вода может присутствовать в бензине и в виде второй фазы: ее необходимо отделять от бензина и сливать.
ТЕМА 3 (продолжение) АВТОМОБИЛЬНЫЕ БЕНЗИНЫ
3.1 НОРМАЛЬНОЕ И ДЕТОНАЦИОННОЕ СГОРАНИЕ
Повышение мощности и экономичности бензиновых двигателей возможно прежде всего за счет увеличения степени сжатия. Эта тенденция позволяет в наиболее полной степени совершенствовать конструкции двигателей. В то же время она предъявляет более жесткие требования к детонационной стойкости бензинов: чем выше детонационная стойкость, тем экономичнее и эффективнее работа двигателя.
При сгорании топлива в двигателе происходит превращение его химической энергии в тепловую и далее в механическую. Характер протекания процесса сгорания обусловливает как мощность и экономические показатели двигателя, так и его надежность и долговечность.
Вид сгорания в двигателе можно разделить на нормальное и аномальное.
При нормальном рабочем процессе в двигателе с искровым зажиганием сгорание смеси можно условно разделить на три фазы (рис. 3.7): I - начальную, в течение которой небольшой очаг горения, возникающий между электродами свечи, постепенно превращается в развитый фронт турбулентного пламени; // - основную фазу распространения пламени; /// - фазы догорания смеси.

Рис. 3.7 Индикаторная диаграмма процесса сгорания в двигателе с зажиганием от искры
I, II, III - продолжительность соответственно начальной, основной и завершающей фаз горения в градусах поворота коленчатого вала (°ПКВ); Θ - угол опережения зажигания
Провести резкую грань между отдельными фазами сгорания не представляется возможным, так как изменение характера процесса происходит постепенно.
Первая фаза - период скрытого сгорания или период задержания воспламенения (12-15% от общего времени сгорания топлива) характеризуется более интенсивной подготовкой рабочей смеси к сгоранию, чем в период сжатия. В этой фазе сгорания интенсифицируются окислительные процессы (прежде всего за счет подогрева смеси от электрической искры происходит низкотемпературное горение топлива), а повышение давления практически не отличается от повышения давления, вызываемого сжатием без горения.
Вторая фаза - непосредственное сгорание (сопровождается более быстрым, чем при чистом сжатии, повышением давления) продолжается до максимального подъема давления и обычно заканчивается спустя несколько градусов после верхней мертвой точки (в.м.т.). Сгорание происходит интенсивнее при более высокой температуре рабочей смеси к моменту подачи искры. Скорость сгорания подчиняется закону действующих масс:

где ν - скорость реакции; С1, С2, С3 - концентрация действующих веществ; k - постоянная, зависящая от природы реагирующих веществ.
Так как скорость сгорания пропорциональна произведению концентраций реагирующих веществ, то по мере сгорания, когда их концентрация снижается, скорость сгорания уменьшается.
Химический состав и количество топлива, его соотношение с воздухом, величина остаточных газов в цилиндре, температура и давление смеси, конструкция камеры сгорания и ряд других факторов существенно влияют на скорость сгорания. Наиболее интенсивно процесс сгорания протекает при α=0,95, что характерно для небольшого обогащения горючей смеси. Дальнейшее обогащение топлива приводит к увеличению неполноты его сгорания, а обеднение - к расходу тепла на нагревание избыточного азота. В обоих случаях снижается скорость сгорания. При повышении степени сжатия двигателя процесс сгорания интенсифицируется (повышаются температура и давление смеси).
Нормальное течение процесса иллюстрирует схема сгорания рабочей смеси и распространения фронта пламени, показанная на рис. 3.8. Видно, что скорость сгорания примерно постоянна весь период, давление в цилиндре двигателя от расширяющихся продуктов сгорания возрастает плавно и достигает максимального значения вблизи в.м.т., поршень движется вниз (к н.м.т.), и занимаемый продуктами сгорания объем увеличивается. Все это характеризует нормальную работу двигателя.

Рис. 3.8 Схема распространения фронта пламени по камере сгорания: А - искра
При нормальном сгорании процесс проходит плавно с почти полным протеканием реакций окисления топлива и средней скоростью распространения пламени 10-60 м/с.
Основными нарушениями нормального сгорания в двигателе с воспламенением от искры являются: детонация, преждевременное и последующее воспламенение (калильное зажигание), воспламенение от сжатия при выключенном зажигании.
Детонация возникает при самовоспламенении части топливовоздушной смеси, до которой пламя от свечи доходит в последнюю очередь. Внешне детонация проявляется в возникновении звонких металлических стуков при работе двигателя на больших нагрузках. Скорость распространения пламени резко возрастает (почти в 100 раз) и достигает 1500-2500 м/с, возникает детонационное сгорание, характеризующееся неравномерным протеканием процесса, скачкообразным изменением скорости движения пламени и возникновением ударной волны (рис.3.9).
При этом реакции окисления проходят не полностью и в отработавших газах обнаруживаются продукты неполного сгорания топлива. Детонация приводит к потере мощности двигателя из-за неполноты сгорания и увеличения теплоотдачи стенкам цилиндра.

Рис. 3.9 Физическая картина детонационного горения в двигателе: а-а - положение фронта пламени; А - очаг самовоспламенения (детонации); Д1-ДЗ - мгновенные положения распространения зоны горения от очага А; 01-04 - ударные волны; 01'-04' - отраженные волны
При этом резко повышается температура головок цилиндра и охлаждающей жидкости, а в отработавших газах появляется дымление. Длительная работа с детонацией приводит к перегреву двигателя, вследствие чего может возникнуть преждевременное самовоспламенение рабочей смеси, а также механические повреждения отдельных деталей двигателя (рис. 3.10).

Рис. 3.10 Поршень, разрушенный детонацией
Прогар поршней и клапанов, пригорание поршневых колец, нарушение изоляции свечей, растрескивание вкладышей шатунных подшипников - все это может быть вызвано детонацией. Согласно перекисной теории (она в настоящее время общепризнанна), при детонации образуются первичные продукты окисления топлива - органические перекиси.
При присоединении молекулы кислорода к углеводородам по С-С связи образуется перекись (R-O-O-R), по С-Н связи - гидроперекись (R-O-O-H).

Перекиси, образующиеся в процессе предварительного окисления, накапливаясь в несгоревшей части рабочей смеси, распадаются (по достижении критической концентрации) со взрывом и выделением большого количества тепла. Тем самым активизируется вся смесь. Такой момент будет сопровождаться взрывным сгоранием смеси, т.е. детонацией. На рис. 3.11 представлена индикаторная диаграмма, снятая при работе двигателя с детонацией.

Рис. 3.11 Индикаторная диаграмма основных видов сгорания в карбюраторном двигателе: а - нормальное сгорание; б, в - калильное зажигание; г - детонационное сгорание; Р - давление; γ - угол поворота коленчатого вала
Для возникновения детонационной волны (детонационного очага) наиболее благоприятное место - часть бензиновоздушной смеси, которая находится в удаленных частях камеры сгорания. От очага детонации горение быстро распространяется, по всей части топливно-воздушной смеси и охватывает ее. Механизм распространения волны сгорания от детонационного очага отличен от механизма нормального горения. Фронт пламени в детонационной волне распространяется не путем теплопередачи, а за счет практически мгновенного выделения большого количества химической энергии в малом объеме. Это вызывает резкое местное повышение давления, в результате чего образуется ударная волна. Последняя, проходя со скоростью до 2500 м/с по оставшейся несгоревшей части смеси, вызывает ее сжатие, нагрев и воспламенение. Детонационная волна многократно отражается от стенок цилиндра, при этом возникает характерный металлический стук.
Различают следующие группы факторов, влияющих на возникновение и интенсивность детонации: зависящие от конструкции двигателя, эксплуатационные и связанные со свойствами топлива.
Конструктивными факторами, влияющими на процесс горения, являются степень сжатия, форма и размеры камеры сгорания, количество и расположение свечей, диаметр цилиндра, ход поршня, материал головки блока цилиндра двигателя.
Эксплуатационными факторами, влияющими на возникновение детонации, являются коэффициент избытка воздуха, число оборотов двигателя, угол опережения зажигания, температура охлаждающей жидкости, влажность воздуха, слой нагара в камере сгорания и др.
Фактором, связанным со свойствами топлива, является его детонационная стойкость. Причем при испарении топлива в процессе смесеобразования (вследствие различной детонационной стойкости отдельных фракций) детонация также может усилиться. Детонационная стойкость бензинов зависит от его углеводородного состава. Ароматические углеводороды обладают наибольшей детонационной стойкостью, меньшей детонационной стойкостью обладают изопарафиновые и олефиновые и самой низкой - парафиновые углеводороды.
Когда детонирует около 5% смеси, появляются внешние признаки детонации. Если детонирует 10-12% смеси, наблюдается детонация средней интенсивности. Очень сильная детонация характерна для 18-20% детонирующей смеси. Детонационное сгорание топлива отличается характерным резким металлическим стуком в цилиндрах, перегревом головок цилиндров и падением его мощности, периодически появляющимся черным дымом отработавших газов. Детонация приводит к прогоранию поршней, выпускных клапанов, к перегреву двигателя.
Одним из распространенных видов аномального сгорания является калильное зажигание.
Под калильным зажиганием понимают неуправляемое воспламенение рабочей смеси от раскаленного тела: тлеющего нагара или перегретых деталей.
Особенность зажигания тлеющим нагаром - его взаимосвязь с детонацией: при возникновении детонационных волн нагар со стенок камеры сгорания частично удаляется, устраняя тем самым калильное зажигание, так как исчезают "горячие точки" - причина самопроизвольного воспламенения рабочей смеси. Так как скорость сгорания смеси при этом увеличивается, детонация прекращается, однако после выброса частиц нагара она возобновляется вновь.
При калильном зажигании перегретыми деталями (центральные электроды, "юбочки" изоляторов свечей, реже выпускные клапаны) воспламенение не прекращается по мере его выгорания, а прогрессивно самоусиливается.
Для оценки склонности свечи к перегреву пользуются показателем, называемым калильным числом (КЧ). Его величину для данного двигателя подбирают так, чтобы, с одной стороны, исключить возможность калильного зажигания натеплонапряженных режимах (в этом случае необходимо низкое КЧ), а с другой стороны, обеспечить на минимальных режимах температуру края "юбочки" и центрального изолятора не ниже 397°С во избежание их закоксовывания (для этого необходимо достаточно высокое КЧ). Активность нагара с точки зрения калильного зажигания зависит от содержания в бензинах ароматических углеводородов и зольных присадок. Так как высокомолекулярные ароматические углеводороды образуют активный нагар, склонный к саморазогреванию (присутствие в нагаре продуктов сгорания тетраэтилсвинца (ТЭС) снижает температуру воспламенения нагаров с 550-600 до 200-300 °С), особенно трудно удовлетворить этим требованиям в теплонапряженных двигателях, работающих на топливах с высокими детонационными свойствами.
С калильным зажиганием борются, улучшая конструкцию камер сгорания и изменяя свойства образующегося нагара путем введения в топливо специальных присадок.
3.2 ДЕТОНАЦИОННАЯ СТОЙКОСТЬ
Одним из основных показателей качества автомобильных бензинов является их детонационная стойкость, от которой в наибольшей степени зависят надежность, повышение мощности, экономичность и продолжительность эксплуатации двигателя автомобиля.
Разработка методов оценки антидетонационных свойств бензинов началась в 1918–1919 гг. почти одновременно с изучением явления детонации в двигателях, когда Г. Рикардо создал двигатель с переменной степенью сжатия и предложил оценивать топливо значением степени сжатия, при котором