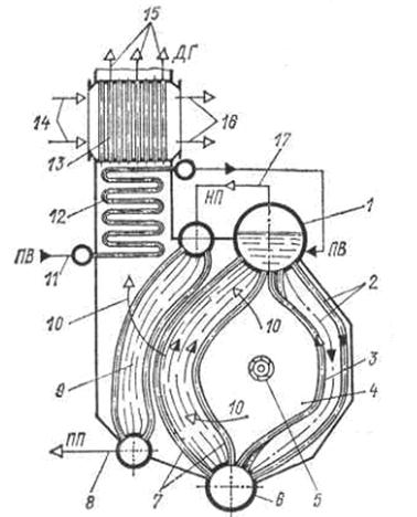
Главные котлы. Широкое распространение на транспортных судах в качестве главных нашли водотрубные котлы с естественной циркуляцией (Рис. 1.5). Корпус котла включает пароводяной коллектор 1, водяной коллектор 6, парообразующие трубы 3, 7, составляющие основную поверхность нагрева, и опуcкные не-
обогреваемые трубы 2, через которые подается вода в коллектор 6 и в парообразующие трубы 3, 7. В топку 4 котла через топочное устройство 5 подаются топливо и воздух, который предварительно
Рис. 1.5. Водотрубный котел с естественной циркуляцией
|
нагревается в воздухоподогревателе 13 котла. Стрелки 14 указывают подвод воздуха к воздухоподогревателю, а стрелки 16 – к топочному устройству 5. Дополнительные поверхности нагрева, образованные пучками труб пароперегревателя 9, водяного экономайзера 12 и воздухоподогревателя 13, последовательно размещены в газоходе котла. Они воспринимают теплоту от дымовых газов, которые, двигаясь по газоходе котла, постепенно охлаждаются. Дымовые газы температурой 150–200°С направляются в дымовую трубу (стрелки 15). Дополнительные поверхности нагрева позволяют повысить экономичность котла, полнее использовать теплоту, выделившуюся при сгорании топлива.
|
|
|
Принцип действия такого котла заключается в следующем. При факельном сжигании топлива образуются продукты сгорания (дымовые газы), имеющие высокую температуру. В топке передача теплоты парообразующим трубам осуществляется в основном тепловым излучением от высокотемпературного факела, а вне топки (в газоходе котла направление хода газов указано стрелками 10) – тепловой конвекцией от движущихся через основную и дополнительную поверхности нагрева дымовых газов. Охлажденные дымовые газы поступают в дымовую трубу (на рисунке не показана).
Питательная вода нагнетается питательным насосом по трубопроводу 11 в экономайзер, где подогревается до температуры на 20–30°С ниже температуры кипения. Оттуда она направляется в водяную часть коллектора 1, смешивается с котловой водой и по опускным трубам 2 движется к водяному коллектору 6, из которого поступает в парообразующие трубы 3, 7. Ряд труб 3, защищающих от облучения факелом опускные трубы 2, называется экраном. Первые ряды пучка 7 и экрана воспринимают теплоту излучения газов в топке, а поверхности труб 7, 9, 12, 13 – теплоту, передаваемую конвекцией от движущихся газов. Внутри труб 3 и 7 происходит процесс парообразования, появившаяся при этом пароводяная смесь поступает в коллектор 1. Образовавшийся в циркуляционном контуре пар, пройдя водяную часть коллектора 1, скапливается в его паровой зоне, откуда по перепускной трубе 17 направляется в верхний коллектор пароперегревателя 9, а вода, смешиваясь с питательной водой, вновь поступает по опускным трубам 2 к коллектору 6.
|
|
|
Вода и пароводяная смесь движутся по замкнутому контуру: пароводяной коллектор – опускные трубы – водяной коллектор – парообразующие трубы – пароводяной коллектор. Это движение происходит за счет разности веса воды и пароводяной смеси в трубах и называется естественной циркуляцией. Совокупность элементов котла, в которых осуществляется замкнутое движение воды и пароводяной смеси, называют контуром циркуляции. У котла, показанного на рис. 1.5, только один контур циркуляции. Однако котлы могут иметь несколько таких контуров.
В пароводяном коллекторе 1 циркуляционного контура котла размещаются сепарирующие устройства (на схеме не показаны), поэтому пар, направляемый в пароперегреватель, имеет степень сухости, близкую к единице. В пароперегревателе 9 пар подсушивается и перегревается. Перегретый пар через главный стопорный клапан (на схеме не показан) направляется к потребителям (стрелка 8).
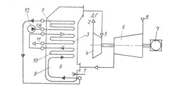
Значительно меньшие массу и габариты имеют прямоточные котлы (Рис. 1.6), движение рабочей среды в которых происходит за счет напора питательного насоса 12, подающего воду в экономайзер 1 котла. Подогретая питательная вода направляется в парообразующую поверхность нагрева, состоящую из труб 9, полностью экранирующих топку 8, и конвективного пучка 10. Почти сухой пар поступает в пароперегреватель 3, откуда перегретый пар через главный стопорный клапан направляется к потребителям (стрелка 11).
Прямоточные котлы могут обеспечивать большую производительность и высокие параметры пара. Они компактны, маневренны, легко вписываются в габариты котельного помещения, однако очень чувствительны к качеству питательной воды и ненадежны при работе на малых нагрузках.
Котлы, в которых горение топлива в топке происходит при давлении в 2,5–4 раза выше атмосферного, называются высоконапорными. Они могут быть как с естественной, так и с принудительной циркуляцией воды.
Для подачи воздуха в высоконапорный прямоточный котел служит турбонаддувочный агрегат. В состав ТНА входят компрессор 6, газовая турбина 4 и добавочный двигатель 7. Образовавшиеся в топке дымовые газы, омывая последовательно поверхности нагрева, расположенные в газоходе котла, охлаждаются до температуры 550–650°С и поступают (стрелка 5) в газовую турбину ТНА, здесь происходит их расширение и снижжение темпе-
ратуры до 150–250°С. Из турбины газ поступает в дымовую трубу (стрелка 2). Турбина приводит во вращение компрессор. Таким образом, работа газа в турбине расходуется на сжатие и нагрев воздуха в компрессоре.
Рис. 1.6. Прямоточный высоконапорный котел
|
При малой нагрузке котла мощность газовой турбины может оказаться недостаточной для сжатия воздуха в компрессоре и подачи его в топку. В этом случае применяется добавочный двигатель (обычно паровая турбина). Он не только восполняет нехватку мощности газовой турбины, но и служит источником энергии во время пуска котла из холодного состояния. Пар для этого двигателя поступает от другого котла или от береговой котельной установки.
Вспомогательные котлы. Из вспомогательных котлов отечественной постройки наибольшее распространение получили водотрубные котлы типов КВВА и КАВ. Они установлены на танкере «Великий Октябрь», сухогрузах «Капитан Кушнаренко», «Славянск» и других судах. Нормализованный ряд котлов типа КВВА включает котлы паропроизводительностью 0,28–3,35 кг/с [(1 ÷ 12)∙103 кг/ч] при давлении от 0,49 до 2,75 МПа.
На рис. 1.7 показана схема водотрубного котла КВВА 12/15 с естественной циркуляцией. Котел автоматизирован, имеет следующие параметры: D = 3,35 кг/с (12000 кг/ч),
– 1,47 МПа (15 кгс/см2),
= 80%.
|
|
|
Корпус котла состоит из пароводяного 1 и водяного 9 коллекторов, соединенных между собой подъемными парообразующими трубами экрана 6 и пучка 11 и опускными необогреваемыми трубами 5, расположенными за экраном. Топка котла 8 оборудована топочным устройством, состоящим из двух форсунок 7 и дежурной форсунки 13 (на рисунке показаны фурмы, в центре кото-
|
|
| Рис. 1.7. Вспомогательный водотрубный котел | Рис. 1.8. Компоновочная схема вспомогательного огнетрубного котла типа «Кохран» |
рых устанавливаются форсунки). Для наблюдения за процессом горения топлива имеются смотровые лючки 12. Для обдувки и мытья поверхностей нагрева установлены сажеобдувочные устройства 10. Кожух 14 котла выполнен с двойной обшивкой, охлаждаемой воздухом. В пароводяном коллекторе размещены питательная труба 4, нижний 3 и верхний 2 дырчатые щиты.
Аналогичную конструкцию имеют котлы типа КАВ. На сухогрузных теплоходах иностранной постройки наиболее многочисленной является группа огнетрубных и газоводотрубных котлов. Они имеют сходные компоновочные схемы: это цилиндрические вертикальные котлы со сферической топкой без хвостовых поверхностей нагрева. Обычно котлы имеют такие параметры: D = 0,163 ÷ 0,60 кг/с [(0,6 ÷ 2,5)∙103 кг/ч],
= 0,49 МПа (5 кгс/см2),
= 75 ÷ 79%. Их характерные особенности – высокое водосодер-жание и большая относительная масса.
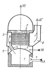
Во вспомогательном огнетрубном котле типа «Кохран» (Рис. 1.8) дымовые газы из топки 7 по патрубку 4 поступают в огневую камеру 2 и по дымогарным трубам 3 через коробку 6 направляются в дымовую трубу. Корпус 1 над топкой содержит перегородку 5, которая благодаря сферической форме не препятствует тепловым расширениям при нагревании и облегчает удаление отложений (шлама), оседающих на стенке перегородки 5.
Котел не очень чувствителен к качеству питательной воды, обладает высокой аккумулирующей способностью, надежен в эксплуатации.
Утилизационные котлы. В утилизационных котлах в качестве источника теплоты используются отходящие газы главных двигателей судовой энергетической установки: двигателей внутреннего сгорания или газовых турбин. Применение УК позволяет экономить топливо на 8–12%. Помимо утилизации теплоты отходящих газов УК обеспечивают глушение шума выпуска главных двигателей и искрогашение. Пар от УК расходуется в основном на судовые нужды.
|
|
|
С увеличением мощности главных двигателей на некоторых судах перешли к использованию энергетических установок, в которых УК производят пар для ходовых турбогенераторов или паровой турбины, работающей на винт судна. Например, на танкерах типа «Великий Октябрь» и нефтерудовозах типа «Борис Бутома», на которых мощность главного двигателя превышает 6,5 МВт,
УК генерирует пар, используемый для бытовых нужд и ходового турбогенератора судовой электростанции. На головном судне типа «Капитан Смирнов» УК снабжает паром турбину, которая через редуктор работает совместно с главным газотурбинным двигателем на винт судна.
Наиболее широкое распространение в отечественном флоте получили водотрубные УК с принудительной циркуляцией и с автономным сепаратором пара. В качестве примера рассмотрим принципиальную схему утилизационной котельной установки (Рис. 1.9), в которой использован УК с принудительной циркуляцией воды и пароводяной смеси. При движении судна он обеспечивает перегретым паром турбогенератор, а насыщенным паром – вспомогательные потребители.
Рис. 1.9. Утилизационная котельная установка с котлом КУП-700
|
Котельная установка включает собственно котел 2, автономный сепаратор 9, циркуляционный насос 4. Утилизационный котел состоит из экономайзера 8, двух секций парообразующих змеевиков 7 и 5 и пароперегревателя 3. Дымовые газы поступают от главного двигателя (стрелка 1), омывают поверхности нагрева, расположенные в корпусе котла, и уходят в дымовую трубу. Питательная вода поступает в сепаратор 9 (стрелка 10), оттуда забирается циркуляционным насосом 4 и направляется в экономайзер 8. Из экономайзера по перепускной трубе она поступает в нижнюю секцию 5 парообразующего пучка, которая соединена со второй секцией 7 трубой 6. Пароводяная смесь из секции 7 направляется в сепаратор 9. Насыщенный пар из сепаратора используется для бытовых нужд. Значительная часть производимого пара подается в пароперегреватель 3, где перегревается и направляется к ходовому турбогенератору судовой электростанции.
Для очистки поверхностей нагрева от сажи в котле предусмотрены сажеобдувочные устройства, а для слива воды, попавшей в газоход, – отверстия в нижней части каркаса котла. Полная паропроизводительность такого котла составляет 0,89 кг/с (3200 кг/ч), рабочее давление в сепараторе 0,98 МПа (10 кгс/см2), температура перегретого пара 270°С, температура газов перед котлом 320°С. Утилизационный котел оснащен системой трубопроводов и арматурой, которая позволяет отключать экономайзер, вторую секцию парообразующего пучка и пароперегреватель одновременно и раздельно.
За счет оребрения поверхностей нагрева со стороны газов можно значительно снизить массу и габариты этих котлов. С оребрением выполнены котлы КУП-3100 и КУП-95Р, а также котел типа «Грин Дисекон» (см. рис. 1.1, г), относительная удельная масса которых в несколько раз меньше по сравнению с гладкотрубными УК. Так, относительная удельная масса гладкотрубного УК (25,2 ÷ 11,1)∙103 кг∙с/кг, а УК с оребрением – (2,74 ÷ 5,52)∙103 кг∙с/кг.
Рис. 1.5. Водотрубный котел с естественной циркуляцией
Рис. 1.6. Прямоточный высоконапорный котел
Рис. 1.9. Утилизационная котельная установка с котлом КУП-700