Лабораторная работа № 1
СОДЕРЖАНИЕ
1.Назначение релейной защиты и основные требования, предъявляемые к ней.....................3
2. Измерительные трансформаторы тока и напряжения................................................................ 6
3. Максимальные токовые защиты.....................................................................................……….10
4. Направленные МТЗ...........................................................................................................................15
5. Токовые отсечки.................................................................................................................................19
6. Защиты от замыканий на землю.....................................................................................................23
7. Защиты на переменном оперативном токе..................................................................................31
8. Дифференциальные защиты...........................................................................................................35
9. Дистанционные защиты...................................................................................................................42
10.Блокировки от ложных срабатываний релейной защиты при качаниях............................50
II.Высокочастотные защиты линий...................................................................................................54
|
|
|
12.Устройства релейной защиты ЛЭП.............................................................................................59
13.Защиты синхронных генераторов и двигателей.......................................................................61
14.Основные защиты силовых трансформаторов..........................................................................70
15.Основные защиты блоков «генератор-трансформатор...........................................................77
16.3ащита шин станций и подстанций. УРОВ................................................................................80
17.Репе защиты, выполненные на интегральных микросхемах.................................................87
18.Расчет релейной защиты понижающих трансформаторов....................................................97
Библиографический список......................................................................................................
Основу диодов составляет двухслойная монокристаллическая полупроводниковая структура с электронно-дырочным переходом или контакт металл—полупроводник. Принцип действия диодов определяется свойством односторонней проводимости р—n -перехода.
Основным свойством электронно-дырочного перехода является свойство односторонней электропроводности. При прямом включении р—n -переход проводит ток под действием напряжения внешней электрической цепи, а при обратном не пропускает тока.
При прямом включении область р – типа подключена к положительному полюсу, а область n-типа к отрицательному. Так как силы внешнего электрического поля направлены встречено силам внутреннего поля объемных зарядов, то высота потенциального барьера уменьшается на величину напряжения, приложенного к р—n -переходу в прямом направлении (UF).
При длительном протекании прямого тока наступает установившееся состояние, которое можно рассматривать как динамическое равновесие. При прямом смещении в р- и n – областях накапливаются значительные неравновесные заряды электронов и дырок. Эти заряд определяют диффузионную емкость р- n- перехода, которая весьма значительна и является причиной инерционности при переключениях р- n- перехода на повышенных частотах.
|
|
|
Вольт-амперная характеристика р-n-перехода. Зависимость тока через электронно-дырочный переход от приложенного напряжения называется вольт-амперной характеристикой (ВАХ). Физические явления прямого и обратного переходов были рассмотрены выше. На рис. 1. приведена ВАХ идеализированного р-n- перехода.

Рис. 1. Вольт-амперная характеристика идеализированного р-n-перехода
Прямая и обратная ветвь имеют существенно различные масштабы напряжения и тока в прямом и обратных направлениях.
где I0 – обратный ток р-n-перехода
Положение кривой определяется температурой Т окружающей среды полупроводниковой структуры.
В реальных приборах ВАХ структуры с р-n-переходом имеет несколько отличий от идеальной ВАХ.
- при определенном значении обратного напряжения наступает резкое увеличение обратного тока, сопровождающее пробой р-n-перехода;
- обратный ток несколько больше теоретического значения I0 из-за наличия поверхностных токов утечки, дефектов в структуре проводника и др.;
прямое напряжение при определенном значении тока увеличивается из-за потерь напряжения в теле полупроводника и на контактных переходах.
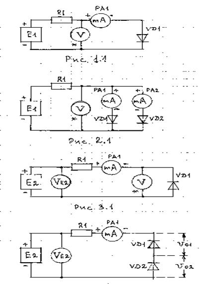
На лабораторных стендах, согласно схемам исследования, приведенным на рис. 1. были получены опытные данные по исследованию прямой и обратной ветви ВАХ двух различных диодов, а также обратной ветви ВАХ стабилитрона
| Прямая ветвь ВАХ | ||
| I, мА | U1, В | U2, В |
| 0,5 | 0,65 | |
| 0,7 | ||
| 1,25 | 1,2 | |
| 1,8 | 1,85 | |
| 2,9 | ||
| 4,21 | 4,4 | |
| 5,3 | 5,5 | |
| Обратная ветвь ВАХ | ||
| Uобр, В | IД1, А | IД2, А |
| 0,17 | 0,08 | |
| 0,25 | 0,13 | |
| 0,3 | 0,16 |
| Обратная ветвь стабилитрона | |||
| I, мА | U1, В | U2, В | Кн |
| 0,05 | 4,4 | ||
| 0,5 | 5,4 | 5,4 | |
| 2 1 | 7,5 | ||
| 5 3 | 10,5 | ||
| 20 10 | |||
| 20,5 |
В отчете по лабораторной работе выполнить:
- расчет динамического сопротивления стабилитрона
, где
- приращение напряжения,
- приращение тока, взятые по
последнему и предпоследнему значению из таблицы 2.
- расчет коэффициента нестабильности
, где
- среднее
значение напряжения при расчетных токах.
В выводах:
- обосновать различие ВАХ диодов Д1 и Д2 и неравномерное распределение токов при их параллельном соединении.
- обосновать различие ВАХ диодов Д1 и Д2 и неравномерное
распределение токов при их последовательном соединении.
- Обосновать характер обратной ветви ВАХ стабилитрона








