РАСЧЕТЫ И ВЫВОДЫ
ИССЛЕДОВАНИЕ ОДНООПЕРАЦИОННОГО ТИРИСТОРА
Тиристор - это полупроводниковый прибор, с двумя устойчивыми состояниями, имеющий три или более электронно-дырочных перехода, который может переключаться из закрытого состояния в открытое (отпирание) и наоборот (запирание). Время переключения состояний тиристора достаточно мало и лежит в пределах от единиц до нескольких сотен микросекунд. На основе многослойных полупроводников разработаны приборы, рассчитанные на токи до нескольких десятков тысяч ампер и напряжение до 5000 В. Основным материалом для изготовления полупроводниковой структуры тиристоров служит кремний.
Наибольшее распространение получили простейшие однооперационные тиристоры, имеющие три электрода: анод, катод и управляющий электрод. На рис. 1 приведены схема однооперационного тиристора, график концентрации примесей, условное обозначение и схема кремниевой структуры.
Рис. 1 Схема однооперационного тиристора (а), график концентрации примесей (б), условное обозначение (в) и схема кремниевой структуры (г).
|
|
|
В однооперационном (невыключаемом, незапираемом) тиристоре осуществима только одна операция – отпирание тиристора. Запирание такого тиристора достигается по цепи анода. В исходном состоянии структура р-n-р-n не проводит тока. Прямое смещение от управляющего электрода переводит структуру в открытое состояние. Обратное переключение в закрытое состояние возможно только после отключения тока анода и тока управляющего электрода.
На рис. 2 приведена статическая ВАХ однооперационного тиристора.

Рис. 2. Статическая ВАХ однооперационного тиристора.
Снижение прямого тока открытого тиристора при токе на управляющем электроде равном нулю, приводит к прекращению регенерации, и тиристор запирается, перейдя в закрытое состояние. Таким образом, для перевода тиристора из открытого состояния в закрытое, необходимо выполнить три условия:
- уменьшить ток управления до нуля
- снизить анодный ток до значения, меньшего тока удержания
- поддерживать тиристор в этом состоянии в течение времени выключения, необходимого для рекомбинации накопившихся зарядов
Таким образом, статическая ВАХ (рис. 2) содержит четыре характерных участка:
1. Обратная ветвь ВАХ, аналогичная диодной обратной цепи
2. Прямая ветвь ВАХ в закрытом состоянии тиристора (блокирование прямого напряжения)
3. Неустойчивая часть переключения из закрытого состояния в открытое
4. Прямая ветвь ВАХ в открытом состоянии тиристора.
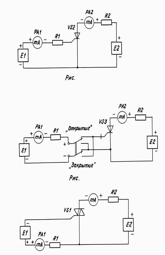
На лабораторных стендах согласно схемам исследования, приведенным на рис. 3. были получены опытные данные, приведенные в таблице 1.
|
|
|
Таблица 1.
Напряжение переключения тиристора в открытое состояние при различных токах управляющего электрода
| Iу, мА | Uп, В |
| 21,5 | |
| 1,5 | 16,2 |
Таблица 2.
Величины токов, подаваемых на управляющей электрод при включении и отключении тиристора
| U, В | Iувкл, мА | Iа, мА | Iувыкл, мА | Кз |
В отчете по лабораторной работе требуется:
- определить коэффициент запирания тиристора Кз= Iа/ Iувыкл
- построить зависимости Uп=f(Iу) и Кз=f(Iа)
- сделать выводы о характере полученных кривых








