Счетчиком называют устройство, предназначенное для подсчета числа импульсов, поданных на вход. Кроме подсчёта счётчики выполняют функцию делителей частоты.
Подсчет числа импульсов является наиболее распространенной операцией в устройствах цифровой обработки информации. Повышенный интерес к таким устройствам объясняется их высокой точностью, возможностью применения регистрирующих приборов с непосредственным цифровым представлением результата, а также возможностью осуществления связи с ЭВМ.
В устройствах цифровой обработки информации измеряемый параметр (угол поворота, перемещение, скорость, частота, время, температура и т. д.) преобразуется в импульсы напряжения, число которых в соответствующем масштабе характеризует значение данного параметра. Эти импульсы подсчитываются счетчиками импульсов и выражаются в виде цифр
Основными показателями счетчиков являются коэффициент счета К и быстродействие. Коэффициент счета определяет число импульсов, которое может быть сосчитано счетчиком.
|
|
|
Основой любого счетчика является линейка из нескольких триггеров. Между триггерами могут быть введены дополнительные обратные связи, позволяющие получить любой коэффициент счёта, а не только равный 2n. Например, счетчик, состоящий из четырех триггеров, может иметь максимальный коэффициент счёта 24=16. Для четырехтриггерного счетчика минимальный выходной код - 0000, максимальный -1111, а при коэффициенте счёта Кс = 10 выходной счет останавливается при коде 1001 = 9.
Быстродействие счетчика характеризуется максимальной частотой fсч следования счетных импульсов и связанным с ней временем fуст установки счетчика. Величина fуст определяет максимальное время протекания переходных процессов во всех разрядах счетчика с поступлением на вход очередного счетного импульса.
Счет числа поступающих импульсов производится с использованием двоичной системы счисления.
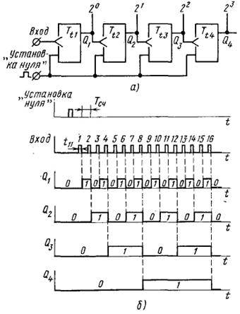
Рисунок 66 - Схема двоичного счетчика (а) и его временные диаграммы (б)
Простейший многоразрядный двоичный счётчик с коэффициентом счёта (деления) 2n можно получить, соединив последовательно n триггеров Т-типа (рис. 68). Счетные импульсы подаются на счетный вход первого триггера. Счетные входы последующих триггеров связаны непосредственно с прямыми выходами предыдущих триггеров: вход второго триггера соединен с выходом первого триггера, вход третьего - с выходом второго и т. д.
Принцип действия двоичного счетчика с непосредственной связью рассмотрим на примере четырехразрядного счетчика, показанного на рис. 66, а. Работу схемы иллюстрируют временные диаграммы, приведенные на рис. 66, б и таблица 7 состояний счётчика.
|
|
|
Перед поступлением счетных импульсов все разряды счетчика устанавливаются в состояние «0» (Q1 = Q2 = Q3 = Q4 = 0) подачей импульса на вход «Установка нуля». При поступлении первого счетного импульса первый разряд подготавливается к переключению в противоположное состояние и после окончания действия входного импульса переходит в состояние Q = 1. В счетчик записывается число 1. Уровень 1 с выхода Q1 воздействует на счетный вход второго разряда, подготавливая его к переключению.
Таблица 7 - Таблица состояний 4-х разрядного счётчика

По окончании второго счетного импульса первый разряд счетчика переходит в состояние «0», а второй разряд переключается в состояние «1». В счетчике записывается число 2 с кодом 0010.
Подобным образом осуществляется работа схемы с приходом последующих импульсов. Первый разряд счетчика, как видно из рис. 66, б, переключается с приходом каждого входного импульса, второй разряд — каждого второго, третий - каждого четвертого, а четвертый разряд срабатывает на каждый восьмой счетный импульс.
По окончании 15-го импульса все разряды счетчика устанавливаются в состояние «1» (рис. 66, б, табл. 7), а 16-й импульс переключает первый разряд счетчика в состояние «0». Уровень Q1 = 0 переводит второй разряд счетчика в состояние Q2 = 0, что, в свою очередь, вызывает Q3 = 0, а затем и Q4 = 0, т. е. счетчик переходит в исходное состояние.
В соответствии с рис. 66, б и табл. 7 установка в исходное состояние «0» двух последовательно включенных триггеров (Т1 и Т2) осуществляется четвертым счетным импульсом, трех триггеров (Т1 - Т3) - восьмым и четырех триггеров (Т1 - Т4) - 16-м счетным импульсом. Из этого следует, что коэффициент счета двухразрядного, трехразрядного и четырехразрядного двоичных счетчиков равен соответственно 4, 8 и 16. Коэффициент счета двоичного счетчика находят из соотношения Ксч = 2N, где N - число разрядов счетчика.
В процессе работы двоичного счетчика частота следования импульсов на выходе каждого последующего триггера уменьшается вдвое по сравнению с частотой его входных импульсов (рис. 66, б). Это свойство схемы используют для построения делителей частоты.
Используется множество различных вариантов счетчиков: асинхронные и синхронные; двоичные и десятичные; однонаправленные (с увеличением счета) и двунаправленные (с увеличением или уменьшением счета), называемые реверсивными (рис. 67), с постоянным или переключаемым коэффициентом деления (коэффициентом счёта).
В асинхронном счетчике каждый последующий триггер получает тактовый импульс от предыдущего триггера.
В синхронном счетчике все триггеры получают тактовый импульс одновременно. В такой счетчик можно осуществить синхронную (с тактовым импульсом) параллельную (в каждый триггер) загрузку исходных данных. Дополнительно введенные логические элементы управления позволяют сделать процесс счета реверсивным, т. е. с приходом каждого тактового импульса содержимое счетчика можно либо увеличивать, либо уменьшать на единицу.
Рисунок 67 - Двоичные суммирующий (а) и вычитающий (в)
диаграммы их работы (б) и (г) соответственно