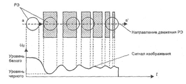
На выходе преобразователя свет-сигнал формируется видеосигнал. Этот сигнал является функцией времени и пропорционален яркости передаваемых элементов изображения. На рис. 1.7 в качестве примера приведен фрагмент видеосигнала за время равное длительности активной части строки, получаемый при развертке изображения в виде вертикальных черно-белых полос. Анализируя видеосигнал на рис. 1.7 можно сделать следующие выводы:
– сигнал имеет импульсный характер;
– сигнал однополярный (яркость не может быть отрицательной).
Из этого рисунка следует: при передаче черных полос величина сигнала равна уровню черного; при передаче белых полос – уровню белого.
Форма видеосигнала, показанного на рис. 1.7, получена в предположении, что РЭ обладает точечной апертурой (поперечным сечением РЭ).
Однако апертура реальных РЭ имеет конечные размеры, что приводит к размытию крутых фронтов видеосигнала и уменьшению размаха этого сигнала от мелких деталей (деталей, размеры которых соизмеримы с размерами РЭ, рис. 1.8).
|
|
|

Рис. 1.7. Изображение и видеосигнал от него при развертке строки по линии аа′

Рис. 1.8. Изображение и видеосигнал от него при конечных размерах РЭ
Это объясняется тем, что мгновенное значение видеосигнала пропорционально средней яркости элементов изображения, находящихся внутри апертуры РЭ. При образовании сигнала от мелких чередующихся деталей его форма становится близкой к синусоидальной. При дальнейшем уменьшении размеров деталей размах сигнала от них становится настолько малым, что изображение таких деталей не может быть передано ТВ-системой.
Величина видеосигнала измеряется его размахом в вольтах от пикового уровня положительных импульсов до пикового уровня отрицательных импульсов и называется «от пика до пика». Поскольку пиковый уровень одной полярности соответствует передаче самого белого в изображении, а другой полярности – самого черного, размах сигнала обозначается еще термином «от белого до чёрного».
Во время обратного хода, когда луч возвращается в исходное положение, он не должен оставлять след на экране. Для этого во время обратного хода луча в видеосигнал вводятся специальные импульсы, называемые гасящими, которые, воздействуя на управляющий электрод трубки, запирают луч. Гасящие импульсы несколько превышают уровень черного в видеосигнале, и поэтому иногда говорят, что их вершины лежат в области «чернее чёрного».
Гасящие импульсы следуют после передачи, как каждой строки, так и кадра и называются строчными и кадровыми гасящими импульсами. Длительность импульсов определяется параметрами телевизионного стандарта.
|
|
|
Во время прохождения гасящего импульса никакой информации о содержании изображения не передается. Поэтому время их передачи используется для передачи импульсов, которые синхронизируют работу генераторов разверток передающего и приемного устройств, а в некоторых случаях и для других целей. Эти импульсы называются синхронизирующими. Их размах превышает уровень гасящих импульсов, и поэтому они на воспроизводимом изображении не видны, т.к. вызывают еще большее «запирание» приемной преобразователя свет - сигнал. Длительность синхроимпульса меньше длительности гасящих и определяется параметрами телевизионного стандарта.
Сигнал, состоящий из видео, гасящих и синхронизирующих импульсов, называется полным телевизионным сигналом (рисунок 1.7 а). Таким образом, телевизионный сигнал может быть характеризован уровнями и длительностями синхронизирующих и гасящих импульсов, частотой повторения строк и кадров, а также уровнями и частотным спектром видеосигнала.

Рис. 1.7. Форма видеосигнала за периоды строки (а) и поля (б)
Сигнал гашения. Сигнал гашения в ПТВС предназначен для запирания лучей приемных трубок – кинескопов – во время обратных ходов разверток. Он состоит из совокупности П-образных гасящих импульсов частоты строк длительностью 12 мкс (19% от длительности строки T z = 64 мкс, рис. 1.7, а) и П-образных гасящих импульсов частоты полей длительностью 25 T z =1600 мкс (8% от длительности поля T z = 20 мс, рис. 1.7, б). Из 625 строк ТВ растра 50 не используются для передачи изображения и затрачиваются на два обратных хода кадровой развертки.
Полярность и размах сигнала гашения выбираются такими, чтобы вершины П-образных импульсов находились на уровне гашения – на (0...5)% ниже уровня черного ПТВС (рис. 1.7). В случае отсутствия или малого размаха кадровых гасящих импульсов, недостаточных для надежного запирания луча приемной трубки, на изображении появляются характерные белые полоски – след от луча кинескопа во время обратного хода по кадру. В случае недостаточного размаха строчных гасящих импульсов след от луча при обратном ходе по строке создает паразитную засветку. Это приводит к уменьшению контраста ТВ изображения.
Сигнал синхронизации. Сигнал синхронизации предназначен для жесткой синхронизации разверток ТВ приемника с соответствующими развертками передающей камеры ТВ центра.
Сигнал синхронизации состоит из совокупности П-образных строчных синхроимпульсов длительностью 4,7 мкс и кадровых длительностью 2,5 T z = 160 мкс (рис. 1.7). Для идентичности кадровых синхроимпульсов, следующих в начале четных и нечетных полей, в них сделаны пять импульсов врезок с двойной строчной частотой длительностью 4,7 мкс каждый. Для одинаковых условий выделения синхроимпульсов четных и нечетных полей в приемнике перед этими импульсами и после них передаются две последовательности из пяти уравнивающих импульсов с двойной строчной частотой и длительностью 2,35 мкс каждый.
Сигналы синхронизации передаются во время следования соответствующих гасящих импульсов в области уровней ниже уровня гашения. Размах сигнала синхронизации устанавливается равным 30% от размаха ПТВС (рис. 1.7).