Фоточувствительные поверхности, использующие явление внешнего фотоэффекта, обладают малой чувствительностью. Существенно увеличить чувствительность трубок можно, используя фотомишени, построенные на явлении внутреннего фотоэффекта - фотопроводимости. Кроме того, мишень из фотопроводящих слоев, являясь фоточувствительным элементом, одновременно накапливает световую энергию, что значительно упрощает конструкцию трубки, которые были разработаны в 1950 г.
Видикон отличается простотой конструкции, небольшими размерами и массой и является высоконадежной и дешевой передающей трубкой.
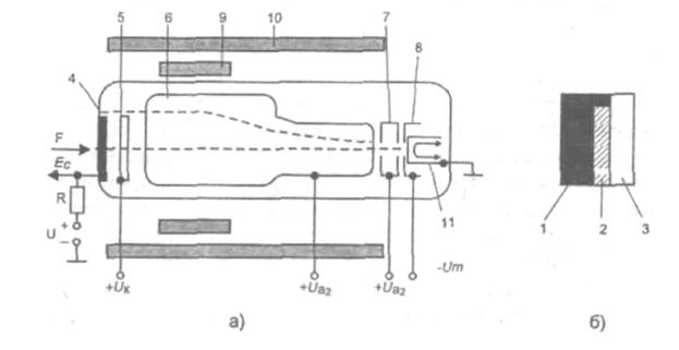
Конструкция видикона представлена на рис.3.4:

Рис. 3.4. Видикон: а – устройство преобразователя; б – состав фотомишени; 1 – планшайба; 2 – сигнальная пластина; 3 – фотопроводящий слой; 4 фотомишень; 5 – коллектор; 6 – второй анод; 7 – первый анод; 8 – управляющий электрод; 9 – отклоняющая катушка;
10 – фокусирующая катушка; 11 – термокатод
Трубки типа видикон содержат 2 основных узла: фотомишень и электронную пушку. Фотомишень состоит из фотослоя и сигнальной пластины,которая представляет собой проводящий слой золота, платины или окиси олова, нанесенную на внутреннюю поверхность планшайбы и имеющую прозрачность более 90% и поверхностное сопротивление 200 Ом * см. На СП нанесен фотослой толщиной 1…3 мкм из соединения сурьмы,мышьяка, серы. Материал, из которого изготовлена мишень и его толщина определяют чувствительность, спектральную характеристику и инерционность видикона. Электронно-оптическая система содержит электронную пушку и мелкоструктурную выравнивающую сетку (ВС) помещенную перед фотомишенью. Пушка состоит из подогреваемого катода, управляющего электрода (УЭ), первого (А1) и второго (А2) анодов. Второй анод создает эквипотенциальную область, в которой происходит фокусировка и отклонение развертывающего луча. Потенциал выравнивающей сетки в 1,5-2 раза превосходит напряжение второго анода, что обеспечивает подход электронов ко всей поверхности фотомишени под прямым углом. Это обеспечивает равномерную фокусировку луча, и одинаковый исходный потенциал на всей поверхности мишени, что является одним из условий получения равномерного сигнала по всему полю изображения. Фокусировка, отклонение и коррекция траектории электронного луча осуществляетсявнешней магнитной системой, состоящей из длинной фокусирующей катушки ФК, отклоняющих ОК и корректирующих КК катушек.

Рис. 3.5. Эквивалентная схема мишени
На рис. 3.5 представлена эквивалентная схема фотомишени видикона, которая поясняет процесс образования видеосигнала. На этой схеме каждый элемент фотомишени представлен емкостью конденсатора Сэ, образованного элементами сигнальной пластины и правой стороны мишени, который зашунтирован резистором Rэ, изменяющий свое сопротивление в зависимости от интенсивности освещенности этого участка. При отсутствии освещения фотослой имеет высокое – «темновое» сопротивление. При освещении мишени за счет поглощения энергии излучения внутри фотослоя возникают носители тока. При проекции изображения на мишень, сопротивления Rэ оказываются различными. Возникает рельеф сопротивлений. При коммутации пучком медленных электронов потенциал правой стороны мишени устанавливается равным потенциалу катода = 0 (заземлен). Тогда под действием тока луча емкости заряжаются до потенциала сигнальной пластины. Между двумя коммутациями (период кадра) происходит разряд емкостей через элементарные сопротивления, а так как эти сопротивления разные (чем выше освещенность, тем меньше сопротивление), ток разряда будет тоже изменяться (меньше сопротивление – больше ток), и за это время оставшийся заряд на емкостях будет разный (больший ток – сильнее разрядиться емкость – меньше потенциал останется). Таким образом, рельеф сопротивлений преобразуется в потенциальный рельеф. Сигнал изображения образуется при последовательном прохождении участков мишени электронным лучом, выравнивающим рельеф, при этом на неосвещенных участках ток будет почти равен 0, т.к. здесь сопротивление было большим, значит, разряда почти не произошло, и от луча электроны отбираться не будут. А на ярких участках, где произошел почти полный разряд, луч потеряет большое количество электронов, т.е. ток заряда будет большим.
Достоинства видикона:
- простота конструкции и малые размеры;
- относится высокая чувствительность;
- способность к передаче информации о постоянной составляющей;
- отсутствие искажений сигнала изображения, связанных с эффектом перераспределения электронов;
- низкая стоимость при высокой надежности трубки.
Недостатком видикона является его инерционность, которая проявляется в виде тянущегося следа за движущимися объектами. Различают 2 составляющих инерционности: фотоэлектрическая, которая обусловлена физическими процессами в фотомишени и зависит от материала, количества примеси, технологии изготовления и уровня освещенности; и коммутационная – из-за недостаточного значения тока электронного луча, в результате чего потенциальный рельеф на мишени не успевает выравниваться за период развертки. Инерционность уменьшить можно только за счет уменьшения емкости, т.к. увеличивать ток нельзя без потери разрешающей способности или при увеличении освещенности мишени.
Для устранения недостатка видикона – его инерционности – используют другие материалы мишени: трубки плюмбикон, кремникон и др.
Плюмбикон – название трубки с фотодиодной мишенью из окиси свинца фирмы «Филипс», Нидерланды. Российский аналог называется – глетикон.
Конструкция плюмбикона аналогична конструкции видикона ( рис.3.4), отличие заключается в структуре фотомишени, которая представлена на рис.3.6.
Мишень плюмбикона состоит из:

Рис.3.6. Конструкция фотомишени плюмбикона
1. Противоореольный фильтр.
2. Стеклянная планшайба.
3. Сигнальная пластина – прозрачный слой чистой окиси свинца.
4. Прозрачный слой полупроводника n типа
5. Тонкий слой химически чистой окиси свинца, обладающий собственной проводимостью - i проводимости.
6. Прозрачный слой полупроводника p типа c большей проводимостью, чем слой 5.
Сигнальная пластина и слой n прозрачны. Слой i с выполнен из кристаллов пластинчатой формы с размерами 0.1х3х0.05 мкм, ориентированных параллельно направлению света. Такая структура мишени позволяет увеличить скорость дрейфа и уменьшить рекомбинацию носителей. Это позволяет увеличить толщину мишени не увеличивая фотоэлектрической инерционности, что позволяет уменьшить емкость и увеличить ее чувствительность за счет более полного поглощения света.
Из-за большой ширины запрещенной зоны i скорость тепловой генерации носителей тока мала, что уменьшает темновой ток и увеличивает темновое R мишени, а в момент коммутации p-i-n переход смещается в обратном направлении, что дополнительно увеличивает Rэт.
Повышенное диффузное рассеяние света вызывает образование ореолов и бликов вокруг ярких деталей, поэтому на плюмбикон устанавливается противоореольный стеклянный диск толщиной около 6 мм.
Световая характеристика плюмбикона линейна в широком диапазоне освещенности, а малый разброс показателя нелинейности 0,95±0.05 является большим достоинством плюмбикона при работе в многотрубочных камерах ЦТВ.
При площади кадра 12.8х17 мм² ПЛЮМБИКОН, обеспечивает высококачественное изображение с разрешением по полю 600 линий и отношением сигнал-шум 200/1 при чувствительности порядка 1 лк, которая в отличие от ВИДИКОНА не зависит от U на сигнальной пластине, поэтому для регулировки чувствительности меняют Кус ВУ.
Существенное преимущество плюмбикона перед видиконом является его малая инерционность (остаточный сигнал спустя кадр £5%). Для большего снижения инерционности при передаче движущихся объектов с низким уровнем освещенности применяется дополнительная подсветка мишени.






